TOP
|
特許
|
意匠
|
商標
特許ウォッチ
Twitter
他の特許を見る
10個以上の画像は省略されています。
公開番号
2025165213
公報種別
公開特許公報(A)
公開日
2025-11-04
出願番号
2024069182
出願日
2024-04-22
発明の名称
地図情報生成方法及び地図情報生成装置
出願人
日産自動車株式会社
代理人
個人
,
個人
,
個人
主分類
G08G
1/00 20060101AFI20251027BHJP(信号)
要約
【課題】センサを搭載した自車両で走行して収集した情報に基づいて地図情報を生成する際に、車線毎の走路を示す地図情報を生成するために自車両を走行すべき領域を特定する。
【解決手段】地図情報生成方法では、地図情報生成方法では、自車両に搭載したセンサによって自車両の自己位置と自車両の周辺環境とを検出し(S1、S2)、検出した自己位置の情報と周辺環境の情報とを蓄積して、道路上の車線毎の走路を示す地図情報(S4)を生成し、自己位置の情報に基づいて自車両が走行した走行軌跡を検出し(S3)、周辺環境の情報に基づいて道路端を検出し(S10)、道路の延伸方向の所定距離の区間毎に、地図情報のために十分な走行軌跡と道路端とが検出されたか否かの指標である十分性を評価し(S11)、十分性の評価結果に基づいて自車両が走行すべき走行領域を特定する(S12)。
【選択図】図10
特許請求の範囲
【請求項1】
自車両に搭載したセンサによって前記自車両の自己位置と前記自車両の周辺環境とを検出し、
検出した前記自己位置の情報と前記周辺環境の情報とを蓄積して、道路上の車線毎の走路を示す地図情報を生成し、
前記自己位置の情報に基づいて前記自車両が走行した走行軌跡を検出し、
前記周辺環境の情報に基づいて道路端を検出し、
前記道路の延伸方向の所定距離の区間毎に、前記地図情報のために十分な前記走行軌跡と前記道路端とが検出されたか否かの指標である十分性を評価し、
前記十分性の評価結果に基づいて前記自車両が走行すべき走行領域を特定する、
ことを特徴とする地図情報生成方法。
続きを表示(約 960 文字)
【請求項2】
前記所定距離は、破線からなる車線境界線の1つの線分部分の長さと1つの間隔部分の長さの和に基づいて設定されることを特徴とする請求項1に記載の地図情報生成方法。
【請求項3】
前記道路端は、道路に沿って延在する立体物であることを特徴とする請求項1に記載の地図情報生成方法。
【請求項4】
前記道路端は、中央左折線の境界線であることを特徴とする請求項1に記載の地図情報生成方法。
【請求項5】
前記道路端は、実線からなる道路標示であることを特徴とする請求項1に記載の地図情報生成方法。
【請求項6】
前記実線の外側かつ前記実線から道路幅方向の1車線幅相当以上の範囲に亘って他の実線からなる道路標示が検出されない場合、または前記実線の外側かつ前記実線から道路幅方向の1車線幅相当の範囲内に立体物が検出された場合に、前記実線を前記道路端として検出することを特徴とする請求項5に記載の地図情報生成方法。
【請求項7】
前記実線の外側かつ前記実線から道路幅方向の1車線幅相当の範囲内に対向車両がされた場合に、前記実線を前記道路端として検出することを特徴とする請求項5に記載の地図情報生成方法。
【請求項8】
前記実線の外側かつ前記実線から道路幅方向の1車線幅相当の範囲内に、前記自車両の進行方向と反対向きに配向された道路標示が検出された場合に、前記実線を前記道路端として検出することを特徴とする請求項5に記載の地図情報生成方法。
【請求項9】
左右両側の前記道路端が検出されている区間において、左右の前記道路端の間の範囲全体に亘って、検出された前記走行軌跡が1車線幅相当以下の間隔で分布している場合に、前記地図情報のために前記走行軌跡が十分検出されたと判定することを特徴とする請求項1に記載の地図情報生成方法。
【請求項10】
検出された前記走行軌跡のうち隣接する走行軌跡が1車線幅相当以上の離間している場合に、前記隣接する走行軌跡間の領域を前記自車両が未だに走行していない未走行領域として特定することを特徴とする請求項1に記載の地図情報生成方法。
(【請求項11】以降は省略されています)
発明の詳細な説明
【技術分野】
【0001】
本発明は、地図情報生成方法及び地図情報生成装置に関する。
続きを表示(約 1,900 文字)
【背景技術】
【0002】
特許文献1には、センサが搭載された車両を走行させて収集した情報に基づいて高精度地図を生成する技術が記載されている。この技術では、運転支援を実施する経路に含まれる区間毎の学習進度を比較し、学習進度が早期に増加するような推奨経路をユーザに提示する。
【先行技術文献】
【特許文献】
【0003】
特開2021-189871号公報
【発明の概要】
【発明が解決しようとする課題】
【0004】
特許文献1に記載の技術では、道路を走行した回数に応じて学習進度を決定しているため、複数の車線が存在する道路において未だ走行していない車線を判断できない。このため、車線毎の走路を示す地図情報を生成する際に、道路上のどの領域を自車両が走行して情報を収集すべきか特定できない。
本発明は、センサが搭載された自車両で走行して収集した情報に基づいて地図情報を生成する際に、車線毎の走路を示す地図情報を生成するために自車両を走行すべき領域を特定することを目的とする。
【課題を解決するための手段】
【0005】
本発明の一態様による地図情報生成方法では、自車両に搭載したセンサによって自車両の自己位置と自車両の周辺環境とを検出し、検出した自己位置の情報と周辺環境の情報とを蓄積して、道路上の車線毎の走路を示す地図情報を生成し、自己位置の情報に基づいて自車両が走行した走行軌跡を検出し、周辺環境の情報に基づいて道路端を検出し、道路の延伸方向の所定距離の区間毎に、地図情報のために十分な走行軌跡と道路端とが検出されたか否かの指標である十分性を評価し、十分性の評価結果に基づいて自車両が走行すべき走行領域を特定する。
【発明の効果】
【0006】
本発明によれば、センサを搭載した自車両で走行して収集した情報に基づいて地図情報を生成する際に、車線毎の走路を示す地図情報を生成するために自車両を走行すべき領域を特定できる。
【図面の簡単な説明】
【0007】
実施形態の地図情報生成装置の一例の概略構成図である。
コントローラの機能構成の一例のブロック図である。
地図情報の一例の模式図である。
学習地図情報の一例の模式図である。
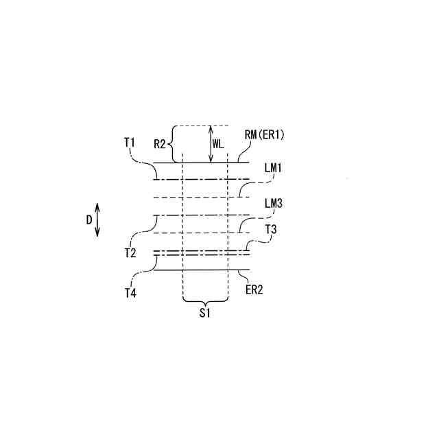
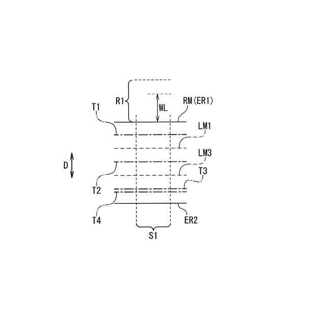
道路端の判定の一例を説明する模式図である。
道路端の判定の他の一例を説明する模式図である。
十分性の評価の一例を説明する模式図である。
乗員に提示される推奨領域の一例の模式図である。
実施形態の地図情報生成方法の一例の全体フローチャートである。
推奨領域提示処理の一例のフローチャートである。
【発明を実施するための形態】
【0008】
以下、本発明の実施形態について、図面を参照しつつ説明する。なお、各図面は模式的なものであって、現実のものとは異なる場合がある。また、以下に示す本発明の実施形態は、本発明の技術的思想を具体化するための装置や方法を例示するものであって、本発明の技術的思想は、構成部品の構造、配置等を下記のものに特定するものではない。本発明の技術的思想は、特許請求の範囲に記載された請求項が規定する技術的範囲内において、種々の変更を加えることができる。
【0009】
(構成)
図1は、実施形態の地図情報生成装置の一例の概略構成図である。自車両1は、自車両1に搭載されたセンサで収集した情報に基づいて地図情報を生成する地図情報生成装置10を備える。地図情報生成装置10は、物体センサ11と、測位装置12と、ヒューマンマシンインタフェース(HMI:Human Machine Interface)13と、コントローラ14を備える。
【0010】
物体センサ11は、自車両1の周辺の物体を検出するセンサである。物体センサ11は、自車両1の周辺に存在する物体と自車両1との相対位置、自車両1と物体との距離、物体が存在する方向などの自車両1の周辺環境を検出する。物体センサ11は、例えば自車両1の周辺環境を撮影するカメラを含んでよい。また例えば自車両1は、レーザレンジファインダ(LRF)やレーダ、LiDAR(Light Detection and Ranging)のレーザレーダなどの測距装置や、自車両1の周辺の障害物を検出するソナーセンサを含んでもよい。自車両1は、検出した自車両1の周辺環境の情報である周辺環境情報をコントローラ14へ出力する。
(【0011】以降は省略されています)
この特許をJ-PlatPat(特許庁公式サイト)で参照する
関連特許
日産自動車株式会社
二次電池
1か月前
日産自動車株式会社
吸気装置
3日前
日産自動車株式会社
二次電池
1か月前
日産自動車株式会社
ステータ
1か月前
日産自動車株式会社
伝動部材
1か月前
日産自動車株式会社
内燃機関
1か月前
日産自動車株式会社
電動車両
25日前
日産自動車株式会社
電子機器
9日前
日産自動車株式会社
内燃機関
22日前
日産自動車株式会社
内燃機関
1か月前
日産自動車株式会社
保持機構
1か月前
日産自動車株式会社
保持機構
1か月前
日産自動車株式会社
積層型電池
1か月前
日産自動車株式会社
面圧付与機構
1か月前
日産自動車株式会社
面圧付与機構
1か月前
日産自動車株式会社
電池モジュール
1か月前
日産自動車株式会社
ロータシャフト
17日前
日産自動車株式会社
電池モジュール
23日前
日産自動車株式会社
ロータシャフト
17日前
日産自動車株式会社
電池モジュール
1日前
日産自動車株式会社
車両用排気部構造
22日前
日産自動車株式会社
リチウム二次電池
1か月前
日産自動車株式会社
リチウム二次電池
22日前
日産自動車株式会社
塗装方法及び自動車
24日前
日産自動車株式会社
エアレスタイヤ構造
9日前
日産自動車株式会社
全固体電池システム
1日前
日産自動車株式会社
ピックアップトラック
3日前
日産自動車株式会社
支援方法及び支援装置
3日前
日産自動車株式会社
パワー半導体モジュール
1日前
日産自動車株式会社
エンジンのアンダカバー
1か月前
日産自動車株式会社
ギヤ装置のブリーザ構造
1か月前
株式会社ニフコ
締結構造
1か月前
日産自動車株式会社
ターボ過給機付き内燃機関
1か月前
日産自動車株式会社
車両用荷室における排熱構造
1か月前
日産自動車株式会社
相乗り可否判定方法及び装置
1か月前
日産自動車株式会社
車両乗り合わせ方法及び装置
2日前
続きを見る
他の特許を見る