TOP
|
特許
|
意匠
|
商標
特許ウォッチ
Twitter
他の特許を見る
10個以上の画像は省略されています。
公開番号
2025162241
公報種別
公開特許公報(A)
公開日
2025-10-27
出願番号
2024065387
出願日
2024-04-15
発明の名称
二次電池
出願人
日産自動車株式会社
代理人
弁理士法人樹之下知的財産事務所
主分類
H01M
10/654 20140101AFI20251020BHJP(基本的電気素子)
要約
【課題】信頼性の高い二次電池を提供する。
【解決手段】二次電池は、集電体を含む発電要素と、集電体に溶接された電極タブ3と、外周縁同士を接合した一対の金属板4A,4Bからなる外装材4であって、当該一対の金属板4A,4Bの間で発電要素、及び電極タブ3の少なくとも集電体との溶接部5を挟むことで内部に収容し、かつ電極タブ3の溶接部5とは異なる一部を外部に露出させる外装材4と、外装材4に接し、溶接部5の熱を外装材4に放熱する放熱部材61と、を備える。
【選択図】図4
特許請求の範囲
【請求項1】
集電体を含む発電要素と、
前記集電体に溶接された電極タブと、
外周縁同士を接合した一対の金属板からなる外装材であって、当該一対の金属板の間で前記発電要素、及び前記電極タブの少なくとも前記集電体との溶接部を挟むことで内部に収容し、かつ前記電極タブの前記溶接部とは異なる一部を外部に露出させる前記外装材と、
前記外装材に接し、前記溶接部の熱を前記外装材に放熱する放熱部材と、
を備える、二次電池。
続きを表示(約 920 文字)
【請求項2】
前記放熱部材は、前記一対の金属板の間に配置され、前記溶接部と前記外装材の内面との双方に当接する、
請求項1に記載の二次電池。
【請求項3】
前記電極タブは、前記溶接部により前記集電体に接合される第一面と、前記第一面とは反対側の第二面とを有し、
前記電極タブの前記第二面と前記外装材とに当接する第二放熱部材をさらに備える、
請求項1に記載の二次電池。
【請求項4】
前記第一面から前記第二面に向かう方向を厚み方向として
前記溶接部は、前記厚み方向に貫通する第一貫通孔を備え、
前記電極タブは、前記厚み方向に貫通し、前記第一貫通孔と同軸の第二貫通孔を備え、
前記放熱部材及び前記第二放熱部材は、前記第一貫通孔及び前記第二貫通孔に挿通された軸部により連結される、
請求項3に記載の二次電池。
【請求項5】
前記放熱部材及び前記第二放熱部材の一方は、前記軸部と一体構成されたリベットであり、
前記放熱部材及び前記第二放熱部材の他方は、前記軸部が挿通されるピンホールを備える、
請求項4に記載の二次電池。
【請求項6】
前記放熱部材及び前記第二放熱部材の一方は、前記軸部と一体構成されて、前記軸部に雄ネジ部が形成されるボルトであり、
前記放熱部材及び前記第二放熱部材の他方は、前記雄ネジ部が螺合される雌ネジ部が設けられたナットである、
請求項4に記載の二次電池。
【請求項7】
前記第一貫通孔の孔径は、前記軸部の軸径よりも大きく、
前記第二貫通孔の孔径は、前記軸部の前記軸径と同一径である、
請求項4に記載の二次電池。
【請求項8】
前記放熱部材と前記外装材との接触面積は、前記溶接部の面積よりも大きい、
請求項1に記載の二次電池。
【請求項9】
前記放熱部材の前記外装材に対向する面は、前記外装材の前記放熱部材に対向する面形状と同一の面形状に形成されている、
請求項1に記載の二次電池。
発明の詳細な説明
【技術分野】
【0001】
本発明は、二次電池に関する。
続きを表示(約 2,100 文字)
【背景技術】
【0002】
従来、正極集電体を含む正極、及び負極集電体を含む負極を、固体電解質層を介して積層した発電要素と、正極集電体に接合される正極タブと、負極集電体に接合される負極タブとを備える二次電池が知られている(例えば、特許文献1参照)。このような二次電池では、正極タブの正極集電体との接合部、及び負極タブの負極集電体との接合部が、ラミネート外装体によって封止されることで密閉され、正極タブの一部、及び負極の一部がラミネート外装体の外側に引き出される。特許文献1の二次電池では、集電体(正極集電体,負極集電体)及びタブ(正極タブ,負極タブ)がそれぞれ異なる金属により構成され、これらの集電体及びタブの接合部の接合界面に金属間化合物が形成され、当該金属間化合物の透過型電子顕微鏡での観察下での最大径が1μm未満となるように構成されている。
【先行技術文献】
【特許文献】
【0003】
特開2020-149801号公報
【発明の概要】
【発明が解決しようとする課題】
【0004】
ところで、正極集電体と正極タブとの接合部、及び負極集電体と負極タブとの接合部では電気抵抗が高くなる。このため、二次電池の充放電時の高出力化に伴って、当該接合部での発熱量が増大する。上記特許文献1のような従来の二次電池では、接合部の発熱に対して放熱することができず、溶損する可能性があり、二次電池の信頼性が低下する。
【0005】
本発明は、信頼性の高い二次電池を提供することを目的とする。
【課題を解決するための手段】
【0006】
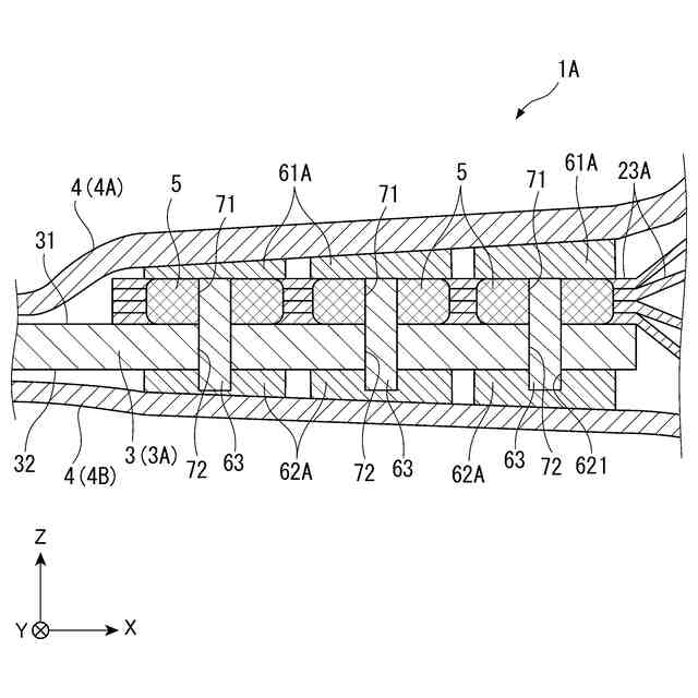
本発明の第一態様に係る二次電池は、集電体を含む発電要素と、前記集電体に溶接された電極タブと、外周縁同士を接合した一対の金属板からなる外装材であって、当該一対の金属板の間で前記発電要素、及び前記電極タブの少なくとも前記集電体との溶接部を挟むことで内部に収容し、かつ前記電極タブの前記溶接部とは異なる一部を外部に露出させる前記外装材と、前記外装材に接し、前記溶接部の熱を前記外装材に放熱する放熱部材と、を備える。
【発明の効果】
【0007】
本発明では、電極タブと集電体との溶接部の熱を放熱部材により外装材に放熱することができる。これにより、二次電池の充放電時に接合部が発熱しても、その熱を外装材に逃がすことで接合部の溶損を抑制できるので、信頼性の高い二次電池を提供できる。
【図面の簡単な説明】
【0008】
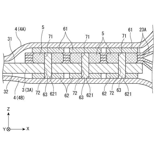
第一実施形態の二次電池の概略構成を示す斜視図。
図1の線A-Aで二次電池を切断した場合の概略断面図。
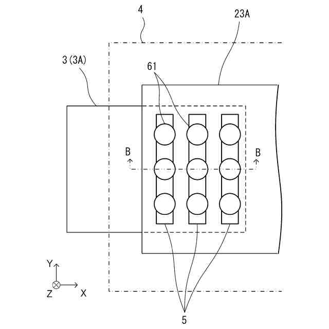
第一実施形態の正極タブと正極集電箔との接合位置をZ方向から見た平面図。
図3の線B-Bにおける正極タブの近傍の概略断面図。
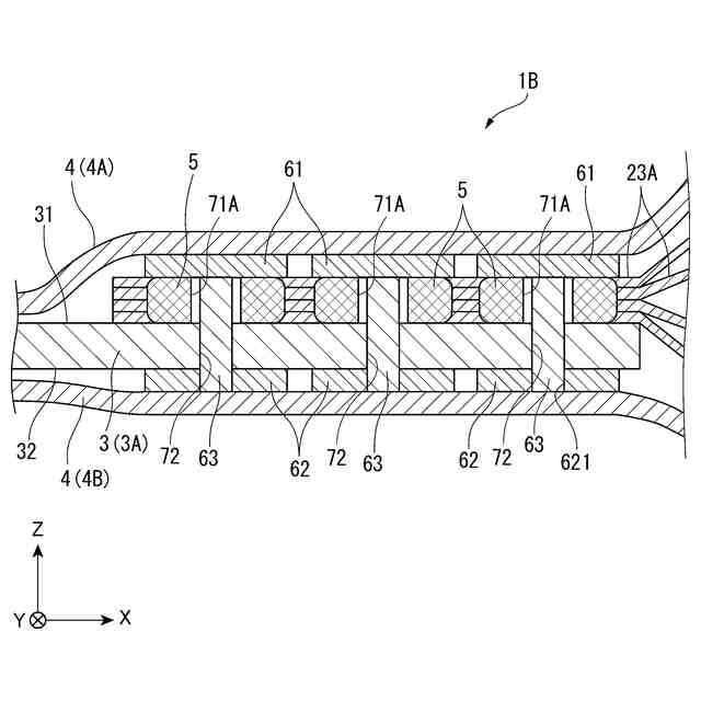
第二実施形態の二次電池の電極タブ(正極タブ)の近傍の概略構成を示す断面図。
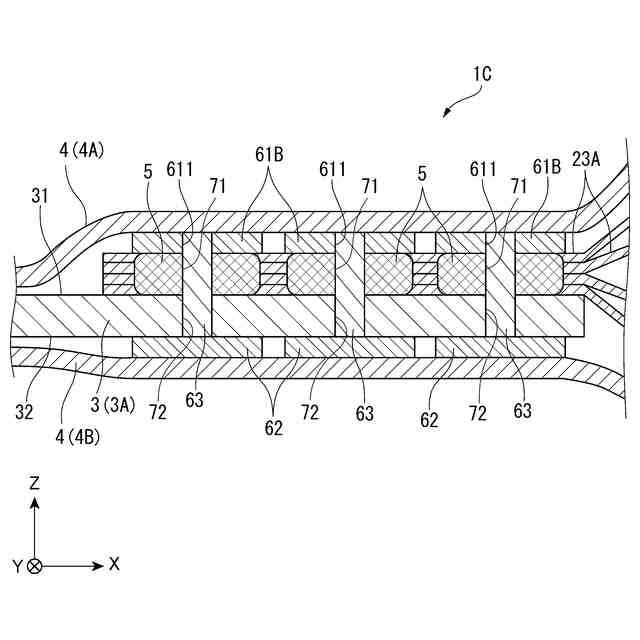
第三実施形態の二次電池の電極タブ(正極タブ)の近傍の概略構成を示す断面図。
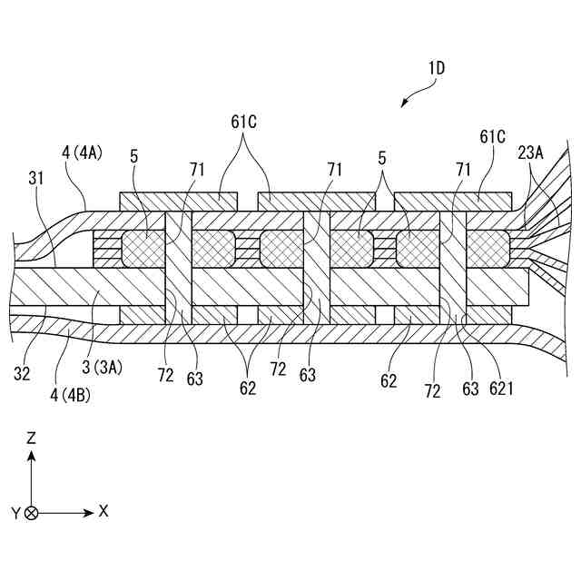
第四実施形態の二次電池の正極タブと正極集電箔との接合位置をZ方向から見た平面図。
図7の線C-Cにおける正極タブの近傍の概略断面図。
変形例1に係る二次電池の電極タブ(正極タブ)の近傍の概略構成を示す断面図。
【発明を実施するための形態】
【0009】
[第一実施形態]
以下、本発明に係る第一実施形態の二次電池について説明する。
本実施形態では、二次電池として、扁平積層型の全固体電池を例示して説明する。
図1は、第一実施形態の二次電池1の概略構成を示す斜視図である。図2は、図1の線A-Aで二次電池1を切断した場合の概略断面図である。
本実施形態の二次電池1は、発電要素2(図2参照)と、電極タブ3と、外装材4とを備える。発電要素2と電極タブ3とは、電気的に接続される。外装材4は、電極タブ3の一部が外部に導出(露出)された状態で、発電要素2、及び電極タブ3を内部に収容する。
ここで、図1,2に示すように、電極タブ3には、正極タブ3Aと負極タブ3Bとが含まれ、正極タブ3Aから負極タブ3Bに向かう方向をX方向とする。なお、以降の説明において、正極タブ3Aと負極タブ3Bとを区別する必要がない場合には、電極タブ3と称する。
また、発電要素2は、図2に示すように、正極2Aと、負極2Bとが、電解質層2Cを介して交互に積層されることで構成されており、正極2A及び負極2Bの積層方向をZ方向とする。Z方向は、本開示の厚み方向であり、X方向に対して直交する。さらに、X方向及びZ方向に直交する方向をY方向とする。
【0010】
発電要素2は、上述のように、正極2A及び負極2Bが電解質層2Cを介して積層されることで構成される。発電要素2における正極2A及び負極2Bの積層数に関しては特に限定されない。
(【0011】以降は省略されています)
この特許をJ-PlatPat(特許庁公式サイト)で参照する
関連特許
東ソー株式会社
絶縁電線
28日前
APB株式会社
蓄電セル
26日前
株式会社東芝
端子台
20日前
マクセル株式会社
電源装置
20日前
ローム株式会社
半導体装置
27日前
株式会社GSユアサ
蓄電装置
21日前
三菱電機株式会社
回路遮断器
7日前
株式会社ホロン
冷陰極電子源
1か月前
株式会社GSユアサ
蓄電装置
13日前
株式会社GSユアサ
蓄電装置
21日前
日新イオン機器株式会社
基板処理装置
23日前
北道電設株式会社
配電具カバー
26日前
トヨタ自動車株式会社
蓄電装置
21日前
トヨタ自動車株式会社
バッテリ
26日前
トヨタ自動車株式会社
冷却構造
28日前
日本特殊陶業株式会社
保持装置
12日前
日本特殊陶業株式会社
保持装置
29日前
株式会社デンソー
電子装置
23日前
ローム株式会社
半導体装置
28日前
株式会社トクヤマ
シリコンエッチング液
1か月前
住友電装株式会社
コネクタ
28日前
ローム株式会社
半導体モジュール
今日
日本無線株式会社
レーダアンテナ
14日前
甲神電機株式会社
変流器及び零相変流器
14日前
トヨタ自動車株式会社
電池パック
1か月前
トヨタ自動車株式会社
電池パック
1か月前
日亜化学工業株式会社
半導体レーザ素子
23日前
株式会社トクヤマ
シリコンエッチング液
1か月前
株式会社レゾナック
冷却器
7日前
トヨタ自動車株式会社
密閉型電池
22日前
日本航空電子工業株式会社
コネクタ
12日前
マクセル株式会社
扁平形電池
27日前
株式会社デンソー
熱交換部材
14日前
株式会社東芝
高周波回路
29日前
富士電機株式会社
半導体モジュール
15日前
株式会社村田製作所
二次電池
1か月前
続きを見る
他の特許を見る