TOP
|
特許
|
意匠
|
商標
特許ウォッチ
Twitter
他の特許を見る
公開番号
2025171529
公報種別
公開特許公報(A)
公開日
2025-11-20
出願番号
2024076971
出願日
2024-05-10
発明の名称
エアレスタイヤ構造
出願人
日産自動車株式会社
代理人
個人
,
個人
,
個人
主分類
B60C
7/00 20060101AFI20251113BHJP(車両一般)
要約
【課題】均一な厚さの塗膜を傾斜面に形成することができる。
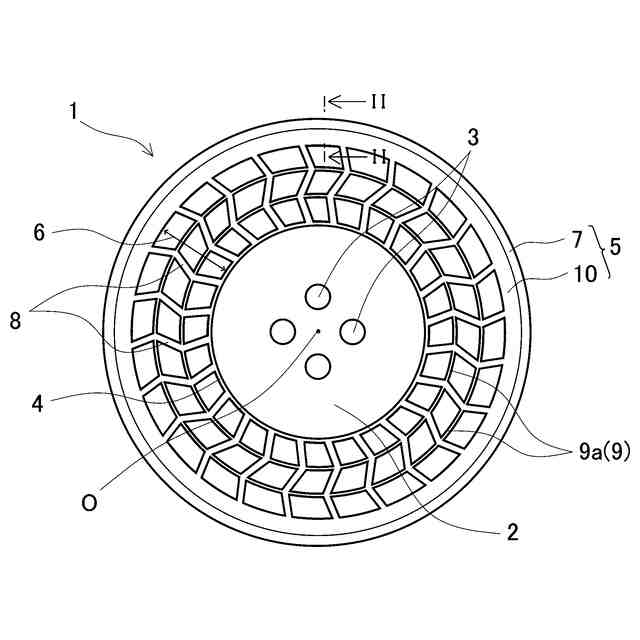
【解決手段】エアレスタイヤ構造は、エアレスタイヤ1の中央に配置された内周リング4と、最外周にトレッド層7を有する外周リング5と、内周リング4と外周リング5との間に設けられたスポーク部6とを備えている。スポーク部6には、隣接するスポーク8同士を周方向に連結する連結部9aが設けられている。外周リング5は、トレッド層7の内周面と接する剪断層10も有している。剪断層10は、少なくとも、トレッド層7の内周面と接する外側補強層と、外側補強層の内側に配されたエラストマ層とを有している。
【選択図】図1
特許請求の範囲
【請求項1】
エアレスタイヤ構造であって、
エアレスタイヤの中央に配置された内周リングと、
最外周にトレッド層を有する外周リングと、
前記内周リングと前記外周リングとの間に放射状に配されて前記内周リングの外周と前記外周リングの内周とをつなぐ複数のスポークを有するスポーク部と、を備えており、
前記スポーク部には、隣接する前記スポーク同士を周方向に連結する連結部が設けられており、
前記外周リングは、前記トレッド層の内周面と接する剪断層を有しており、
前記剪断層は、前記トレッド層の前記内周面と接する外側補強層と、前記外側補強層の内側に配されたエラストマ層と、を有している、エアレスタイヤ構造。
続きを表示(約 640 文字)
【請求項2】
請求項1に記載のエアレスタイヤ構造であって、
前記連結部が、エアレスタイヤの中心に対する同心円状の複数の中間リングを形成している、エアレスタイヤ構造。
【請求項3】
請求項2に記載のエアレスタイヤ構造であって、
前記スポークのそれぞれが、前記エアレスタイヤの回転軸方向から見てジグザグ形状を有しており、
前記中間リングは、前記ジグザグ形状の屈曲部で前記スポークと接続されている、エアレスタイヤ構造。
【請求項4】
請求項1に記載のエアレスタイヤ構造であって、
前記剪断層が、前記エラストマ層の内周面と接する内側補強層をさらに有しており、
前記内側補強層のヤング率が、前記外側補強層のヤング率よりも低い、エアレスタイヤ構造。
【請求項5】
請求項4に記載のエアレスタイヤ構造であって、
前記剪断層が、前記外側補強層と前記内側補強層との間の前記エラストマ層の内部に、一層以上の中間補強層をさらに有しており、
前記中間補強層のヤング率が、前記外側補強層のヤング率よりも低く、かつ、前記内側補強層のヤング率よりも高い、エアレスタイヤ構造。
【請求項6】
請求項1~5の何れか一項に記載のエアレスタイヤ構造であって、
前記外周リングの単独での径方向剛性が、前記エアレスタイヤの全体での径方向剛性の1/10以下である、エアレスタイヤ構造。
発明の詳細な説明
【技術分野】
【0001】
本発明は、エアレスタイヤ構造に関する。
続きを表示(約 2,100 文字)
【背景技術】
【0002】
下記特許文献1に開示されたエアレスタイヤ構造は、内周リングと、外周リングと、スポーク部とを備えている。内周リングは、エアレスタイヤの中心に配置されており、ホイールを介して車両のハブに取り付けられるか、車両のハブに直接取り付けられる。外周リングは、外周面にトレッド層を有している。スポーク部は、内周リングと外周リングとの間に放射状に配されて内周リングの外周と外周リングの内周とをつなぐ複数のスポークを有している。外周リングは、トレッド層の径方向内側に、径外側から順に、外側補強層、エラストマ層及び内側補強層をさらに有している。特許文献1では、エラストマ層は、エラストマ剪断層や単に剪断層とも呼ばれている。特許文献1に開示された発明は、外周リングの剪断弾性率と引張弾性率との比を適切な値に設定することで、タイヤ-路面間の接地圧分布を適正化する技術に関するものである。
【先行技術文献】
【特許文献】
【0003】
特許第4852767号公報
【発明の概要】
【発明が解決しようとする課題】
【0004】
特許文献1に開示されたエアレスタイヤ構造では、材料弾性率の高い外側補強層及び内側補強層によって剪断剛性の低いエラストマ層が挟まれる。この構造によれば、タイヤ接地荷重によって周方向の接地端で外周リングが剪断変形し、タイヤ-路面間の接地長及び接地面積が確保される。補強層の引張方向の弾性率に対してエラストマ層の剪断弾性率を適切に設定することで、空気入りタイヤと同等の接地面積を得ることができると説明されている。
【0005】
タイヤの転がり抵抗は、車両の燃費又は電費に大きな影響を与えることはよく知られている。エアレスタイヤの転がり抵抗は、空気入りタイヤと同様に、転動時にタイヤ構造体が変形することによって発生する歪みエネルギーロスが主要因と考えられる。また、エアレスタイヤはその構造体の変形時の反力で荷重を支えるので、変形した構造体にも歪みエネルギーロスが発生する。このため、一般的に、エアレスタイヤは、空気入りタイヤに対して、転がり抵抗に関しては不利であると考えられる。
【0006】
上述したエラストマ層は、剪断方向に変形することで接地長及び接地面積を確保するので、構造上、剪断方向の歪みエネルギーロスが大きい傾向を有する。空気入りタイヤと同等の接地長及び接地面積を確保するためには、エラストマ層の弾性率を低下させることが有効である。しかし、エラストマ層の弾性率を低下させると、エラストマ層で発生する歪エネルギーロスがさらに増大する。また、一般的に、エラストマ層は剪断方向の変形が大きいので、耐久性確保等の観点からゴム等で形成することが前提とされることが多い。しかし、一般的に、ゴムは樹脂等の材料と比較してその損失正接が高いので、エラストマ層の発生する歪みエネルギーロスが、タイヤ全体のエネルギーロスの主要因になり得てしまう。
【0007】
発明者らは、上述した課題に対して、エアレスタイヤの接地長及び接地面積の確保と転がり抵抗の低減との両立を構造面から検討した。その結果、損失正接が比較的小さいエアレスタイヤのスポーク部の剛性が外周リングに比較して十分低く、エラストマ層と同様に剪断方向に大変形が可能であれば、上述した両立の上で有効であると発明者等は考えた。しかし、スポーク部の剛性が過剰に低いとスポークが座屈を伴いながら大変形してしまうので、スポーク自体の耐久性の課題が生じ得る。さらに、スポークが座屈した場合、外周リングが主バネとなって荷重を支えるので、特に外側補強層に高い圧縮応力が生じて補強層が座屈するなどの課題も生じる。
【0008】
本発明の目的は、スポーク部の構造と形状を適正化した上で外周リングの構造を設計することで上記課題を解決し、タイヤ全体で発生するエネルギーロスを増やすことなく接地面積を確保することのできるエアレスタイヤ構造を提供することである。
【課題を解決するための手段】
【0009】
本発明の態様に係るエアレスタイヤ構造は、エアレスタイヤの中央に配置された内周リングと、最外周にトレッド層を有する外周リングと、内周リングと外周リングとの間に設けられたスポーク部とを備えている。スポーク部には、隣接するスポーク同士を周方向に連結する連結部が設けられている。外周リングは、トレッド層の内周面と接する剪断層も有している。剪断層は、少なくとも、トレッド層の内周面と接する外側補強層と、外側補強層の内側に配されたエラストマ層とを有している。
【発明の効果】
【0010】
本発明の上記態様によれば、タイヤ全体で発生するエネルギーロスを増やすことなく接地面積を確保することができる。
【図面の簡単な説明】
(【0011】以降は省略されています)
この特許をJ-PlatPat(特許庁公式サイト)で参照する
関連特許
日産自動車株式会社
電子機器
1日前
日産自動車株式会社
内燃機関
14日前
日産自動車株式会社
ロータシャフト
9日前
日産自動車株式会社
ロータシャフト
9日前
日産自動車株式会社
電池モジュール
15日前
日産自動車株式会社
リチウム二次電池
14日前
日産自動車株式会社
車両用排気部構造
14日前
日産自動車株式会社
塗装方法及び自動車
16日前
日産自動車株式会社
エアレスタイヤ構造
1日前
日産自動車株式会社
情報提供方法及び情報提供装置
1日前
日産自動車株式会社
衝突回避方法、及び衝突回避装置
14日前
日産自動車株式会社
物体検出方法、及び物体検出装置
14日前
日産自動車株式会社
楽曲情報共有方法及び楽曲情報共有装置
14日前
日産自動車株式会社
車両の発進制御方法、車両の発進制御装置
14日前
日産自動車株式会社
内燃機関の制御方法及び内燃機関の制御装置
14日前
日産自動車株式会社
ターボチャージャの潤滑油吸い出し抑制方法および装置
14日前
日産自動車株式会社
固体酸化物形燃料電池セル、固体酸化物形燃料電池セルの製造方法、及び固体酸化物形電解セル
14日前
個人
タイヤレバー
3か月前
個人
前輪キャスター
2か月前
個人
上部一体型自動車
1か月前
個人
タイヤ脱落防止構造
2か月前
個人
空間形成装置
22日前
個人
ルーフ付きトライク
3か月前
個人
車両通過構造物
3か月前
日本精機株式会社
表示装置
3か月前
日本精機株式会社
表示装置
3か月前
日本精機株式会社
照明装置
17日前
日本精機株式会社
表示装置
3か月前
個人
マスタシリンダ
1か月前
日本精機株式会社
表示装置
3か月前
個人
乗合路線バスの客室装置
4か月前
個人
常設収納型サンバイザー
28日前
日本精機株式会社
車室演出装置
2か月前
株式会社豊田自動織機
産業車両
17日前
日本精機株式会社
画像投映装置
1か月前
個人
回転窓ワイパー装置
22日前
続きを見る
他の特許を見る