TOP
|
特許
|
意匠
|
商標
特許ウォッチ
Twitter
他の特許を見る
10個以上の画像は省略されています。
公開番号
2025181081
公報種別
公開特許公報(A)
公開日
2025-12-11
出願番号
2024088842
出願日
2024-05-31
発明の名称
座席装置
出願人
コイト電工株式会社
代理人
個人
主分類
B60N
2/22 20060101AFI20251204BHJP(車両一般)
要約
【課題】座席のリクライニング操作が問題となる特定の状態のときだけ、リクライニングの規制を直接的かつ確実に実現することができる座席装置を提供する。
【解決手段】座席1の状態を変換可能であり、背凭れ3を任意の傾き角度に固定可能な座席装置10において、座席1が特定の状態にあるとき、背凭れ3自体の後傾動作を直接規制するリクライニング規制部100を備える。
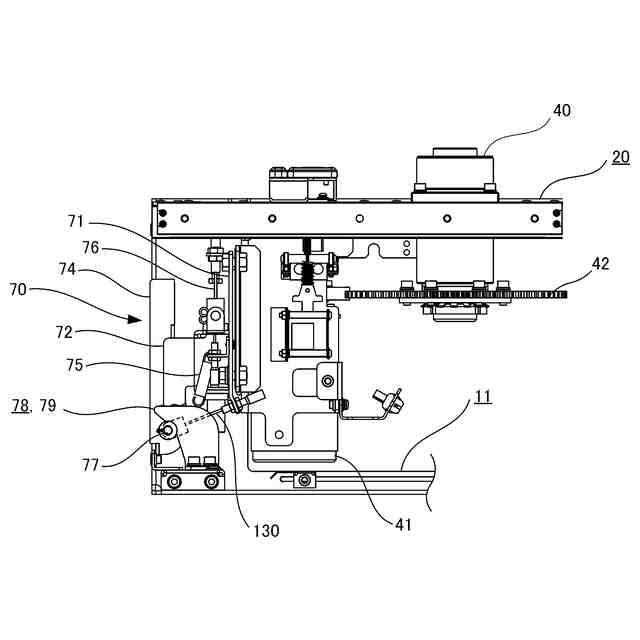
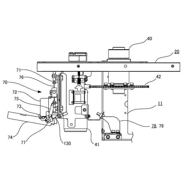
【選択図】図1
特許請求の範囲
【請求項1】
座席の向きを含む状態を変換可能であり、背凭れを任意の傾き角度に固定可能な座席装置において、
座席が特定の状態にあるとき、背凭れ自体の後傾動作を直接規制するリクライニング規制部を備えたことを特徴とする座席装置。
続きを表示(約 980 文字)
【請求項2】
前記背凭れは、そのフレームの下側が座席の固定側に傾動支点により支持され、上側が前後方向へ傾動可能であり、
前記リクライニング規制部は、座席が前記特定の状態にあるとき、前記フレームに係合して背凭れ自体の後傾動作を直接規制することを特徴とする請求項1に記載の座席装置。
【請求項3】
前記リクライニング規制部は、前記フレームに設けられた係止孔に対して係脱可能なロックピンを備え、
座席が前記特定の状態にあるとき、前記ロックピンが前記係止孔に係合することを特徴とする請求項2に記載の座席装置。
【請求項4】
前記係止孔は、前記フレームのうち前記傾動支点より下方に延出した箇所に設けられたことを特徴とする請求項3に記載の座席装置。
【請求項5】
座席を回転軸周りに回転させる回転機構と、
座席を固定側より前記回転機構ごと進退させるスライド機構と、を備え、
前記回転機構および前記スライド機構の連動によって座席の状態は、
座席背面が壁に略平行に沿うロング状態と、
前記ロング状態と略直交する向きで壁から離れたクロス状態と、に変換可能であり、
座席の前記特定の状態は、前記ロング状態に相当することを特徴とする請求項3または4に記載の座席装置。
【請求項6】
座席の固定側に設けられた係合部と、
座席の可動側に設けられ、座席が前記特定の状態にあるとき、前記係合部に係合することで変位可能な被係合部と、を備え、
前記ロックピンは、通常時は前記係止孔から離脱する方向に付勢され、
前記被係合部と前記ロックピンとは互いに連結され、前記被係合部の変位に伴って前記ロックピンは、前記付勢に抗して前記係止孔に係合することを特徴とする請求項5に記載の座席装置。
【請求項7】
座席の固定側として、床面上に固定された脚台と、
座席の可動側として、前記脚台に前記スライド機構を介して進退可能に取り付けられ、前記回転機構を介して座席の台枠が回転可能に支持された移動台と、を備え、
前記係合部は、前記脚台に設けられ、
前記被係合部は、前記移動台に設けられたことを特徴とする請求項6に記載の座席装置。
発明の詳細な説明
【技術分野】
【0001】
本発明は、座席の状態を変換可能な座席装置に関する。
続きを表示(約 1,700 文字)
【背景技術】
【0002】
従来より、例えば鉄道車両に搭載される座席には、両側方向に長く2人用等と複数人が掛けられる腰掛タイプがあり、通常は客室内で両側の壁際に沿って設置されている。この腰掛タイプには、座席背面が壁に平行に沿うロング状態と、座席背面が壁と直交するクロス状態とに、座席中心の回転軸周りに回転させて向きを変換できる回転座席が知られている。
【0003】
このような回転座席では、例えば特許文献1に記載のように、座席を壁に沿ったロング状態からクロス状態へ回転させるとき、座席の軌跡(回転半径)が壁と干渉しないように、座席の回転機構に加えてスライド機構を備え、さらに各機構を連動させる伝達機構も備えた座席装置が既に提案されている。
【0004】
すなわち、前記座席装置では、客室内で両側の座席間の通路幅をなるべく広げて快適な空間を確保するために、ロング状態のときは座席の回転軸を壁際に位置させる一方、クロス状態のときは座席が壁と干渉しないように、座席の回転軸を通路側にスライドさせていた。そのため、前記座席装置では、ロング状態のときに壁との干渉を防ぐために、背凭れを傾倒させることはできず、座り心地を良くするリクライニング機構を備えることができなかった。
【0005】
このような前記座席装置の問題を解決するために、本件出願人は、例えば特許文献2-4に記載のように、座席がロング状態にあるとき、リクライニング機構により背凭れを傾倒させるリクライニングを不能とする座席装置を新たに提案している。特許文献2,3に記載の座席装置は、座席脇にある袖部上端の肘掛にリクライニング機構の操作部が設けられており、この操作部を座席がロング状態のときだけ操作不能にロックすることによって、リクライニングを不能とするものであった。
【0006】
また、特許文献4に記載の座席装置は、同様に肘掛にリクライニング機構の操作部が設けられているが、この操作部を直接ロックするものではない。かかる座席装置では、操作部に入力された操作力をリクライニング機構まで伝達する動力伝達系を、座席がロング状態のときだけ伝達不能に遮断することによって、リクライニングを不能とするものであった。
【先行技術文献】
【特許文献】
【0007】
特許第3431772号公報
特許第7051253号公報
特許第7361676号公報
特開2023-176226号公報
【発明の概要】
【発明が解決しようとする課題】
【0008】
前述した従来の特許文献2-4に記載の座席装置では、リクライニングの規制について、何れも背凭れ自体の動作には直接的には関与せず、操作部における操作を不能としたり、動力伝達系において操作力の伝達を阻止する機構であった。このような機構によるリクライニングの間接的な規制では、操作部や動力伝達系に不具合が生じた場合、肝心の背凭れ自体の動作を規制することができない虞があった。
【0009】
また、特許文献2,3に記載の座席装置では、リクライニング機構の操作部とそのロック機構が袖部内に設けられるため、袖部内の限られたスペースに配置することが困難であったり、配置できたとしても、袖部内のスペースが侵食されて、例えばインアームテーブル等の他部材を配置できない虞があった。さらに、特許文献4に記載の座席装置では、リクライニング機構と操作部をつなぐ動力伝達系を選択的に遮断する機構が複雑であり、部品点数も多く、コスト高を招く虞があった。
【0010】
本発明は、以上のような従来の技術の有する問題点に着目してなされたものであり、リクライニング操作が問題となる特定の状態のときだけ、リクライニングの規制を直接的かつ確実に実現することが可能であり、袖部における省スペース化の要請に応じることもでき、簡易な構成により部品点数を削減してコスト低減も可能となる座席装置を提供することを目的としている。
【課題を解決するための手段】
(【0011】以降は省略されています)
この特許をJ-PlatPat(特許庁公式サイト)で参照する
関連特許
個人
前輪キャスター
3か月前
個人
上部一体型自動車
2か月前
個人
空間形成装置
1か月前
個人
タイヤ脱落防止構造
3か月前
個人
マスタシリンダ
2か月前
日本精機株式会社
照明装置
1か月前
個人
常設収納型サンバイザー
1か月前
日本精機株式会社
車載表示装置
1か月前
株式会社ニフコ
収納装置
3か月前
日本精機株式会社
車室演出装置
3か月前
日本精機株式会社
車載表示装置
1か月前
株式会社ニフコ
照明装置
3か月前
日本精機株式会社
画像投映装置
2か月前
日本精機株式会社
車載表示装置
2か月前
株式会社豊田自動織機
産業車両
1か月前
個人
回転窓ワイパー装置
1か月前
日本精機株式会社
車載表示装置
1か月前
株式会社SUBARU
車両
2か月前
日本精機株式会社
車両用投影装置
1日前
日本精機株式会社
車両用表示装置
2日前
日本精機株式会社
車両用報知装置
1か月前
日本精機株式会社
車両用投影装置
2か月前
井関農機株式会社
作業車両
2か月前
日本精機株式会社
車両用表示装置
2か月前
個人
音による速度計とプログラム
1か月前
個人
聴覚と触覚を利用する速度計
7日前
日本精機株式会社
車両用投射装置
2か月前
エムケー精工株式会社
車両処理装置
3か月前
日本化薬株式会社
ガス発生器
2か月前
日本化薬株式会社
ガス発生器
2か月前
日本化薬株式会社
ガス発生器
7日前
日本化薬株式会社
ガス発生器
3か月前
エムケー精工株式会社
車両処理装置
2か月前
スズキ株式会社
運転支援装置
3か月前
ダイハツ工業株式会社
変速機
3か月前
日産自動車株式会社
伝動部材
2か月前
続きを見る
他の特許を見る