TOP
|
特許
|
意匠
|
商標
特許ウォッチ
Twitter
他の特許を見る
公開番号
2025180853
公報種別
公開特許公報(A)
公開日
2025-12-11
出願番号
2024088484
出願日
2024-05-31
発明の名称
車両用投影装置
出願人
日本精機株式会社
代理人
主分類
B60Q
1/00 20060101AFI20251204BHJP(車両一般)
要約
【課題】運転者に所要の情報を好適に提供できる車両用投影装置を提供する。
【解決手段】本実施形態における車両用投影装置1は、車両2が走行すべき方向である正走行方向に関する情報を取得する正方向取得部と、車両2が実際に走行している実走行方向が正走行方向に対してずれを有する場合、正走行方向を示す正方向映像31、及び実走行方向を示す実方向映像32を生成する映像生成部と、正方向映像31及び実方向映像32に係る投影光を生成し車両2が走行する路面4に投影する投影部と、を備える。
【選択図】 図1
特許請求の範囲
【請求項1】
車両が走行すべき方向である正走行方向に関する情報を取得する正方向取得部と、
前記車両が実際に走行している実走行方向が前記正走行方向に対してずれを有する場合、前記正走行方向を示す正方向映像、及び前記実走行方向を示す実方向映像を生成する映像生成部と、
前記正方向映像及び前記実方向映像に係る投影光を生成し前記車両が走行する路面に投影する投影部と、を備える車両用投影装置。
続きを表示(約 330 文字)
【請求項2】
前記映像生成部は、前記正走行方向に対する前記実走行方向のずれ量に応じて前記実方向映像を異ならせる、請求項1記載の車両用投影装置。
【請求項3】
前記映像生成部は、前記正走行方向に対する前記実走行方向のずれ方向に応じて前記実方向映像を異ならせる、請求項1記載の車両用投影装置。
【請求項4】
前記車両の前記路面に対する姿勢に関する情報を取得する姿勢取得部を更に備え、
前記映像生成部は、前記姿勢に応じて補正された前記正方向映像及び前記実方向映像を生成する、請求項1記載の車両用投影装置。
【請求項5】
前記車両は農機であり、前記路面は圃場である、請求項1記載の車両用投影装置。
発明の詳細な説明
【技術分野】
【0001】
本開示は、車両用投影装置に関する。
続きを表示(約 1,100 文字)
【背景技術】
【0002】
従来、作業車両に描画装置を搭載し、進行方向前方の路面上に画像を描画する技術が知られている。
【先行技術文献】
【特許文献】
【0003】
特開2019-084915号公報
【発明の概要】
【発明が解決しようとする課題】
【0004】
上述した描画装置は、車外の者に作業車両の接近を知らせるための画像の表示や、灯具、広告灯等に使用され得る。しかしながら、作業車両の運転者に好適に情報を提供するためには使用されてはいなかった。
【0005】
本開示はこのような事情を考慮してなされたもので、運転者に所要の情報を好適に提供できる車両用投影装置を提供することを目的とする。
【課題を解決するための手段】
【0006】
本開示の車両用投影装置は、上述した課題を解決するために車両が走行すべき方向である正走行方向に関する情報を取得する正方向取得部と、車両が実際に走行している実走行方向が正走行方向に対してずれを有する場合、正走行方向を示す正方向映像、及び実走行方向を示す実方向映像を生成する映像生成部と、正方向映像及び実方向映像に係る投影光を生成し車両が走行する路面(圃場)に投影する投影部と、を備える。
【発明の効果】
【0007】
本開示の車両用投影装置においては、運転者に所要の情報を好適に提供できる。
【図面の簡単な説明】
【0008】
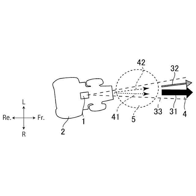
本実施形態における車両用投影装置及び車両用投影装置が搭載される農機を示す説明図。
車両用投影装置の機能構成を示す概略的な機能ブロック図。
本実施形態における投影装置により実行される方向点灯処理を説明するフローチャート。
正方向映像の投影例を示す図。
正方向映像及び実方向映像の投影例を示す図。
正方向映像及び実方向映像の投影例を示す図。
正方向映像及び実方向映像の投影例を示す図。
【発明を実施するための形態】
【0009】
本開示の車両用投影装置の実施形態を添付図面に基づいて説明する。本開示の車両用投影装置は、例えば農機や重機をはじめとする、予め決められたルートで走行しつつ、所要の作業を行うあらゆる作業車両に適用することができる。本実施形態においては、車両用投影装置が農機に搭載される例を用いて説明する。
【0010】
図1は、本実施形態における車両用投影装置1及び車両用投影装置1が搭載される農機2を示す説明図である。
(【0011】以降は省略されています)
この特許をJ-PlatPat(特許庁公式サイト)で参照する
関連特許
日本精機株式会社
表示装置
1か月前
日本精機株式会社
照明装置
1か月前
日本精機株式会社
検出装置
1か月前
日本精機株式会社
回路基板
2日前
日本精機株式会社
位置検出装置
2か月前
日本精機株式会社
車載表示装置
1か月前
日本精機株式会社
運転支援装置
1か月前
日本精機株式会社
車載表示装置
1か月前
日本精機株式会社
画像投映装置
2か月前
日本精機株式会社
車載表示装置
1か月前
日本精機株式会社
位置検出装置
2か月前
日本精機株式会社
発光表示装置
14日前
日本精機株式会社
位置検出装置
2か月前
日本精機株式会社
プロジェクタ
6日前
日本精機株式会社
液面検出装置
1日前
日本精機株式会社
車両用投影装置
今日
日本精機株式会社
導光体照明装置
今日
日本精機株式会社
ミラーユニット
1か月前
日本精機株式会社
車両用表示装置
1か月前
日本精機株式会社
車両用報知装置
1か月前
日本精機株式会社
車両用表示装置
1日前
日本精機株式会社
車両用投射装置
2か月前
日本精機株式会社
車両用表示装置
6日前
日本精機株式会社
サージ保護回路
2か月前
日本精機株式会社
車両用表示装置
2か月前
日本精機株式会社
車両用投射装置
2か月前
日本精機株式会社
スペックル低減装置
1か月前
日本精機株式会社
交通保安用投影装置
2日前
日本精機株式会社
鞍乗型車両用表示装置
1か月前
日本精機株式会社
照明装置及び表示装置
13日前
日本精機株式会社
鞍乗型車両用表示装置
7日前
日本精機株式会社
車両表示装置用回路基板
6日前
日本精機株式会社
スクリーン反射型表示装置
1か月前
日本精機株式会社
ヘッドアップディスプレイ
1か月前
日本精機株式会社
表示装置及びその製造方法
1か月前
日本精機株式会社
ヘッドアップディスプレイ
1か月前
続きを見る
他の特許を見る