TOP
|
特許
|
意匠
|
商標
特許ウォッチ
Twitter
他の特許を見る
公開番号
2025179876
公報種別
公開特許公報(A)
公開日
2025-12-11
出願番号
2024086779
出願日
2024-05-29
発明の名称
導光体照明装置
出願人
日本精機株式会社
代理人
個人
,
個人
,
個人
,
個人
,
個人
主分類
B60Q
3/62 20170101AFI20251204BHJP(車両一般)
要約
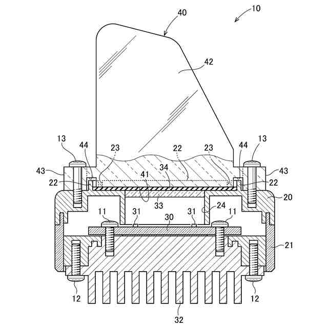
【課題】導光体のみを容易に交換でき、光源と導光体の間への水分やゴミの侵入を防ぐこと。
【解決手段】導光体照明装置10は、例えば車両等の前部に配置されたスクリーン部に光を投射させるヘッドアップディスプレイに使用されるものであり、第1の筐体20と、第1の筐体20側からの光を導く導光体40と、透明な透明弾性体34と、導光体固定用の締結部材(ネジ)13とからなる。透明弾性体34は透明なゴムなどの弾性体からなり、光源31からの光が透過する。透明弾性体34は、筐体20の衝立部22の内側に設置され、導光体40の締結部材(ネジ)13の固定によって圧縮され、窓部33、透明弾性体34、導光体40を密着させる。透明弾性体34が窓部33と導光体40の間に挟み込まれることで、窓部33と導光体40の間に水分とゴミが侵入することを防止する。
【選択図】図1
特許請求の範囲
【請求項1】
開口部が形成された筐体と、前記筐体の内部に設けられた基板と、前記基板に設けられ前記開口部に光を照射する光源と、前記開口部に設けられ前記光源からの光を透過する透明な窓部と、前記窓部を覆う位置で前記筐体の外側に設けられ前記筐体の外方に板形状に立ち上がるとともに光を導く導光体と、を備えている導光体照明装置であって、
前記導光体は、前記窓部と前記導光体の端面の間に透明で弾性を有する透明弾性体を挟んだ状態で前記筐体に固定されていることを特徴とする導光体照明装置。
続きを表示(約 290 文字)
【請求項2】
前記筐体には、前記窓部と前記導光体の入光面を囲むように形成された衝立形状の衝立部が設けられていることを特徴とする請求項1記載の導光体照明装置。
【請求項3】
前記衝立部は、一部に切り欠かれたスリット部が形成されていることを特徴とする請求項2記載の導光体照明装置。
【請求項4】
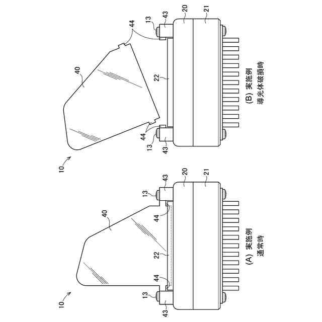
前記導光体は、板形状の発光面部の基端側に前記筐体に固定される固定部が設けられており、
前記固定部と板形状の前記発光面部の間には、強度が低く外部から衝撃により破断する脆弱部が設けられていることを特徴とする請求項1記載の導光体照明装置。
発明の詳細な説明
【技術分野】
【0001】
本発明は、車両等の前部に配置されたスクリーン部に光を投射させる導光体照明装置に関する。
続きを表示(約 1,100 文字)
【背景技術】
【0002】
一部の車両には、フロントガラス等のスクリーン部に光を投射させ運転者に必要な情報を提供する導光体照明装置(ヘッドアップディスプレイ)が搭載されている。例えば、導光体照明装置は、車両のダッシュボードに設けられ、フロントガラスに光を投射する。導光体照明装置の従来技術として特許文献1に開示される技術がある。
【0003】
特許文献1に示されるような、導光体照明装置は、板状のコンバイナー(導光体)と端面光源から構成されており、コンバイナーの内部に入射した照明光を導光させて光の像を視認させる仕組みである。
【0004】
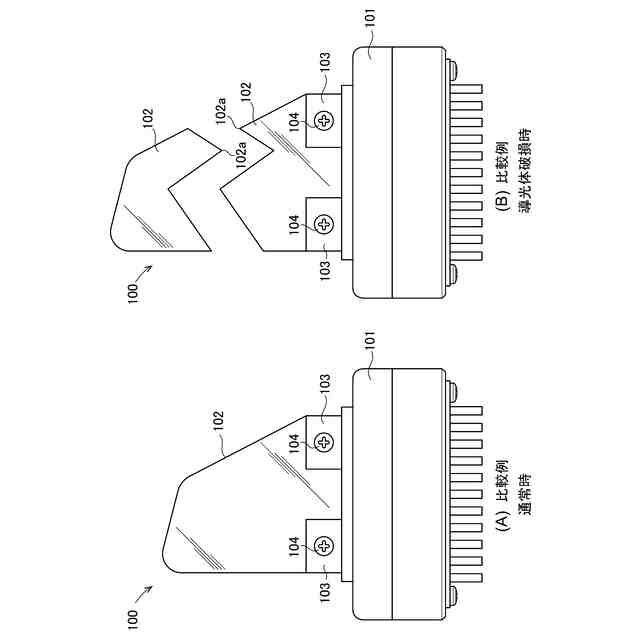
しかしながら、特許文献1記載のコンバイナーは、筐体内部に固定されており、コンバイナーがキズや劣化により汚れた場合、外部からの衝撃によって破損した場合、コンバイナーのみの交換が不可能である。
【0005】
また、交換構造を設けた場合、光源とコンバイナー間に水やゴミが浸入した際に水分による屈折やゴミによって光路の影になり、発光の見栄えに影響を与え、運転者に正しく通知できない虞がある。
【先行技術文献】
【特許文献】
【0006】
国際公開第2016/042598号
【発明の概要】
【発明が解決しようとする課題】
【0007】
本発明は、導光体のみを容易に交換でき、光源と導光体の間への水分やゴミの侵入を防ぐことができる技術の提供を課題とする。
【課題を解決するための手段】
【0008】
第1の態様における導光体照明装置では、開口部が形成された筐体と、前記筐体の内部に設けられた基板と、前記基板に設けられ前記開口部に光を照射する光源と、前記開口部に設けられ前記光源からの光を透過する透明な窓部と、前記窓部を覆う位置で前記筐体の外側に設けられ前記筐体の外方に板形状に立ち上がるとともに光を導く導光体と、を備えている導光体照明装置であって、
前記導光体は、前記窓部と前記導光体の端面の間に透明で弾性を有する透明弾性体を挟んだ状態で前記筐体に固定されていることを特徴とする。
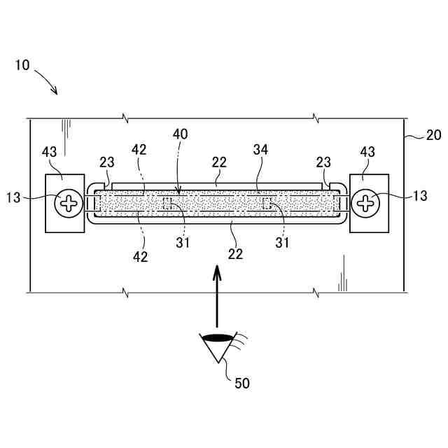
【0009】
第1の態様に従属し得る第2の態様における導光体照明装置では、前記筐体には、前記窓部と前記導光体の入光面を囲むように形成された衝立形状の衝立部が設けられている。
【0010】
第2の態様に従属し得る第3の態様における導光体照明装置では、前記衝立部は、一部に切り欠かれたスリット部が形成されている。
(【0011】以降は省略されています)
この特許をJ-PlatPat(特許庁公式サイト)で参照する
関連特許
個人
上部一体型自動車
2か月前
個人
空間形成装置
1か月前
個人
マスタシリンダ
2か月前
日本精機株式会社
照明装置
1か月前
個人
常設収納型サンバイザー
1か月前
日本精機株式会社
画像投映装置
2か月前
株式会社ニフコ
収納装置
3か月前
個人
回転窓ワイパー装置
1か月前
株式会社豊田自動織機
産業車両
1か月前
日本精機株式会社
車載表示装置
1か月前
日本精機株式会社
車載表示装置
2か月前
日本精機株式会社
車載表示装置
1か月前
日本精機株式会社
車載表示装置
1か月前
日本精機株式会社
車両用報知装置
1か月前
日本精機株式会社
車両用表示装置
2か月前
個人
音による速度計とプログラム
1か月前
日本精機株式会社
車両用投影装置
今日
株式会社SUBARU
車両
2か月前
日本精機株式会社
車両用表示装置
1日前
日本精機株式会社
車両用投影装置
2か月前
井関農機株式会社
作業車両
2か月前
個人
聴覚と触覚を利用する速度計
6日前
日本精機株式会社
車両用投射装置
2か月前
日本化薬株式会社
ガス発生器
2か月前
日本化薬株式会社
ガス発生器
6日前
日本化薬株式会社
ガス発生器
2か月前
日本化薬株式会社
ガス発生器
2か月前
日本化薬株式会社
ガス発生器
3か月前
日本化薬株式会社
ガス発生器
1か月前
日本化薬株式会社
ガス発生器
15日前
個人
自動車の非常ブレーキアシスト
3か月前
日産自動車株式会社
伝動部材
2か月前
日本化薬株式会社
ガス発生器
8日前
エムケー精工株式会社
車両処理装置
2か月前
コイト電工株式会社
座席装置
今日
コイト電工株式会社
座席装置
今日
続きを見る
他の特許を見る