TOP
|
特許
|
意匠
|
商標
特許ウォッチ
Twitter
他の特許を見る
公開番号
2025151222
公報種別
公開特許公報(A)
公開日
2025-10-09
出願番号
2024052538
出願日
2024-03-27
発明の名称
ガス発生器
出願人
日本化薬株式会社
代理人
個人
主分類
B60R
21/264 20060101AFI20251002BHJP(車両一般)
要約
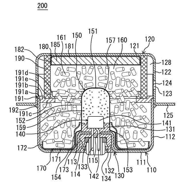
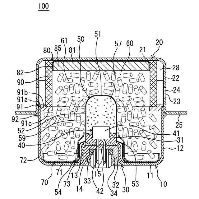
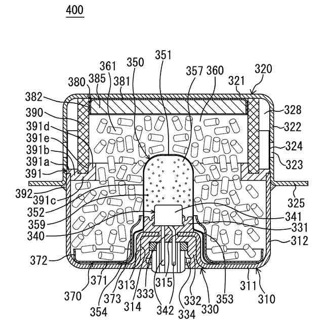
【課題】フィルタが大きくなることを抑制しつつガスがフィルタを通らずにハウジングの外部に排出されることを抑制できるガス発生器を提供する。
【解決手段】ガス発生器100は、底板部11、天板部21、周壁部12、周壁部22を有するハウジングと、周壁部12の先端面に載置される載置部91aの内端部に接続されかつ載置部91aよりも底板部11側に突出する外壁部91bの天板部21側の端面よりも底板部11側において外壁部91bから径方向の内側に突出する支持部91cを有し、ハウジングの周方向に沿って環状に設けられる支持部材91と、天板部21と支持部91cとによって挟持され、周方向に沿って環状に設けられるフィルタ90と、燃焼によりガスを発生するガス発生剤61を着火燃焼させる点火器40とを備える。周壁部12と載置部91aおよび外壁部91bとの接触部分は溶接されている。外壁部91bは周壁部12の内周面に溶接されている。
【選択図】図1
特許請求の範囲
【請求項1】
筒状のハウジングであって、底板部、前記底板部と対向する天板部、前記底板部の外周縁部から前記天板部側に向かって延設される第1周壁部、および前記天板部の外周縁部から前記底板部側に向かって延設されかつ複数のガス噴出口が配設される第2周壁部を有するハウジングと、
前記第1周壁部の先端面に載置される載置部、前記ハウジングの径方向における前記載置部の内端部に接続されかつ前記載置部よりも前記底板部側に突出する外壁部、および前記外壁部の前記天板部側の端面よりも前記底板部側において前記外壁部から前記径方向の内側に突出する支持部を有し、前記ハウジングの周方向に沿って環状に設けられる支持部材と、
前記天板部と前記支持部とによって挟持され、前記周方向に沿って環状に設けられるフィルタと、
前記底板部、前記天板部、前記第1周壁部、前記支持部材、および前記フィルタで囲まれる空間に収容され、燃焼することによってガスを発生するガス発生剤と、
前記ガス発生剤を着火燃焼させる点火器とを備え、
前記第1周壁部と前記載置部および前記外壁部のうち少なくともいずれかとの接触部分、または、前記第2周壁部と前記載置部との接触部分が、溶接されていることを特徴とするガス発生器。
続きを表示(約 620 文字)
【請求項2】
前記支持部は、前記径方向において前記フィルタよりも内側まで突出し、
前記支持部材は、前記径方向における前記フィルタよりも内側において、前記支持部から前記天板部側に突出する内壁部を有し、
前記フィルタは、前記外壁部と前記内壁部とによって挟持されることを特徴とする請求項1に記載のガス発生器。
【請求項3】
前記径方向における前記内壁部の外側面は、前記底板部側に向かうに連れて前記径方向の外側に位置するように傾斜して設けられることを特徴とする請求項2に記載のガス発生器。
【請求項4】
前記第2周壁部は、前記第1周壁部と離間し、
前記支持部材は、前記第1周壁部と前記第2周壁部との間の隙間を塞ぐように設けられ、前記第1周壁部および前記第2周壁部と溶接されることを特徴とする請求項1に記載のガス発生器。
【請求項5】
前記第2周壁部と前記径方向における前記第1周壁部の外周面とは、前記支持部材よりも前記底板部側において溶接され、
前記第1周壁部を挟んで、前記第2周壁部と前記第1周壁部の前記外周面との溶接部と対向するように、前記支持部材に支持される遮熱部材を備えることを特徴とする請求項1に記載のガス発生器。
【請求項6】
前記遮熱部材は、前記径方向において前記第1周壁部と離間して設けられることを特徴とする請求項5に記載のガス発生器。
発明の詳細な説明
【技術分野】
【0001】
本発明は、車両等衝突時に乗員を保護する乗員保護装置に組み込まれるガス発生器に関し、特に、自動車等に装備されるエアバッグ装置に組み込まれるガス発生器に関する。
続きを表示(約 1,800 文字)
【背景技術】
【0002】
従来、自動車等の乗員の保護の観点から、乗員保護装置であるエアバッグ装置が普及している。エアバッグ装置は、車両等衝突時に生じる衝撃から乗員を保護する目的で装備されるものであり、車両等衝突時に瞬時にエアバッグを膨張および展開させることにより、エアバッグがクッションとなって乗員の体を受け止めるものである。
【0003】
ガス発生器には、種々の構造のものが存在するが、運転席側エアバッグ装置や助手席側エアバッグ装置等に、特に好適に利用できるガス発生器として、外径が比較的大きい短尺略円柱状のディスク型ガス発生器がある。
【0004】
ディスク型ガス発生器は、軸方向の両端が閉塞された短尺略円筒状のハウジングを有し、ハウジングの周壁部に複数のガス噴出口が設けられるとともに、ハウジングに組付けられた点火器に面するようにハウジングの内部に伝火薬が収容され、さらに当該伝火薬を囲うようにハウジングの内部にガス発生剤が充填され、当該ガス発生剤の周囲をさらに囲うようにフィルタがハウジングの内部に収容されてなるものである。
【0005】
たとえば、特許文献1には、ハウジングと、ガス発生剤が充填され、ハウジング内に設けられた燃焼室と、ガス発生剤の燃焼により発生する燃焼ガスを外部に排出するガス放出口と、燃焼ガスを濾過するフィルタ部とを備えるガス発生器が開示されている。ハウジングの上部側シェルと下部側シェルとの間には分割壁が配置されており、分割壁にフィルタ部が載置されている。
【先行技術文献】
【特許文献】
【0006】
特開2020-114698号公報
【発明の概要】
【発明が解決しようとする課題】
【0007】
ガス発生器において、フィルタは冷却及び残渣捕集の機能を有する。しかしながら、たとえば、フィルタが金属線材を巻き回して焼結したものである場合、フィルタ機能を向上させるために線材の使用量を増やし、フィルタを大きくするとガス発生器が小型軽量ではなくなってしまう。そのため、フィルタが大きくなることを抑制しつつ、ガスが確実にフィルタを通過することが望まれている。
【0008】
そこで、本発明は、このような事情に鑑みてなされたものであり、フィルタが大きくなることを抑制しつつ、ガスが確実にフィルタを通過するガス発生器を提供することを目的とする。
【課題を解決するための手段】
【0009】
(1) 本発明のガス発生器は、筒状のハウジングであって、底板部、前記底板部と対向する天板部、前記底板部の外周縁部から前記天板部側に向かって延設される第1周壁部、および前記天板部の外周縁部から前記底板部側に向かって延設されかつ複数のガス噴出口が配設される第2周壁部を有するハウジングと、前記第1周壁部の先端面に載置される載置部、前記ハウジングの径方向における前記載置部の内端部に接続されかつ前記載置部よりも前記底板部側に突出する外壁部、および前記外壁部の前記天板部側の端面よりも前記底板部側において前記外壁部から前記ハウジングの径方向の内側に突出する支持部を有し、前記ハウジングの周方向に沿って環状に設けられる支持部材と、前記天板部と前記支持部とによって挟持され、前記周方向に沿って環状に設けられるフィルタと、前記底板部、前記天板部、前記第1周壁部、前記支持部材、および前記フィルタで囲まれる空間に収容され、燃焼することによってガスを発生するガス発生剤と、前記ガス発生剤を着火燃焼させる点火器とを備え、前記第1周壁部と前記載置部および前記外壁部のうち少なくともいずれかとの接触部分、または、前記第2周壁部と前記載置部との接触部分が、溶接されていることを特徴とする。
【0010】
(2) 上記(1)のガス発生器においては、前記支持部は、前記径方向において前記フィルタよりも内側まで突出し、前記支持部材は、前記径方向における前記フィルタよりも内側において、前記支持部から前記天板部側に突出する内壁部を有し、前記フィルタは、前記外壁部と前記内壁部とによって挟持されることが好ましい。
(【0011】以降は省略されています)
この特許をJ-PlatPat(特許庁公式サイト)で参照する
関連特許
日本化薬株式会社
インク
1か月前
日本化薬株式会社
ガス発生器
1日前
日本化薬株式会社
ガス発生器
29日前
日本化薬株式会社
ガス発生器
1か月前
日本化薬株式会社
ガス発生器
1か月前
日本化薬株式会社
ガス発生器
1か月前
日本化薬株式会社
インク組成物
1か月前
日本化薬株式会社
防護システム
1か月前
日本化薬株式会社
前処理組成物
28日前
日本化薬株式会社
メタノール改質触媒
1か月前
日本化薬株式会社
インク組成物及び捺染方法
28日前
日本化薬株式会社
ガス発生器及びエアバッグ装置
1か月前
日本化薬株式会社
ガス発生器およびその製造方法
1か月前
日本化薬株式会社
プリテンショナー用ガス発生装置
1か月前
日本化薬株式会社
直鎖ブテン製造用触媒及びその使用
8日前
日本化薬株式会社
ガス発生器およびガス発生器の製造方法
2か月前
日本化薬株式会社
インクジェットインク印刷物の製造方法。
1か月前
日本化薬株式会社
安全装置、および、安全装置を備えた飛行体
2か月前
日本化薬株式会社
アクチュエータ、安全装置、および、飛行体
23日前
日本化薬株式会社
インクジェット記録装置用水系顔料インクセット
1か月前
日本化薬株式会社
メタクロレイン及び/又はメタクリル酸の製造用触媒
28日前
日本化薬株式会社
アントラキノン化合物を含有する液晶組成物及び調光素子
1か月前
日本化薬株式会社
アントラキノン化合物を含有する液晶組成物及び調光素子
1か月前
日本化薬株式会社
アントラキノン化合物を含有する液晶組成物及び調光素子
1か月前
日本化薬株式会社
アントラキノン化合物を含有する液晶組成物及び調光素子
1か月前
日本化薬株式会社
アントラキノン化合物を含有する液晶組成物及び調光素子
1か月前
日本化薬株式会社
画像表示システム及びヘッドアップディスプレイシステム
24日前
日本化薬株式会社
アントラキノン化合物を含有する液晶組成物及び調光素子
1か月前
日本化薬株式会社
アントラキノン化合物を含有する液晶組成物及び調光素子
1か月前
日本化薬株式会社
ガス発生器
1か月前
日本化薬株式会社
硬化性高分子化合物、該化合物を含む樹脂組成物、及び硬化物
1か月前
日本化薬株式会社
インクジェット捺染用白色顔料インク組成物、及びインクセット
24日前
日本化薬株式会社
水系インク組成物、水系インクセット及びインクジェット記録方法
1か月前
日本化薬株式会社
インクジェット用インク、インクセット、インクジェット記録方法
24日前
日本化薬株式会社
液晶滴下工法用液晶シール剤の製造方法、及び液晶表示パネルの製造方法
29日前
国立大学法人北海道大学
触媒及びそれを用いた不飽和カルボン酸の製造方法
29日前
続きを見る
他の特許を見る