TOP
|
特許
|
意匠
|
商標
特許ウォッチ
Twitter
他の特許を見る
10個以上の画像は省略されています。
公開番号
2025166291
公報種別
公開特許公報(A)
公開日
2025-11-06
出願番号
2024070192
出願日
2024-04-24
発明の名称
車載装置
出願人
株式会社ヨコオ
代理人
個人
,
個人
主分類
B60R
11/02 20060101AFI20251029BHJP(車両一般)
要約
【課題】係止構造で保持した部品の脱落を抑制可能な車載装置を提供する。
【解決手段】ベースと、前記ベースとともに収容空間を形成するケースと、前記収容空間内に少なくとも一部が位置する部品と、を備え、前記ベース及び前記ケースの一方は、前記部品を保持する係止部を有し、前記ベース及び前記ケースの他方は、前記部品から外れる方向に前記係止部が弾性変形することを抑制する抑制部を有する、車載装置。
【選択図】図12
特許請求の範囲
【請求項1】
ベースと、
前記ベースとともに収容空間を形成するケースと、
前記収容空間内に少なくとも一部が位置する部品と、を備え、
前記ベース及び前記ケースの一方は、前記部品を保持する係止部を有し、
前記ベース及び前記ケースの他方は、前記部品から外れる方向に前記係止部が弾性変形することを抑制する抑制部を有する、車載装置。
続きを表示(約 190 文字)
【請求項2】
前記ベースは、前記係止部を有する絶縁ベースであり、
前記部品は、導電ベースである、請求項1に記載の車載装置。
【請求項3】
前記導電ベースは、前記車載装置を車両に取り付けるねじ部を有する、請求項2に記載の車載装置。
【請求項4】
前記ケースが前記係止部を有し、
前記部品は基板である、請求項1に記載の車載装置。
発明の詳細な説明
【技術分野】
【0001】
本発明は、車載装置に関する。
続きを表示(約 1,600 文字)
【背景技術】
【0002】
下記特許文献1は、車載装置であるアンテナ装置を開示する。このアンテナ装置は金属製のベースを備える。
【先行技術文献】
【特許文献】
【0003】
特許第6856702号公報
【発明の概要】
【発明が解決しようとする課題】
【0004】
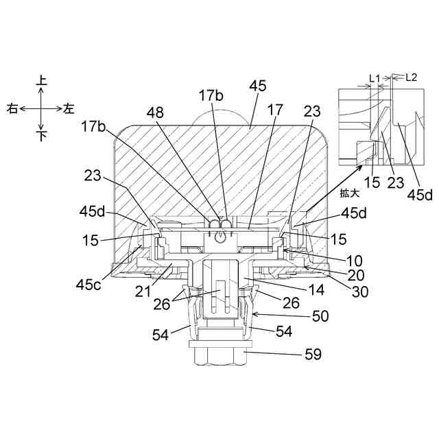
車載装置の軽量化やコスト低減などの観点から、金属製のベースを、金属製のベースと樹脂製のベースとで構成するアンテナ装置がある。また、部品保持構造に関し、スナップフィット等の係止構造での保持は、ねじの削減に有効である。一方、製品落下の衝撃や、車両走行時の振動・衝撃等で係止構造が開き、部品が脱落する可能性がある。
【0005】
本発明の目的の一例は、係止構造で保持した部品の脱落を抑制可能な車載装置を提供することである。本発明の他の目的は、本明細書の記載から明らかになるであろう。
【課題を解決するための手段】
【0006】
本発明の一態様は、ベースと、前記ベースとともに収容空間を形成するケースと、前記収容空間内に少なくとも一部が位置する部品と、を備え、前記ベース及び前記ケースの一方は、前記部品を保持する係止部を有し、前記ベース及び前記ケースの他方は、前記部品から外れる方向に前記係止部が弾性変形することを抑制する抑制部を有する、車載装置である。
【0007】
本発明の上記態様によれば、係止構造で保持した部品の脱落を抑制可能な車載装置を提供することができる。
【図面の簡単な説明】
【0008】
実施形態1に係る車載装置1と取付先面100とを示す上方斜視図である。
車載装置1の下方斜視図である。
車載装置1の分解上方斜視図である。
車載装置1の分解下方斜視図である。
車載装置1の組立て過程の一部を示す斜視図である。
導電ベース10を絶縁ベース20に載置した状態の斜視図である。
導電ベース10を絶縁ベース20に保持した状態の斜視図である。
図7の状態を上方から見た図である。
図5の状態を図8のA-A断面に相当する断面で示す図である。
図6の状態を図8のA-A断面に相当する断面で示す図である。
図8のA-A断面図である。
図11の状態においてケース45を組み付けた状態の断面図である。
図12の状態においてボルト59を締め付けた状態の断面図である。
実施形態2に係る車載装置1Aの断面図であり、実施形態1のA-A断面に対応する切断面における断面図である。
車載装置1Aの組立て過程の一部を示す斜視図である。
基板17をケース145に保持した状態を示す斜視図である。
【発明を実施するための形態】
【0009】
(実施形態1)
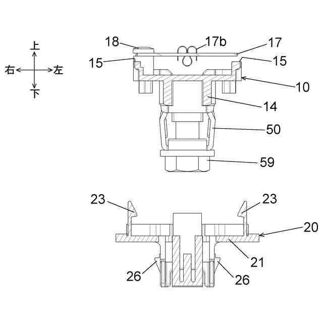
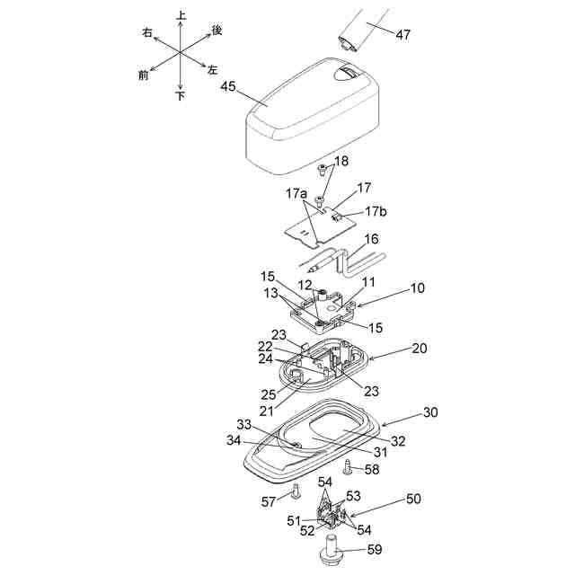
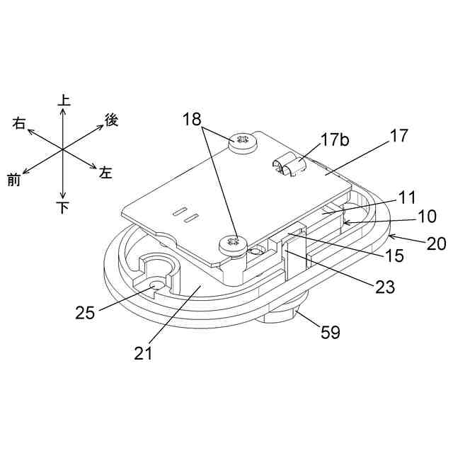
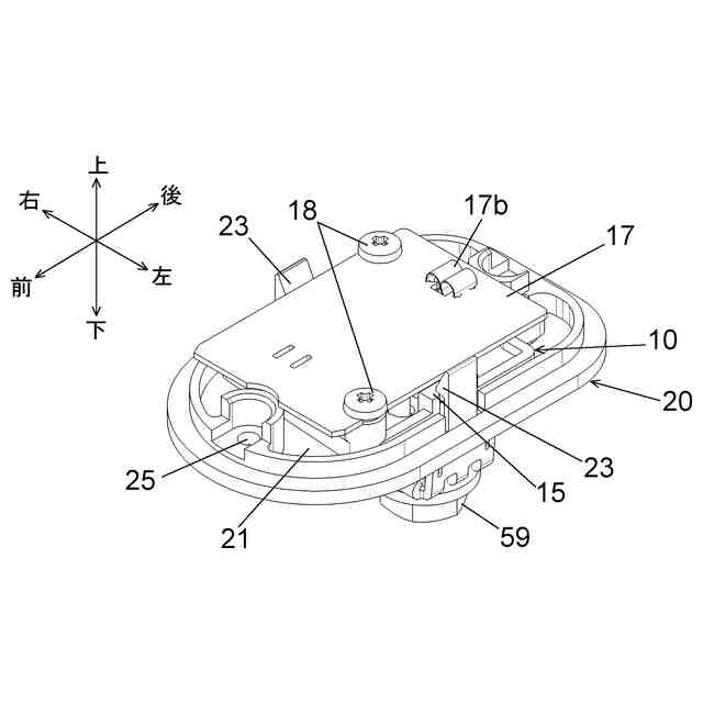
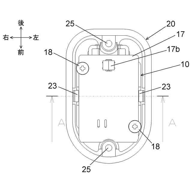
図1~図13は、実施形態1に係る車載装置1に関する。車載装置1は、アンテナ装置であり、具体的にはポールアンテナまたはマイクロアンテナである。図1に示すように、車載装置1を取り付ける取付先面100は、例えば車両のルーフあるいはボンネットである。取付先面100には、アンテナ装置1を取り付けるための貫通孔101が開口する。図1~図4等により、アンテナ装置1における互いに垂直な前後、上下、左右の各方向を定義する。前方向は、アンテナ装置1の取付先となる車両の進行方向である。上下方向は、アンテナ装置1の取付先面100と垂直な方向である。
【0010】
図1~図4に示すように、車載装置1は、導電ベース10、基板17、絶縁ベース20、パッド30、ケース45、ポール部47、ワッシャー50、及びボルト59等を備える。
(【0011】以降は省略されています)
この特許をJ-PlatPat(特許庁公式サイト)で参照する
関連特許
株式会社ヨコオ
車載装置
24日前
株式会社ヨコオ
ソケット
1か月前
株式会社ヨコオ
ソケット
1か月前
株式会社ヨコオ
シートコンタクタソケット
25日前
株式会社ヨコオ
プローブカードの位置決め装置
1か月前
株式会社ヨコオ
アンテナ装置、アンテナ装置の取付方法
18日前
株式会社ヨコオ
アンテナ
12日前
株式会社ヨコオ
アンテナ装置
1か月前
株式会社ヨコオ
アンテナ装置
2か月前
個人
タイヤレバー
4か月前
個人
前輪キャスター
3か月前
個人
上部一体型自動車
1か月前
個人
ホイルのボルト締結
5か月前
個人
タイヤ脱落防止構造
3か月前
個人
ルーフ付きトライク
3か月前
個人
空間形成装置
1か月前
個人
マスタシリンダ
2か月前
日本精機株式会社
表示装置
4か月前
個人
車両通過構造物
4か月前
日本精機株式会社
表示装置
3か月前
日本精機株式会社
表示装置
4か月前
日本精機株式会社
表示装置
4か月前
日本精機株式会社
照明装置
26日前
個人
常設収納型サンバイザー
1か月前
個人
乗合路線バスの客室装置
4か月前
個人
車両用スリップ防止装置
5か月前
個人
アクセルのソフトウェア
5か月前
株式会社ニフコ
収納装置
2か月前
株式会社豊田自動織機
産業車両
3か月前
個人
回転窓ワイパー装置
1か月前
日本精機株式会社
画像投映装置
1か月前
日本精機株式会社
車室演出装置
3か月前
日本精機株式会社
車載表示装置
1か月前
日本精機株式会社
車載表示装置
1か月前
個人
円湾曲ホイール及び球体輪
4か月前
株式会社ニフコ
保持装置
5か月前
続きを見る
他の特許を見る