TOP
|
特許
|
意匠
|
商標
特許ウォッチ
Twitter
他の特許を見る
公開番号
2025169077
公報種別
公開特許公報(A)
公開日
2025-11-12
出願番号
2024074065
出願日
2024-04-30
発明の名称
アンテナ装置、アンテナ装置の取付方法
出願人
株式会社ヨコオ
,
トヨタ自動車株式会社
代理人
弁理士法人一色国際特許事務所
主分類
H01Q
1/22 20060101AFI20251105BHJP(基本的電気素子)
要約
【課題】車両にアンテナエレメント(エレメント部)取り付けられた状態でユニットを取り外すことが可能となるアンテナ装置及びアンテナ装置の取付方法。
【解決手段】
車両の構造体に取り付けられるエレメント部と、前記エレメント部に着脱可能なユニットと、を備えるアンテナ装置。前記車両の構造体に前記エレメント部を取り付け、前記エレメント部のアンテナエレメントと、前記ユニットのリアクタンス素子と、を接続し、前記ユニットを前記車両の構造体に固定するアンテナ装置の取付方法。
【選択図】図2
特許請求の範囲
【請求項1】
車両の構造体に取り付けられるエレメント部と、
前記エレメント部に着脱可能なユニットと、
を備えるアンテナ装置。
続きを表示(約 400 文字)
【請求項2】
接続部をさらに備え、
前記エレメント部は、アンテナエレメントと、前記アンテナエレメントを保持する保持部と、を有し、
前記ユニットは、基板と、前記基板に接続されるリアクタンス素子と、前記基板及び前記リアクタンス素子を収容する筐体と、を有し、
前記接続部は、前記アンテナエレメントと前記リアクタンス素子とを接続する、
請求項1に記載のアンテナ装置。
【請求項3】
車両の構造体に取り付けられるエレメント部と、前記エレメント部に着脱可能なユニットと、を備えるアンテナ装置を車両に取り付ける取付方法であって、
前記車両の構造体に前記エレメント部を取り付け、
前記エレメント部のアンテナエレメントと、前記ユニットのリアクタンス素子を接続し、
前記ユニットを前記車両の構造体に固定する、
アンテナ装置の取付方法。
発明の詳細な説明
【技術分野】
【0001】
本発明は、アンテナ装置、及びアンテナ装置の取付方法に関する。
続きを表示(約 1,100 文字)
【背景技術】
【0002】
特許文献1には、車両に取り付けられるアンテナ装置が開示されている。
【先行技術文献】
【特許文献】
【0003】
特開2014-75649号公報
【発明の概要】
【発明が解決しようとする課題】
【0004】
特許文献1のアンテナ装置では、アンテナエレメントを含むエレメント部と、アンプ等が配置された基板を含むユニットと、が一体的に構成されている。このようなアンテナ装置では、例えばアンプ等が故障した場合、車両に取り付けられたアンテナ装置全体を取り外す必要がある。
【0005】
本発明の目的の一例は、車両にアンテナエレメント(エレメント部)が取り付けられた状態でユニットを取り外すことが可能となる。本発明の他の目的は、本明細書の記載から明らかになるであろう。
【課題を解決するための手段】
【0006】
本発明の一態様は、車両の構造体に取り付けられるエレメント部と、前記エレメント部に着脱可能なユニットと、を備えるアンテナ装置である。
【0007】
本発明の一態様は、車両の構造体に取り付けられるエレメント部と、前記エレメント部に着脱可能なユニットと、を備えるアンテナ装置を車両に取り付ける取付方法であって、前記車両の構造体に前記エレメント部を取り付け、前記エレメント部のアンテナエレメントと、前記ユニットのリアクタンス素子と、を接続し、前記ユニットを前記車両の構造体に固定する、アンテナ装置の取付方法である。
【0008】
本発明の上記態様によれば、車両にアンテナエレメント(エレメント部)が取り付けられた状態でユニットを取り外すことが可能となる。
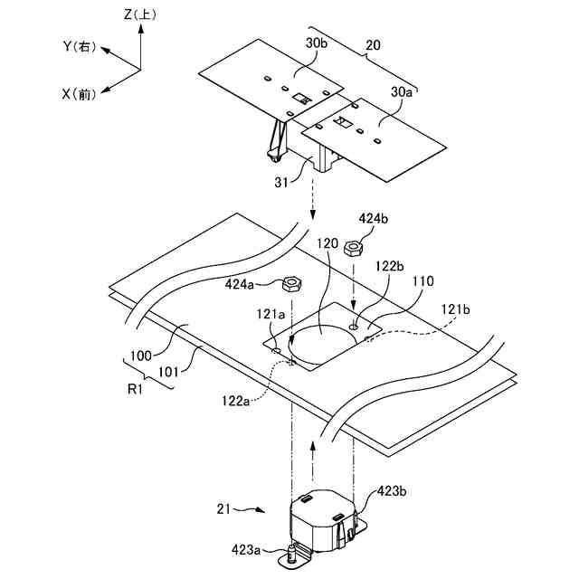
【図面の簡単な説明】
【0009】
車両Cのフレームにおけるアンテナ装置10の位置を示す図である。
アンテナ装置10の分解斜視図である。
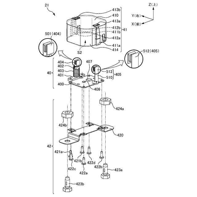
エレメント部20の分解斜視図である。
ユニット21の分解斜視図である。
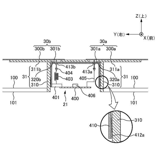
ユニット21がエレメント部20に収容される前の状態を示す模式図である。
ユニット21がエレメント部20に収容された後の状態を示す模式図である。
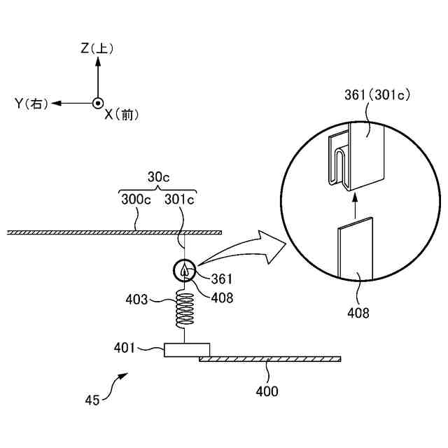
アンテナエレメント30cと、ヘリカル素子403との接続状態を説明するための模式図である。
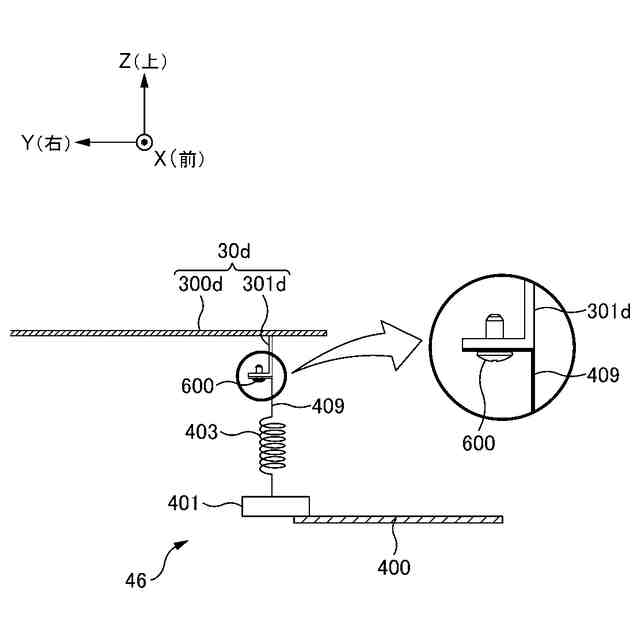
アンテナエレメント30dと、ヘリカル素子403との接続状態を説明するための模式図である。
【発明を実施するための形態】
【0010】
本明細書及び添付図面の記載により、少なくとも以下の事項が明らかとなる。
(【0011】以降は省略されています)
この特許をJ-PlatPat(特許庁公式サイト)で参照する
関連特許
株式会社ヨコオ
ソケット
2か月前
株式会社ヨコオ
車載装置
1か月前
株式会社ヨコオ
ソケット
2か月前
株式会社ヨコオ
コネクタ
3か月前
株式会社ヨコオ
コンタクタ
3か月前
株式会社ヨコオ
シートコンタクタ
3か月前
株式会社ヨコオ
加工方法、加工プログラム
3日前
株式会社ヨコオ
シートコンタクタソケット
1か月前
株式会社ヨコオ
プローブカードの位置決め装置
2か月前
株式会社ヨコオ
コンタクトプローブ及びソケット
3か月前
株式会社ヨコオ
アンテナ装置、アンテナ装置の取付方法
26日前
株式会社ヨコオ
電子キー収容ケースおよび電子キー操作装置
4か月前
株式会社ヨコオ
アンテナ
20日前
株式会社ヨコオ
アンテナ装置
1か月前
株式会社ヨコオ
アンテナ装置
2か月前
東ソー株式会社
絶縁電線
1か月前
APB株式会社
蓄電セル
1か月前
日機装株式会社
加圧装置
3日前
マクセル株式会社
電源装置
1か月前
株式会社東芝
端子台
1か月前
日新イオン機器株式会社
イオン源
3日前
ローム株式会社
半導体装置
1か月前
株式会社GSユアサ
蓄電装置
1か月前
株式会社ホロン
冷陰極電子源
1か月前
三菱電機株式会社
回路遮断器
26日前
株式会社GSユアサ
蓄電装置
1か月前
株式会社GSユアサ
蓄電装置
1か月前
富士電機株式会社
電磁接触器
18日前
株式会社GSユアサ
蓄電装置
18日前
株式会社東芝
電子源
3日前
トヨタ自動車株式会社
蓄電装置
1か月前
大電株式会社
電線又はケーブル
10日前
トヨタ自動車株式会社
蓄電装置
10日前
トヨタ自動車株式会社
バッテリ
1か月前
日本特殊陶業株式会社
保持装置
1か月前
ホシデン株式会社
複合コネクタ
12日前
続きを見る
他の特許を見る