TOP
|
特許
|
意匠
|
商標
特許ウォッチ
Twitter
他の特許を見る
10個以上の画像は省略されています。
公開番号
2025130401
公報種別
公開特許公報(A)
公開日
2025-09-08
出願番号
2024027547
出願日
2024-02-27
発明の名称
コネクタ
出願人
株式会社ヨコオ
代理人
個人
,
個人
主分類
H01R
13/24 20060101AFI20250901BHJP(基本的電気素子)
要約
【課題】コイルスプリングの巻数を減少させることなく、コイルスプリングの特性を維持しつつコイルスプリングの密着長を減少させる。
【解決手段】ピンと、前記ピンを所定方向に付勢するコイルスプリングと、を備え、前記ピンが前記所定方向と反対の方向に向けて押し込まれた状態において、前記コイルスプリングの一部が前記コイルスプリングの他の一部によって少なくとも部分的に囲まれた領域に入り込む、コネクタ。
【選択図】図6
特許請求の範囲
【請求項1】
ピンと、
前記ピンを所定方向に付勢するコイルスプリングと、
を備え、
前記ピンが前記所定方向と反対の方向に向けて押し込まれた状態において、前記コイルスプリングの一部が前記コイルスプリングの他の一部によって少なくとも部分的に囲まれた領域に入り込む、コネクタ。
続きを表示(約 110 文字)
【請求項2】
前記コイルスプリングの前記他の一部は、前記コイルスプリングの前記一部よりも、前記コイルスプリングによって囲まれた領域の外側に少なくとも部分的にずれて位置している、請求項1に記載のコネクタ。
発明の詳細な説明
【技術分野】
【0001】
本発明は、コネクタに関する。
続きを表示(約 1,600 文字)
【背景技術】
【0002】
近年、様々なコネクタが開発されている。特許文献1に記載されているように、コネクタは、チューブと、チューブに対して可動に取り付けられたピンと、ピンをチューブに対して付勢させるコイルスプリングと、を備えていることがある。
【先行技術文献】
【特許文献】
【0003】
特開2021-177446号公報
【発明の概要】
【発明が解決しようとする課題】
【0004】
コイルスプリングを構成する線材の線径等の断面寸法は、コイルスプリングのめっき等の要因によって増加することがある。線材の断面寸法の増加によって、コイルスプリングの巻部同士が互いに接触した状態のコイルスプリングの密着長が増加することがある。コイルスプリングの巻数を減少させることで、コイルスプリングの密着長を減少させることができる。しかしながら、コイルスプリングの応力や荷重等の特性を維持しつつコイルスプリングの巻数を減少させるとコイルスプリングの耐久性が減少することがある。
【0005】
本発明の目的の一例は、コイルスプリングの巻数を減少させることなく、コイルスプリングの特性を維持しつつコイルスプリングの密着長を減少させることにある。本発明の他の目的は、本明細書の記載から明らかになるであろう。
【課題を解決するための手段】
【0006】
本発明の一態様は、
ピンと、
前記ピンを所定方向に付勢するコイルスプリングと、
を備え、
前記ピンが前記所定方向と反対の方向に向けて押し込まれた状態において、前記コイルスプリングの一部が前記コイルスプリングの他の一部によって少なくとも部分的に囲まれた領域に入り込む、コネクタである。
【0007】
本発明の上記態様によれば、コイルスプリングの巻数を減少させることなく、コイルスプリングの特性を維持しつつコイルスプリングの密着長を減少させることができる。
【図面の簡単な説明】
【0008】
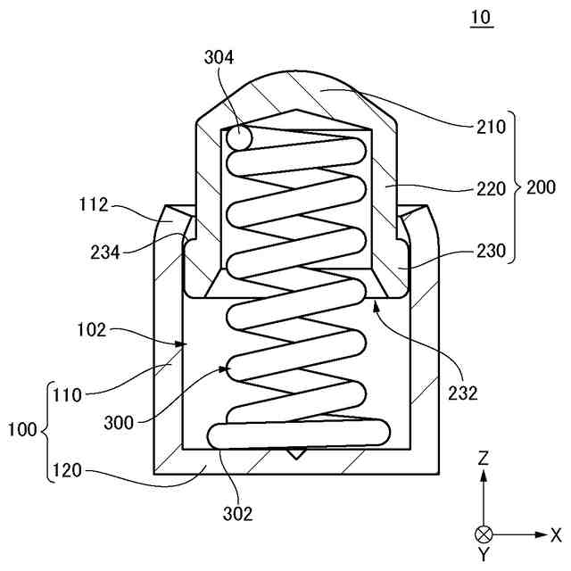
実施形態に係るコネクタの断面図である。
図1に示したコイルスプリングの側面図である。
ピンがチューブに向けて押し込まれた状態における実施形態に係るコネクタの断面図である。
図3に示したコイルスプリングの側面図である。
ピンがチューブに向けて図3に示したピンよりもさらに押し込まれた状態における実施形態に係るコイルスプリングの側面図である。
図5に示したコイルスプリングの側面図である。
コイルスプリングの巻数の減少によってコイルスプリングの耐久性が減少する理由を説明するためのグラフである。
変形例1に係るコイルスプリングの動作を説明するための図である。
変形例1に係るコイルスプリングの動作を説明するための図である。
変形例1に係るコイルスプリングの動作を説明するための図である。
変形例2に係るコイルスプリングの動作を説明するための図である。
変形例2に係るコイルスプリングの動作を説明するための図である。
変形例2に係るコイルスプリングの動作を説明するための図である。
変形例3に係るコネクタの断面図である。
【発明を実施するための形態】
【0009】
以下、本発明の実施形態及び変形例について、図面を用いて説明する。すべての図面において、同様な構成要素には同様の符号を付し、適宜説明を省略する。
【0010】
図1は、実施形態に係るコネクタ10の断面図である。図2は、図1に示したコイルスプリング300の側面図である。
(【0011】以降は省略されています)
この特許をJ-PlatPat(特許庁公式サイト)で参照する
関連特許
株式会社ヨコオ
コネクタ
1日前
株式会社ヨコオ
加工方法、加工プログラム
7日前
株式会社ヨコオ
アンテナ装置、アンテナ装置の取付方法
1か月前
株式会社ヨコオ
アンテナ
24日前
個人
三重コイル変圧器
2日前
日機装株式会社
加圧装置
7日前
ローム株式会社
半導体装置
2日前
ローム株式会社
半導体装置
1日前
日新イオン機器株式会社
イオン源
7日前
株式会社トクミ
ケーブル
8日前
個人
電源ボックス及び電子機器
7日前
トヨタ自動車株式会社
蓄電装置
14日前
株式会社東芝
電子源
7日前
大電株式会社
電線又はケーブル
14日前
株式会社ヨコオ
コネクタ
1日前
日本特殊陶業株式会社
保持装置
2日前
ローム株式会社
半導体装置
1日前
矢崎総業株式会社
バスバー
3日前
住友電装株式会社
コネクタ
2日前
日本航空電子工業株式会社
コネクタ
7日前
三菱電機株式会社
半導体装置
7日前
株式会社半導体エネルギー研究所
二次電池
1日前
日本特殊陶業株式会社
アンテナ装置
9日前
トヨタ自動車株式会社
蓄電装置構造
8日前
日本特殊陶業株式会社
アンテナ装置
9日前
株式会社パロマ
監視システム
14日前
矢崎総業株式会社
端子
14日前
日本特殊陶業株式会社
アンテナ装置
9日前
TDK株式会社
電子部品
9日前
株式会社興電舎
励磁突入電流抑制方法
7日前
矢崎総業株式会社
バスバー電線
15日前
株式会社ダイヘン
電圧調整装置
9日前
矢崎総業株式会社
バスバー電線
15日前
矢崎総業株式会社
コネクタ
8日前
矢崎総業株式会社
コネクタ
8日前
住友電気工業株式会社
半導体装置
8日前
続きを見る
他の特許を見る