TOP
|
特許
|
意匠
|
商標
特許ウォッチ
Twitter
他の特許を見る
10個以上の画像は省略されています。
公開番号
2025181435
公報種別
公開特許公報(A)
公開日
2025-12-11
出願番号
2024089412
出願日
2024-05-31
発明の名称
半導体装置
出願人
ローム株式会社
代理人
個人
,
個人
主分類
H01L
21/60 20060101AFI20251204BHJP(基本的電気素子)
要約
【課題】パッドからワイヤが外れることを抑制すること。
【解決手段】半導体装置1は、素子表面11と、素子表面11とは反対側の素子裏面12と、を備える半導体素子10と、素子表面11に配置されているソースパッド22Pと、ソースパッド22P上に積層された第1導電層201と、第1導電層201上に積層され、Niを含みかつ少なくとも一部が露出した第2導電層202と、第2導電層202に接合され、Alによって構成されたワイヤ142と、を含む。半導体素子10は、厚みが100μm以下である。第2導電層202は、第1導電層201よりも硬い材料から構成されている。
【選択図】図6
特許請求の範囲
【請求項1】
素子表面と、前記素子表面とは反対側の素子裏面と、を備える半導体素子と、
前記素子表面に配置されているパッドと、
前記パッド上に積層された第1導電層と、
前記第1導電層上に積層され、Niを含みかつ少なくとも一部が露出した第2導電層と、
前記第2導電層に接合され、Alによって構成されたワイヤと、
を含み、
前記半導体素子は、厚みが100μm以下であり、
前記第2導電層は、前記第1導電層よりも硬い材料によって構成される
半導体装置。
続きを表示(約 930 文字)
【請求項2】
前記第1導電層は、Tiを含む材料で構成されている
請求項1に記載の半導体装置。
【請求項3】
前記第2導電層の厚さは、前記第1導電層の厚さより厚い
請求項1または2に記載の半導体装置。
【請求項4】
前記第1導電層の厚さは、前記第2導電層の厚さよりも厚い
請求項1または2に記載の半導体装置。
【請求項5】
前記ワイヤの線径は400μmより大きい
請求項1または2に記載の半導体装置。
【請求項6】
前記ワイヤの線径は500μm以上である
請求項1または2に記載の半導体装置。
【請求項7】
前記半導体素子の厚みは、60μm以下である
請求項6に記載の半導体装置。
【請求項8】
素子表面と、前記素子表面とは反対側の素子裏面と、を備える半導体素子と、
前記素子表面に配置されているパッドと、
前記パッド上に積層された第1導電層と、
前記第1導電層上に積層され、Niを含みかつ少なくとも一部が露出した第2導電層と、
前記第2導電層に接合され、Alによって構成されたワイヤと、
前記素子裏面に配置された電極積層体と、
を含み、
前記半導体素子は、厚みが100μm以下であり、
前記第2導電層は、前記第1導電層よりも硬い材料によって構成され、
前記電極積層体は、
前記素子裏面に配置されたAlSiを含む第3導電層と、
前記第3導電層に積層されたTiを含む第4導電層と、
前記第4導電層に積層されたNiを含む第5導電層と、
前記第5導電層に積層されたAuを含む第6導電層と、
を含む
半導体装置。
【請求項9】
前記第1導電層は、Tiを含む材料で構成される
請求項8に記載の半導体装置。
【請求項10】
前記第2導電層の厚さは、前記第1導電層の厚さより厚い
請求項8または9に記載の半導体装置。
(【請求項11】以降は省略されています)
発明の詳細な説明
【技術分野】
【0001】
本開示は、半導体装置に関する。
続きを表示(約 2,300 文字)
【背景技術】
【0002】
特許文献1には、電極パッド部を有する半導体素子を備えた半導体装置について記載されている。
【先行技術文献】
【特許文献】
【0003】
特開2022-154006号公報
【0004】
[概要]
例えば、パッドにワイヤを接合する場合、その荷重などによってワイヤが外れてしまう場合があり得る。
【0005】
本開示の一態様の半導体装置は、素子表面と、前記素子表面とは反対側の素子裏面と、を備える半導体素子と、前記素子表面に配置されているパッドと、前記パッド上に積層された第1導電層と、前記第1導電層上に積層され、Niを含みかつ少なくとも一部が露出した第2導電層と、前記第2導電層に接合され、Alによって構成されたワイヤと、を含み、前記半導体素子は、厚みが100μm以下であり、前記第2導電層は、前記第1導電層よりも硬い材料によって構成される。
【図面の簡単な説明】
【0006】
図1は、第1実施形態に係る半導体装置を示す概略斜視図である。
図2は、図1の半導体装置を裏面側から視た概略斜視図である。
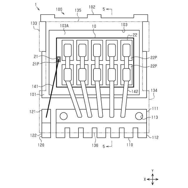
図3は、図1の半導体装置の内部を示す概略平面図である。
図4は、図1の半導体装置における半導体素子の概略平面図である。
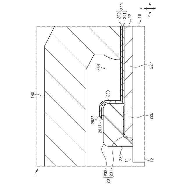
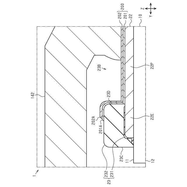
図5は、図3の5-5線で半導体装置を切断した概略断面図である。
図6は、図5のワイヤボンディング部の一部およびその周辺を拡大した概略断面図である。
図7は、第1実施形態に係る例示的な半導体装置の製造工程を説明するための概略断面図である。
図8は、図7に示す工程に続く工程の概略断面図である。
図9は、図8に示す工程に続く工程の概略断面図である。
図10は、図9に示す工程に続く工程の概略断面図である。
図11は、図10に示す工程に続く工程の概略断面図である。
図12は、図11に示す工程に続く工程の概略断面図である。
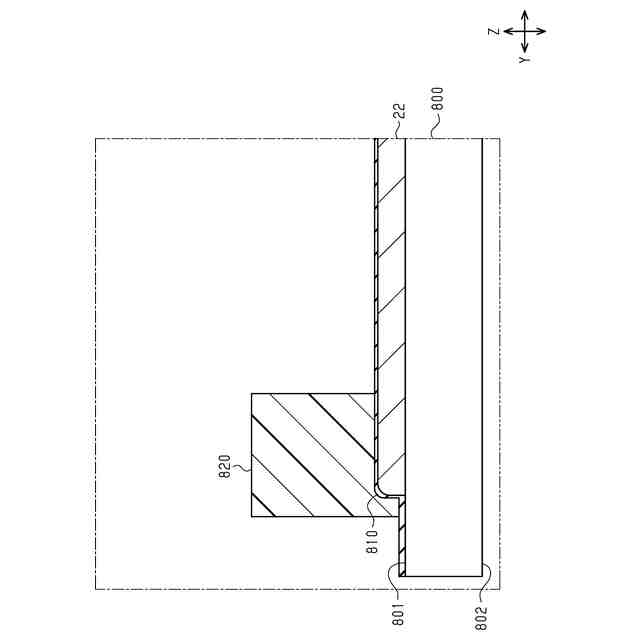
図13は、比較例におけるソースパッドにワイヤを接続する超音波および荷重が印加された場合を示す概略断面図である。
図14は、比較例におけるソースパッドとワイヤの接合部との接触部分にダメージ層が形成される場合の概略断面図である。
図15は、図14のソースパッドに接合されたワイヤに対する引張試験の説明図である。
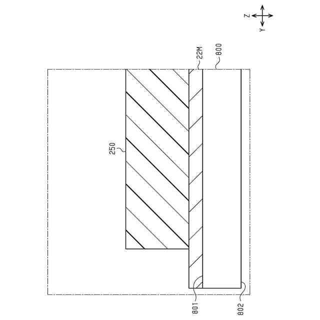
図16は、表面側に第1導電層および第2導電層を配置したソースパッド上のワイヤに超音波および荷重が印加された場合を示す概略断面図である。
図17は、ソースパッドとワイヤの接合部との接触部分にダメージ層が形成されることを抑制できた場合の概略断面図である。
図18は、第2実施形態に係る半導体装置のワイヤボンディング部の一部およびその周辺を拡大した概略断面図である。
図19は、第2実施形態に係る例示的な半導体装置の製造工程を説明するための概略断面図である。
図20は、図19に示す工程に続く工程の概略断面図である。
図21は、比較例における導電性接合材にボイドが発生した状態で、ソースパッドにワイヤを接続する超音波および荷重が印加された場合を示す概略断面図である。
図22は、図21のソースパッドに接合されたワイヤに対する引張試験の説明図である。
図23は、第3実施形態に係る半導体装置におけるワイヤボンディング部の一部およびその周辺を拡大した概略断面図である。
図24は、変更例に係る半導体装置のワイヤボンディング部の一部およびその周辺を拡大した概略断面図である。
図25は、変更例に係る半導体装置における半導体素子の概略平面図である。
図26は、変更例に係る半導体装置の内部を示す概略平面図である。
【0007】
[詳細な説明]
以下、半導体装置の各実施形態について図面を参照して説明する。以下に示す各実施形態は、技術的思想を具体化するための構成や方法を例示するものであって、各構成部品の材質、形状、構造、配置、寸法等を下記のものに限定するものではない。以下の各実施形態は、種々の変更を加えることができる。
【0008】
本明細書において、「部材Aが部材Bと接続された状態」とは、部材Aと部材Bとが物理的に直接的に接続される場合、並びに、部材Aおよび部材Bが、電気的な接続状態に影響を及ぼさない他の部材を介して間接的に接続される場合を含む。
【0009】
本明細書における「第1」、「第2」、「第3」等の用語は、単にラベルとして用いたものであり、必ずしもそれらの対象物に順列を付することを意図していない。
なお、説明を簡単かつ明確にするために、図面に示される構成要素は必ずしも一定の縮尺で描かれていない。また、理解を容易にするために、断面図では、ハッチング線が省略されている場合がある。添付の図面は、本開示の実施形態を例示するに過ぎず、本開示を制限するものとみなされるべきではない。
【0010】
<第1実施形態>
[半導体装置のパッケージ構造]
図1および図2を参照して、第1実施形態に係る半導体装置のパッケージ構造について説明する。図1は、第1実施形態に係る半導体装置のパッケージ構造の斜視構造を模式的に示している。図2は、図1の半導体装置の裏面側のパッケージ構造の斜視構造を模式的に示している。なお、図1では、パッケージ内部の構造を破線で模式的に示している。
(【0011】以降は省略されています)
この特許をJ-PlatPat(特許庁公式サイト)で参照する
関連特許
ローム株式会社
半導体装置
今日
ローム株式会社
半導体装置
今日
ローム株式会社
半導体装置
1日前
ローム株式会社
半導体集積回路
今日
ローム株式会社
半導体集積回路
今日
ローム株式会社
半導体装置および車両
今日
ローム株式会社
整流回路およびAC/DCコンバータ
2日前
ローム株式会社
整流回路およびAC/DCコンバータ
2日前
ローム株式会社
整流回路およびAC/DCコンバータ
2日前
ローム株式会社
イグナイタおよび内燃機関点火システム
2日前
ローム株式会社
モータドライバ回路およびサーバー冷却システム
今日
ローム株式会社
半導体装置
6日前
ローム株式会社
半導体装置
6日前
ローム株式会社
半導体装置
今日
ローム株式会社
トランスデューサ、共振器、発振器及びトランスデューサの製造方法
6日前
ローム株式会社
窒化物半導体装置、半導体モジュール、および窒化物半導体装置の製造方法
今日
ローム株式会社
相互コンダクタンスアンプ、コントローラ回路およびそれを備えるDC/DCコンバータ
今日
個人
三重コイル変圧器
1日前
日機装株式会社
加圧装置
6日前
ローム株式会社
半導体装置
今日
マクセル株式会社
電源装置
1か月前
ローム株式会社
半導体装置
1日前
株式会社東芝
端子台
1か月前
日新イオン機器株式会社
イオン源
6日前
株式会社GSユアサ
蓄電装置
21日前
株式会社GSユアサ
蓄電装置
1か月前
富士電機株式会社
電磁接触器
21日前
株式会社GSユアサ
蓄電装置
1か月前
三菱電機株式会社
回路遮断器
29日前
株式会社GSユアサ
蓄電装置
1か月前
株式会社トクミ
ケーブル
7日前
日新イオン機器株式会社
基板処理装置
1か月前
日本特殊陶業株式会社
保持装置
1か月前
トヨタ自動車株式会社
蓄電装置
13日前
株式会社東芝
電子源
6日前
大電株式会社
電線又はケーブル
13日前
続きを見る
他の特許を見る