TOP
|
特許
|
意匠
|
商標
特許ウォッチ
Twitter
他の特許を見る
10個以上の画像は省略されています。
公開番号
2025178453
公報種別
公開特許公報(A)
公開日
2025-12-05
出願番号
2025165572,2025010091
出願日
2025-10-01,2019-12-03
発明の名称
半導体装置
出願人
ローム株式会社
代理人
個人
,
個人
主分類
H01L
23/12 20060101AFI20251128BHJP(基本的電気素子)
要約
【課題】 半導体素子の複数の電極と、複数の配線との接合部における位置ずれを抑制することが可能な半導体装置を提供する。
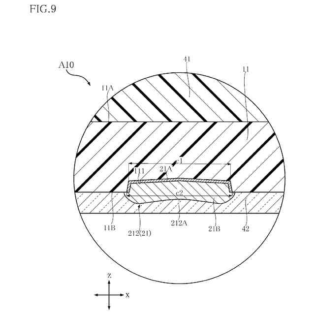
【解決手段】 半導体装置A10は、第1絶縁層11と、各々が第1再配線部212を有する複数の第1配線21と、複数の電極を有する半導体素子と、前記半導体素子を覆う封止樹脂41と、複数の端子とを備える。第1絶縁層11は、第2面11Bから凹む複数の第1溝111を有する。第1再配線部212は、複数の第1溝111のいずれかに接する下地層21Aと、下地層21Aを覆うめっき層21Bとを有する。めっき層21Bは、凹部212Aを有するとともに、第2面11Bから突出している。第1再配線部212は、自身が延びる方向に対して直交する方向に互いに離れた2つの端縁を有する。凹部212Aは、前記2つの端縁から離れている。厚さ方向zに視て、前記2つの端縁は、下地層21Aよりも外方に位置する。
【選択図】 図9
特許請求の範囲
【請求項1】
第1方向において互いに反対側を向く素子主面および素子裏面と、前記素子主面に形成された第1電極および制御電極と、前記素子裏面に形成された第2電極と、を有する半導体素子と、
前記素子主面に対向する第1面を有する第1絶縁層と、
前記第1電極に電気的に接続されており、かつ前記第1絶縁層に少なくとも一部が埋め込まれた第1埋込部と、前記第1埋込部につながる第1再配線部と、を有する第1配線と、
前記制御電極に電気的に接続されており、かつ前記第1絶縁層に少なくとも一部が埋め込まれた第2埋込部と、前記第2埋込部につながる第2再配線部と、を有する第2配線と、
前記第2電極に導通しており、かつ前記第1絶縁層に少なくとも一部が埋め込まれた第3埋込部と、前記第3埋込部につながる第3再配線部と、を有する第3配線と、を備え、
前記第1方向と、前記第1方向に対して直交する第2方向と、を面内方向とする断面において、前記第3再配線部の前記第2方向の寸法は、前記第2再配線部の前記第2方向の寸法より大きい、半導体装置。
続きを表示(約 1,000 文字)
【請求項2】
前記第1方向に視て、前記第1再配線部および前記第3再配線部の少なくともいずれかは、前記半導体素子より外方に位置する部分を含む、請求項1に記載の半導体装置。
【請求項3】
前記第1方向において前記半導体素子を基準として前記第1絶縁層とは反対側に位置する放熱部材をさらに備え、
前記第2電極は、前記放熱部材を介して前記第3埋込部に導通している、請求項2に記載の半導体装置。
【請求項4】
前記放熱部材の前記第1方向の寸法は、前記半導体素子の前記第1方向の寸法より大きい、請求項3に記載の半導体装置。
【請求項5】
前記第1面に積層された第2絶縁層をさらに備える、請求項3または4に記載の半導体装置。
【請求項6】
前記放熱部材の少なくとも一部は、前記第2絶縁層に覆われており、
前記第1方向に視て、前記第2絶縁層は、前記半導体素子および前記放熱部材の各々より外方に位置する部分を含む、請求項5に記載の半導体装置。
【請求項7】
前記放熱部材は、前記第1方向において前記素子裏面と同じ側を向く露出面を有し、
前記露出面は、前記第2絶縁層から露出しており、
前記第1方向に視て、前記半導体素子の全体が前記露出面に重なっている、請求項6に記載の半導体装置。
【請求項8】
前記第1方向に視て、前記第1再配線部および前記第3再配線部の各々は、前記放熱部材より外方に位置する部分を含む、請求項7に記載の半導体装置。
【請求項9】
前記第1方向および前記第2方向を面内方向とする断面において、前記第1電極の前記第2方向の寸法は、前記制御電極の前記第2方向の寸法より大きい、請求項1ないし8のいずれかに記載の半導体装置。
【請求項10】
前記第1絶縁層は、前記第1方向において前記第1面とは反対側を向く第2面と、前記第2面から凹む複数の溝が設けられており、
前記第1再配線部、前記第2再配線部および前記第3再配線部の各々は、前記複数の溝に個別に収容された第1部と、前記第1部につながり、かつ前記第2面から突出する第2部と、を有し、
前記第2部は、前記第2面に接している、請求項1ないし9のいずれかに記載の半導体装置。
発明の詳細な説明
【技術分野】
【0001】
本開示は、半導体装置に関する。
続きを表示(約 3,100 文字)
【背景技術】
【0002】
近年における電子機器の小型化に伴い、当該電子機器に用いられる半導体装置の小型化が進められている。こうした動向を受け、いわゆるFan-Out型の半導体装置が知られている。当該半導体装置は、複数の電極を有する半導体素子と、半導体素子に接する絶縁層と、絶縁層に配置され、かつ複数の電極につながる複数の配線と、絶縁層に接し、かつ前記半導体素子の一部を覆う封止樹脂とを備える。厚さ方向に視て、複数の配線は、半導体素子よりも外方に位置する部分を含む。これにより、半導体装置の小型化を図りつつ、当該半導体装置が実装される配線基板の配線パターンの形状に柔軟に対応できるという利点を有する。
【0003】
特許文献1には、Fan-Out型の半導体装置の製造方法の一例が開示されている。当該製造方法は、複数の電極を有する半導体素子を封止樹脂(特許文献1では硬化体)に埋め込む工程と、半導体素子および封止樹脂の双方に接する絶縁層(特許文献1はバッファーコート膜)を形成する工程と、複数の電極につながる複数の配線を形成する工程とを含む。半導体素子を封止樹脂に埋め込む工程では、複数の電極が封止樹脂から露出するようにする。絶縁層を形成する工程では、マスクを用いたフォトリソグラフィパターニングにより複数の電極が露出するように絶縁層に複数の開口を形成する。複数の配線を形成する工程では、絶縁層の複数の開口と、絶縁層の上とにめっき層を形成する。
【0004】
封止樹脂に半導体素子を埋め込む工程の際、封止樹脂が硬化収縮するため、半導体素子に変位が生じる。この状態で絶縁層に複数の開口を形成すると、複数の開口と、複数の電極との位置にずれが生じる。この場合において複数の配線を形成すると、複数の電極と、複数の配線との接合部における位置ずれが生じてしまう。したがって、半導体装置の信頼性をより向上させるために、このずれを抑制することが望まれる。
【先行技術文献】
【特許文献】
【0005】
特開2016-89081号公報
【発明の概要】
【発明が解決しようとする課題】
【0006】
本開示は上述の事情に鑑み、半導体素子の複数の電極と、複数の配線との接合部における位置ずれを抑制することが可能な半導体装置を提供することをその課題とする。
【課題を解決するための手段】
【0007】
本開示の第1の側面によって提供される半導体装置は、厚さ方向において互いに反対側を向く第1面および第2面を有する第1絶縁層と、前記第1絶縁層に少なくとも一部が埋め込まれた第1埋込部、および前記第2面に配置され、かつ前記第1埋込部につながる第1再配線部を有する複数の第1配線と、前記第1面の近傍に設けられ、かつ前記複数の第1配線の前記第1埋込部の少なくとも一部につながる複数の電極を有するとともに、前記第1面に接する半導体素子と、前記第1面に接し、かつ前記半導体素子の一部を覆う封止樹脂と、を備え、前記厚さ方向に視て、前記複数の第1配線の前記第1再配線部は、前記半導体素子よりも外方に位置する部分を含み、前記第1絶縁層は、前記第2面から前記厚さ方向に向けて凹む複数の第1溝を有し、前記複数の第1配線の前記第1再配線部は、前
記複数の第1溝に接している。
【0008】
本開示の第2の側面によって提供される半導体装置の製造方法は、厚さ方向のいずれかの側に設けられた複数の電極を有する半導体素子を、前記複数の電極が露出するように封止樹脂に埋め込む工程と、前記封止樹脂に積層され、かつ前記複数の電極を覆う絶縁層を形成する工程と、前記絶縁層に埋め込まれ、かつ前記複数の電極のいずれかにつながる埋込部、および前記絶縁層の上に配置され、かつ前記埋込部につながる再配線部を有する複数の配線を形成する工程と、を備え、前記絶縁層は、熱硬化性の合成樹脂、および前記複数の配線の一部を組成する金属元素が含有された添加剤を含む材料からなり、前記複数の配線を形成する工程は、前記複数の電極の位置を画像認識しつつ、前記複数の電極を露出させる複数の孔と、前記絶縁層の表面から凹み、かつ前記複数の孔につながる複数の溝をレーザにより前記絶縁層に形成することにより、前記複数の孔の各々を規定する壁面と、前記複数の溝と、を覆う下地層を析出させる工程と、前記下地層を覆うめっき層を形成する工程と、を含む。
【0009】
本開示のその他の特徴および利点は、添付図面に基づき以下に行う詳細な説明によって、より明らかとなろう。
【図面の簡単な説明】
【0010】
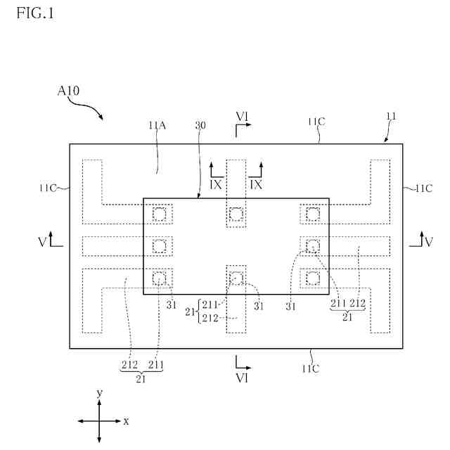
本開示の第1実施形態にかかる半導体装置の平面図であり、封止樹脂を透過している。
図1に対して半導体素子をさらに透過した平面図である。
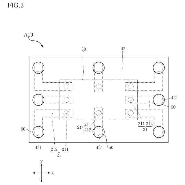
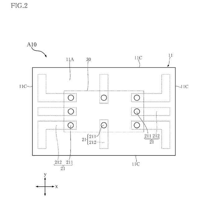
図1に示す半導体装置の底面図である。
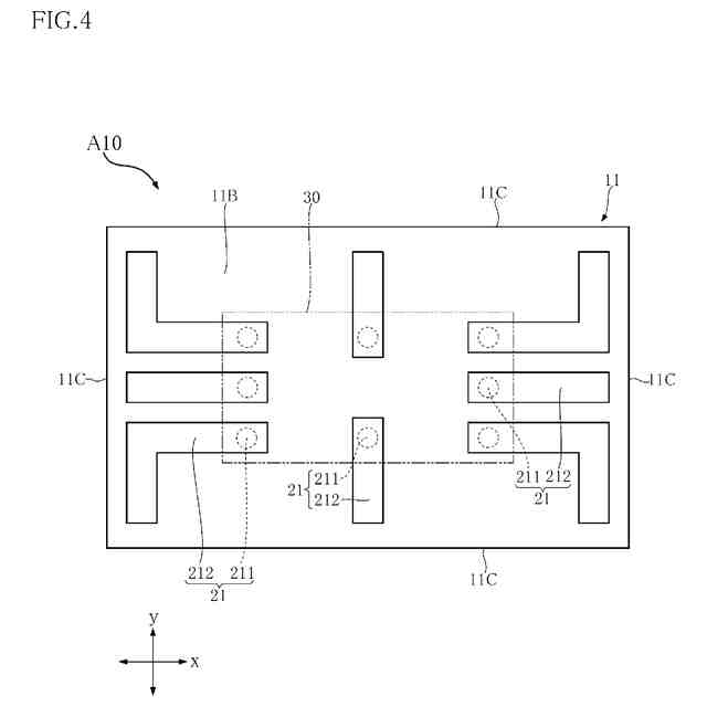
図3に対応する底面図であり、保護層、および複数の端子を透過している。
図1のV-V線に沿う断面図である。
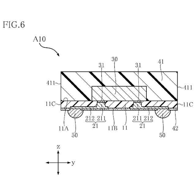
図1のVI-VI線に沿う断面図である。
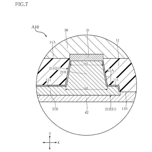
図5の部分拡大図である。
図5の部分拡大図である。
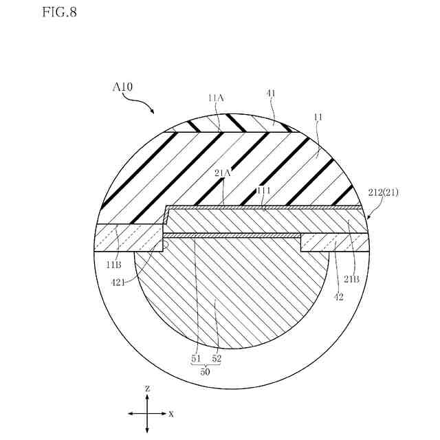
図1のIX-IX線に沿う部分拡大断面図である。
図1に示す半導体装置の製造工程を説明する断面図である。
図1に示す半導体装置の製造工程を説明する断面図である。
図1に示す半導体装置の製造工程を説明する断面図である。
図12の部分拡大図である。
図1に示す半導体装置の製造工程を説明する断面図である。
図14の部分拡大図である。
図1に示す半導体装置の製造工程を説明する断面図である。
図1に示す半導体装置の製造工程を説明する断面図である。
図1に示す半導体装置の製造工程を説明する断面図である。
本開示の第2実施形態にかかる半導体装置の平面図であり、封止樹脂を透過している。
図19に対応する平面図であり、第1絶縁層および半導体素子をさらに透過している。
図19に示す半導体装置の底面図である。
図21に対応する底面図であり、保護層、および複数の端子を透過している。
図20のXXIII-XXIII線に沿う断面図である。
図20のXXIV-XXIV線に沿う断面図である。
図23の部分拡大図である。
図20のXXVI-XXVI線に沿う部分拡大断面図である。
本開示の第3実施形態にかかる半導体装置の平面図であり、放熱部材、接合層および封止樹脂を透過している。
図27に示す半導体装置の底面図である。
図28に対応する底面図であり、第1絶縁層、保護層、および複数の端子を透過した底面図である。
図27のXXX-XXX線に沿う断面図である。
図27のXXXI-XXXI線に沿う断面図である。
図30の部分拡大図である。
本開示の第4実施形態にかかる半導体装置の平面図であり、透光樹脂を透過している。
図33に対応する平面図であり、第1絶縁層、および複数の第1配線をさらに透過している。
図33のXXXV-XXXV線に沿う断面図である。
【発明を実施するための形態】
(【0011】以降は省略されています)
この特許をJ-PlatPat(特許庁公式サイト)で参照する
関連特許
ローム株式会社
半導体装置
7日前
ローム株式会社
半導体装置
今日
ローム株式会社
半導体装置
15日前
ローム株式会社
半導体装置
7日前
ローム株式会社
半導体装置
7日前
ローム株式会社
定電圧生成回路
7日前
ローム株式会社
定電圧生成回路
7日前
ローム株式会社
半導体集積回路
8日前
ローム株式会社
半導体集積回路
7日前
ローム株式会社
半導体モジュール
16日前
ローム株式会社
比較回路、半導体装置
7日前
ローム株式会社
逐次比較型AD変換回路
15日前
ローム株式会社
サーマルプリントヘッド
7日前
ローム株式会社
半導体装置およびシステム
15日前
ローム株式会社
電源制御装置及び電源装置
今日
ローム株式会社
監視回路及びレジスタ制御装置
7日前
ローム株式会社
昇圧型スイッチングレギュレータ
9日前
ローム株式会社
信号受信装置、IC及び電気機器
21日前
ローム株式会社
電源制御装置、スイッチング電源
今日
ローム株式会社
モータドライバ回路および駆動方法
8日前
ローム株式会社
電圧調整装置及び電荷蓄積システム
9日前
ローム株式会社
半導体装置および半導体装置の製造方法
8日前
ローム株式会社
半導体装置、および半導体装置の製造方法
7日前
ローム株式会社
半導体装置、および半導体装置の製造方法
21日前
ローム株式会社
サーマルプリントヘッド及びその製造方法
7日前
ローム株式会社
検出回路、信号伝達装置、電子機器、車両
7日前
ローム株式会社
ドライバ、信号伝達装置、電子機器、車両
今日
ローム株式会社
電源回路、電子コントロールユニット、自動車
15日前
ローム株式会社
コントローラ、ターゲット、及び通信システム
7日前
ローム株式会社
雨検出装置、雨検出システム、および、雨検出方法
9日前
ローム株式会社
窒化物半導体装置および窒化物半導体装置の製造方法
7日前
ローム株式会社
信号伝達装置、電子機器、車両、絶縁ゲートドライバIC
15日前
ローム株式会社
半導体装置
7日前
ローム株式会社
半導体装置
今日
ローム株式会社
半導体装置
今日
ローム株式会社
制御装置、力率改善回路、電子機器、およびオフセット設定方法
15日前
続きを見る
他の特許を見る