TOP
|
特許
|
意匠
|
商標
特許ウォッチ
Twitter
他の特許を見る
10個以上の画像は省略されています。
公開番号
2025174582
公報種別
公開特許公報(A)
公開日
2025-11-28
出願番号
2024081052
出願日
2024-05-17
発明の名称
サーマルプリントヘッド
出願人
ローム株式会社
代理人
弁理士法人深見特許事務所
主分類
B41J
2/335 20060101AFI20251120BHJP(印刷;線画機;タイプライター;スタンプ)
要約
【課題】イオンマイグレーションの発生を抑制し得るサーマルプリントヘッドを提供する。
【解決手段】サーマルプリントヘッド1は、配線(45)と、外部接続端子50と、絶縁保護層58とを備える。外部接続端子50は、配線に接続されている第1導電層51と、第1導電層51に積層されている第2導電層52とを含む。平面視において、第1導電層51の外周縁のうち絶縁保護層58から露出する部分の全ては、第2導電層52の内側にある。第1導電層51は、銀粒子焼結体層である。第2導電層52は、銀粒子と、銀粒子とは異なる金属粒子の焼結体層である。金属粒子は、パラジウム粒子または金粒子である。
【選択図】図5
特許請求の範囲
【請求項1】
配線と、
外部接続端子と、
前記配線を覆う絶縁保護層とを備え、
前記外部接続端子は、前記配線に接続されている第1導電層と、前記第1導電層に積層されている第2導電層とを含み、
前記第1導電層と前記第2導電層との積層方向からの平面視において、前記第1導電層の外周縁のうち前記絶縁保護層から露出する部分の全ては、前記第2導電層の内側にあり、
前記第1導電層は、銀粒子焼結体層であり、
前記第2導電層は、銀粒子と、前記銀粒子とは異なる金属粒子の焼結体層であり、
前記金属粒子は、パラジウム粒子または金粒子である、サーマルプリントヘッド。
続きを表示(約 660 文字)
【請求項2】
前記第2導電層における前記銀粒子に対する前記金属粒子の重量比は、15%以上35%以下である、請求項1に記載のサーマルプリントヘッド。
【請求項3】
前記絶縁保護層は、ガラスで形成されている、請求項1に記載のサーマルプリントヘッド。
【請求項4】
前記第2導電層の第2厚さは、前記第1導電層の第1厚さよりも大きい、請求項1に記載のサーマルプリントヘッド。
【請求項5】
前記外部接続端子は、前記第1導電層に積層されている第3導電層を含み、
前記第2導電層及び前記第3導電層は、前記第1導電層上に積層されており、
前記第3導電層は、銀粒子焼結体層であり、かつ、前記平面視において前記第1導電層及び前記第2導電層の内側に配置されている、請求項1から請求項3のいずれか一項に記載のサーマルプリントヘッド。
【請求項6】
前記第2導電層の第2厚さは、前記第1導電層の第1厚さよりも大きく、
前記第3導電層の第3厚さは、前記第1導電層の前記第1厚さよりも大きい、請求項5に記載のサーマルプリントヘッド。
【請求項7】
前記積層方向において、前記第3導電層は、前記第1導電層と前記第2導電層との間にある、請求項6に記載のサーマルプリントヘッド。
【請求項8】
前記積層方向において、前記第2導電層は、前記第1導電層と前記第3導電層との間にある、請求項6に記載のサーマルプリントヘッド。
発明の詳細な説明
【技術分野】
【0001】
本開示は、サーマルプリントヘッドに関する。
続きを表示(約 2,000 文字)
【背景技術】
【0002】
特開2023-176504号公報(特許文献1)は、基板と、グレーズ層と、配線層と、発熱抵抗体とを備えるサーマルプリントヘッドを開示している。配線層は、共通電極と、複数の個別電極と、複数の信号配線部と、複数のパッド部とを有している。配線層は、銀を主成分とした導電体である。
【先行技術文献】
【特許文献】
【0003】
特開2023-176504号公報
【0004】
[概要]
本開示の目的は、イオンマイグレーションの発生を抑制し得るサーマルプリントヘッドを提供することである。
【0005】
本開示のサーマルプリントヘッドは、配線と、外部接続端子と、配線を覆う絶縁保護層とを備える。外部接続端子は、配線に接続されている第1導電層と、第1導電層に積層されている第2導電層とを含む。第1導電層と第2導電層との積層方向からの平面視において、第1導電層の外周縁のうち絶縁保護層から露出する部分の全ては、第2導電層の内側にある。第1導電層は、銀粒子焼結体層である。第2導電層は、銀粒子と、銀粒子とは異なる金属粒子の焼結体層である。金属粒子は、パラジウム粒子または金粒子である。
【図面の簡単な説明】
【0006】
図1は、実施の形態1及び実施の形態2のサーマルプリントヘッドの概略平面図である。
図2は、実施の形態1及び実施の形態2のサーマルプリントヘッドの、図1に示す断面線II-IIにおける概略部分拡大断面図である。
図3は、実施の形態1及び実施の形態2のサーマルプリントヘッドの、図1に示す領域IIIの概略部分拡大平面図である。
図4は、実施の形態1及び実施の形態2のサーマルプリントヘッドの回路図である。
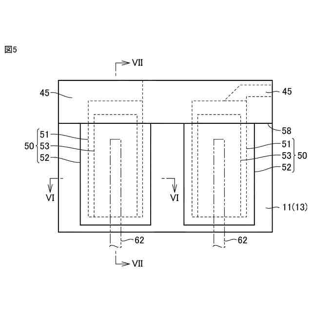
図5は、実施の形態1のサーマルプリントヘッドの、図1に示す領域Vの概略部分拡大平面図である。
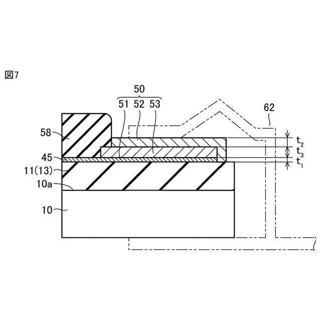
図6は、実施の形態1のサーマルプリントヘッドの、図5に示す断面線VI-VIにおける概略部分拡大断面図である。
図7は、実施の形態1のサーマルプリントヘッドの、図5に示す断面線VII-VIIにおける概略部分拡大断面図である。
図8は、実施の形態1及び実施の形態2のサーマルプリントヘッドの製造方法のフローチャートを示す図である。
図9は、実施の形態2のサーマルプリントヘッドの、図1に示す領域IXの概略部分拡大平面図である。
図10は、実施の形態2のサーマルプリントヘッドの、図9に示す断面線X-Xにおける概略部分拡大断面図である。
図11は、実施の形態2のサーマルプリントヘッドの、図9に示す断面線XI-XIにおける概略部分拡大断面図である。
【0007】
[詳細な説明]
図面に基づいて本開示の実施の形態の詳細について説明する。なお、以下の図面において同一または相当する部分には同一の参照番号を付し、その説明は繰返さない。以下に記載する実施の形態の少なくとも一部の構成を任意に組み合わせてもよい。
【0008】
(実施の形態1)
図1から図7を参照して、実施の形態1のサーマルプリントヘッド1を説明する。本実施の形態のサーマルプリントヘッド1は、絶縁基板10と、グレーズ11と、平坦化層15と、第1配線20と、発熱抵抗体30と、保護層33と、駆動IC40と、導電ワイヤ41と、封止部材43と、複数の第2配線45と、複数の外部接続端子50と、絶縁保護層58とを備える。本実施の形態のサーマルプリントヘッド1は、コネクタ61をさらに備えてもよい。
【0009】
図1、図2、図6及び図7を参照して、絶縁基板10は、例えば、アルミナ基板のようなセラミック基板である。絶縁基板10は、主面10aを有する。主面10aの平面視(以下、単に「平面視」という)において、絶縁基板10の長手方向は主走査方向Xであり、絶縁基板10の短手方向は副走査方向Yであり、絶縁基板10の厚さ方向は板厚方向Zである。板厚方向Zは、主走査方向X及び副走査方向Yに直交している。平面視において、副走査方向Yは、印刷媒体(例えば、感熱記録紙)の搬送方向である。
【0010】
図2、図3及び図5から図7を参照して、グレーズ11は、絶縁基板10の主面10a上に配置されている。グレーズ11は、例えば、非晶質ガラスのようなガラス材料で形成されている。グレーズ11の熱伝導率は、絶縁基板10の熱伝導率よりも低くてもよい。図1及び図2に示されるように、グレーズ11は、絶縁基板10の主面10aの一部分に設けられている。すなわち、グレーズ11は、いわゆる部分グレーズである。グレーズ11は、ヒーターグレーズ12と、ダイボンディンググレーズ13とを含む。
(【0011】以降は省略されています)
この特許をJ-PlatPat(特許庁公式サイト)で参照する
関連特許
ローム株式会社
半導体装置
今日
ローム株式会社
半導体装置
16日前
ローム株式会社
半導体装置
1か月前
ローム株式会社
半導体装置
16日前
ローム株式会社
半導体装置
1か月前
ローム株式会社
半導体装置
8日前
ローム株式会社
半導体装置
今日
ローム株式会社
半導体装置
今日
ローム株式会社
抵抗チップ
1か月前
ローム株式会社
半導体装置
21日前
ローム株式会社
半導体装置
21日前
ローム株式会社
半導体装置
21日前
ローム株式会社
半導体装置
1か月前
ローム株式会社
信号伝達装置
16日前
ローム株式会社
電源制御装置
16日前
ローム株式会社
定電圧生成回路
今日
ローム株式会社
半導体集積回路
1か月前
ローム株式会社
半導体集積回路
今日
ローム株式会社
半導体集積回路
1日前
ローム株式会社
定電圧生成回路
今日
ローム株式会社
窒化物半導体装置
1か月前
ローム株式会社
半導体モジュール
9日前
ローム株式会社
半導体パッケージ
1か月前
ローム株式会社
半導体メモリ装置
23日前
ローム株式会社
モータドライバ回路
16日前
ローム株式会社
比較回路、半導体装置
今日
ローム株式会社
逐次比較型AD変換回路
8日前
ローム株式会社
サーマルプリントヘッド
今日
ローム株式会社
半導体装置およびシステム
8日前
ローム株式会社
半導体装置、電子機器、車両
1か月前
ローム株式会社
半導体装置、電子機器、車両
1か月前
ローム株式会社
監視回路及びレジスタ制御装置
今日
ローム株式会社
信号受信装置、IC及び電気機器
14日前
ローム株式会社
昇圧型スイッチングレギュレータ
2日前
ローム株式会社
電圧調整装置及び電荷蓄積システム
2日前
ローム株式会社
モータドライバ回路および駆動方法
1日前
続きを見る
他の特許を見る