TOP
|
特許
|
意匠
|
商標
特許ウォッチ
Twitter
他の特許を見る
10個以上の画像は省略されています。
公開番号
2025170368
公報種別
公開特許公報(A)
公開日
2025-11-18
出願番号
2025139763,2022562219
出願日
2025-08-25,2021-11-15
発明の名称
アンテナ
出願人
株式会社ヨコオ
代理人
弁理士法人一色国際特許事務所
主分類
H01Q
5/321 20150101AFI20251111BHJP(基本的電気素子)
要約
【課題】別のアンテナの特性に与える影響を抑制するアンテナを提供する。
【解決手段】アンテナ1は、第1周波数帯で共振する複数の並列共振部20と、複数の並列共振部のうち、隣り合う並列共振部同士を接続する第1接続部と、を有する第1エレメント16と、第1エレメントと接続される第2エレメント15と、を備え、第1エレメントと、第2エレメントとで第1周波数帯とは異なる第2周波数帯の電波に対応する。
【選択図】図2
特許請求の範囲
【請求項1】
第1エレメントと、
前記第1エレメントと接続される第2エレメントと、を備え、
前記第1エレメントと前記第2エレメントとで第1周波数帯の電波に対応し、
前記第1エレメントは、
前記第1周波数帯とは異なる第2周波数帯で共振する、少なくとも1つの第1並列共振部と、
前記第1周波数帯及び前記第2周波数帯とは異なる第3周波数帯で共振する、少なくとも1つの第2並列共振部と、を有する、
アンテナ。
続きを表示(約 1,200 文字)
【請求項2】
前記第1エレメントは、前記第1並列共振部と、前記第2並列共振部とを含む複数の並列共振部のうち、隣り合う並列共振部同士を接続する第1接続部を有する、
請求項1に記載のアンテナ。
【請求項3】
前記隣り合う並列共振部の各々は、
互いに対向するように位置する一対の導電体を有するキャパシタと、
前記キャパシタに並列に接続されるインダクタと、を有し、
前記第1接続部は、前記隣り合う並列共振部のキャパシタ同士を接続する、
請求項2に記載のアンテナ。
【請求項4】
前記複数の並列共振部は、分布定数回路である、
請求項2又は3に記載のアンテナ。
【請求項5】
前記第1エレメントは、第1誘電層と、第2誘電層と、第3誘電層と、を有する基材を有し、
前記第1誘電層は、前記隣り合う並列共振部のうち、一方の並列共振部の少なくとも一部が設けられ、
前記第2誘電層は、他方の並列共振部の少なくとも一部が設けられ、
前記第3誘電層は、前記第1誘電層と、前記第2誘電層との間に位置し、前記第1接続部が設けられ、
前記第1接続部は、前記第1誘電層に設けられた前記一方の並列共振部の前記少なくとも一部と、前記第2誘電層に設けられた前記他方の並列共振部の前記少なくとも一部と、を接続する、
請求項2から4のいずれか一項に記載のアンテナ。
【請求項6】
前記第1接続部は、集中定数回路であり、
前記集中定数回路は、前記第1周波数帯、前記第2周波数帯及び第3周波数帯とは異なる第4周波数帯で共振する、
請求項2から4のいずれか一項に記載のアンテナ。
【請求項7】
前記第1エレメントは、基材を有し、
前記複数の並列共振部は、第3並列共振部と、第4並列共振部と、第5並列共振部と、を有し、
前記第3並列共振部と前記第4並列共振部とが隣り合い、前記第4並列共振部と前記第5並列共振部とが隣り合うように配置され、
前記第4並列共振部は、前記第3並列共振部と前記第4並列共振部とを接続する第1接続領域と、前記第4並列共振部と前記第5並列共振部とを接続する第2接続領域と、を有し、
前記第1接続領域は、前記基材の第1面に位置し、
前記第2接続領域は、前記第1面に対向する第2面において、前記第1接続領域に対向する領域以外に位置する、
請求項2から6のいずれか一項に記載のアンテナ。
【請求項8】
前記第1接続部によって接続される前記複数の並列共振部の接続経路は蛇行している、
請求項2から7のいずれか一項に記載のアンテナ。
【請求項9】
前記第1エレメントは、前記第1並列共振部及び前記第2並列共振部の少なくとも一方を複数有する、
請求項1から8のいずれか一項に記載のアンテナ。
発明の詳細な説明
【技術分野】
【0001】
本発明は、アンテナに関する。
続きを表示(約 2,400 文字)
【背景技術】
【0002】
特許文献1には、エレメントの一部がパッチアンテナの近傍に位置するAM/FMアンテナが開示されている。
【先行技術文献】
【特許文献】
【0003】
特開2010-21856号公報
【発明の概要】
【発明が解決しようとする課題】
【0004】
ところで、特許文献1では、AM/FMアンテナのエレメントの構成によっては、パッチアンテナの特性に与える影響が大きくなることがあった。
【0005】
本発明の目的の一例は、別のアンテナの特性に与える影響を抑制することである。本発明の他の目的は、本明細書の記載から明らかになるであろう。
【課題を解決するための手段】
【0006】
本発明の一態様は、第1周波数帯で共振する複数の並列共振部と、前記複数の並列共振部のうち、隣り合う前記並列共振部同士を接続する第1接続部と、を有する第1エレメントと、前記第1エレメントと接続される第2エレメントと、を備え、前記第1エレメントと、前記第2エレメントとで前記第1周波数帯とは異なる第2周波数帯の電波に対応する、アンテナである。
【発明の効果】
【0007】
本発明の一態様によれば、別のアンテナの特性に与える影響を抑制することができる。
【図面の簡単な説明】
【0008】
車両100の側面図である。
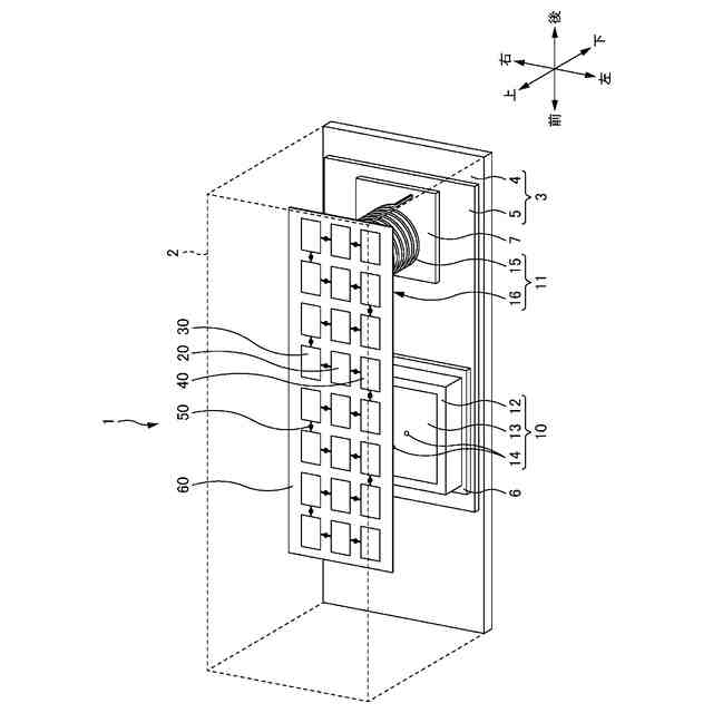
第1実施形態のアンテナ装置1の概要を説明する図である。
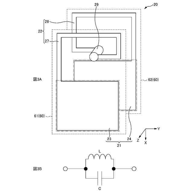
並列共振部20の概要を説明する図であり、図3Aは、並列共振部20の全体説明図であり、図3Bは、並列共振部20を回路図として示した図である。
第1実施形態のアンテナ装置1の斜視図である。
第1実施形態のアンテナ装置1の図であり、図5Aは、アンテナ装置1の側面図であり、図5Bは、アンテナ装置1の平面図である。
並列共振部20の図であり、図6Aは、並列共振部20の斜視図であり、図6Bは、並列共振部20の分解斜視図である。
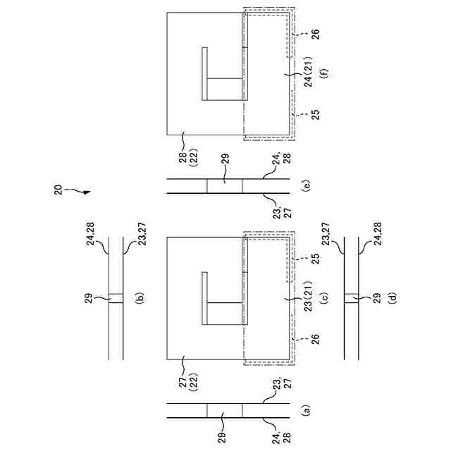
並列共振部20の六面図である。
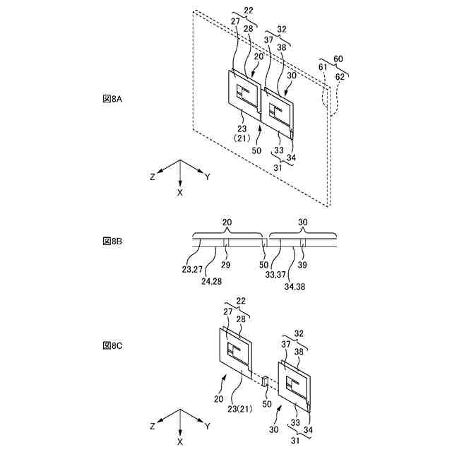
隣り合う並列共振部20,30の図であり、図8Aは、隣り合う並列共振部20,30の斜視図であり、図8Bは、隣り合う並列共振部20,30の側面図であり、図8Cは、隣り合う並列共振部20,30を離間させた分解斜視図である。
比較例のアンテナ装置1Xの図であり、図9Aは、アンテナ装置1Xの側面図であり、図9Bは、アンテナ装置1Xの平面図である。
第1実施形態のアンテナ装置1及び比較例のアンテナ装置1Xのそれぞれにおける、アンテナ10の仰角及び平均利得の関係を示す図である。
エレメント16の断面形状の変形例を示す図であり、図11Aは、エレメント16の断面形状の第1変形例を示す説明図であり、図11Bは、エレメント16の断面形状の第2変形例を示す説明図であり、図11Cは、エレメント16の断面形状の第3変形例を示す説明図である。
エレメント16における並列共振部の接続経路の変形例を示す図であり、図12Aは、エレメント16における並列共振部の接続経路の第1変形例であり、図12Bは、エレメント16における並列共振部の接続経路の第2変形例であり、図12Cは、エレメント16における並列共振部の接続経路の第3変形例である。
並列共振部20の第1変形例の斜視図である。
並列共振部20の第1変形例の六面図である。
並列共振部20の第2変形例の斜視図である。
並列共振部20の第2変形例の六面図である。
並列共振部20の第3変形例の斜視図である。
並列共振部20の第3変形例の六面図である。
第2実施形態のアンテナ装置1Aの図であり、図19Aは、アンテナ装置1Aの側面図であり、図19Bは、アンテナ10Aの放射素子13Aの平面図である。図19Cは、外部接続部50Aの拡大図である。
第3実施形態のアンテナ装置1Bの概要を説明する図である。
並列共振部20Bの図であり、図21Aは、並列共振部20Bの斜視図であり、図21Bは、並列共振部20Bの分解斜視図である。
並列共振部20Bの六面図である。
並列共振部20Bの配置に関する第1変形例の説明図である。
並列共振部20Bの配置に関する第2変形例を示す図であり、図24Aは、隣り合う並列共振部20B,30Bの斜視図であり、図24Bは、隣り合う並列共振部20B,30Bを離間させた分解斜視図である。
隣り合う並列共振部20B,30Bの六面図である。
エレメント16Bにおける並列共振部の接続経路の変形例を示す図であり、図26Aは、エレメント16Bにおける並列共振部の接続経路の第1変形例であり、図26Bは、エレメント16Bにおける並列共振部の接続経路の第2変形例であり、図26Cは、エレメント16Bにおける並列共振部の接続経路の第3変形例である。
第4実施形態のアンテナ装置1Cの図であり、図27Aは、アンテナ装置1Cの側面図であり、図27Bは、外部接続部50Cの拡大図である。
第5実施形態のアンテナ装置1Dの斜視図である。
【発明を実施するための形態】
【0009】
本明細書及び添付図面の記載により、少なくとも以下の事項が明らかとなる。
【0010】
以下、図面を参照しながら本発明の好適な実施の形態を説明する。各図面に示される同一又は同等の構成要素、部材等には同一の符号を付し、適宜重複した説明は省略する。
(【0011】以降は省略されています)
この特許をJ-PlatPat(特許庁公式サイト)で参照する
関連特許
株式会社ヨコオ
車載装置
14日前
株式会社ヨコオ
ソケット
1か月前
株式会社ヨコオ
ソケット
1か月前
株式会社ヨコオ
シートコンタクタソケット
15日前
株式会社ヨコオ
プローブカードの位置決め装置
1か月前
株式会社ヨコオ
アンテナ装置、アンテナ装置の取付方法
8日前
株式会社ヨコオ
アンテナ
2日前
株式会社ヨコオ
アンテナ装置
1か月前
東ソー株式会社
絶縁電線
29日前
APB株式会社
蓄電セル
27日前
日新イオン機器株式会社
イオン源
1か月前
ローム株式会社
半導体装置
28日前
マクセル株式会社
電源装置
21日前
株式会社東芝
端子台
21日前
株式会社GSユアサ
蓄電装置
14日前
富士電機株式会社
電磁接触器
今日
株式会社GSユアサ
蓄電装置
今日
三菱電機株式会社
回路遮断器
8日前
株式会社ホロン
冷陰極電子源
1か月前
株式会社GSユアサ
蓄電装置
22日前
株式会社GSユアサ
蓄電装置
22日前
トヨタ自動車株式会社
冷却構造
29日前
日本特殊陶業株式会社
保持装置
13日前
トヨタ自動車株式会社
蓄電装置
22日前
トヨタ自動車株式会社
バッテリ
27日前
北道電設株式会社
配電具カバー
27日前
日本特殊陶業株式会社
保持装置
1か月前
日新イオン機器株式会社
基板処理装置
24日前
株式会社トクヤマ
シリコンエッチング液
1か月前
甲神電機株式会社
変流器及び零相変流器
15日前
矢崎総業株式会社
コネクタ
今日
株式会社デンソー
電子装置
24日前
ローム株式会社
半導体モジュール
1日前
日亜化学工業株式会社
半導体レーザ素子
24日前
トヨタ自動車株式会社
電池パック
1か月前
ヒロセ電機株式会社
電気コネクタ
今日
続きを見る
他の特許を見る