TOP
|
特許
|
意匠
|
商標
特許ウォッチ
Twitter
他の特許を見る
10個以上の画像は省略されています。
公開番号
2025116649
公報種別
公開特許公報(A)
公開日
2025-08-08
出願番号
2024011181
出願日
2024-01-29
発明の名称
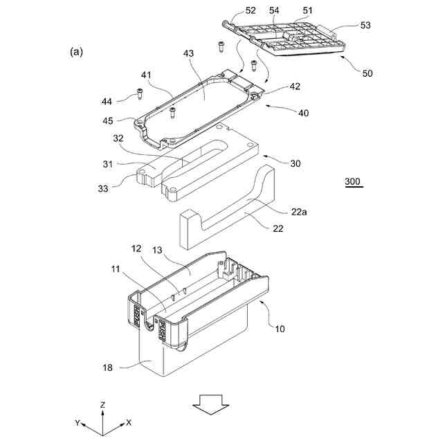
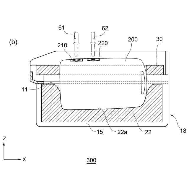
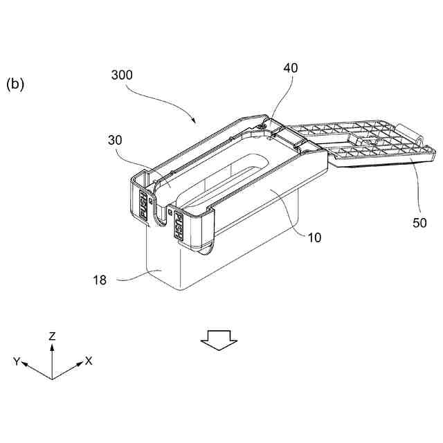
電子キー収容ケースおよび電子キー操作装置
出願人
株式会社ヨコオ
代理人
弁理士法人プロウィン
主分類
E05B
19/00 20060101AFI20250801BHJP(錠;鍵;窓または戸の付属品;金庫)
要約
【課題】押下動作の信頼性を確保しながらも、多様な電子キーの形態に対応する電子キー収容ケースおよび電子キー操作装置を提供する。
【解決手段】押圧ボタンが設けられた電子キーを異なる姿勢で収容可能な電子キー収容ケースであって、前記電子キーを収容する収容部と、前記収容部に収容された前記電子キーの前記押圧ボタンが押圧される方向への移動を規制する第1のガイドと、を備え、前記第1のガイドは、前記異なる姿勢に対応して複数有する、電子キー収容ケース。
【選択図】図3a
特許請求の範囲
【請求項1】
押圧ボタンが設けられた電子キーを異なる姿勢で収容可能な電子キー収容ケースであって、
前記電子キーを収容する収容部と、
前記収容部に収容された前記電子キーの前記押圧ボタンが押圧される方向への移動を規制する第1のガイドと、を備え、
前記第1のガイドは、前記異なる姿勢に対応して複数有する、
電子キー収容ケース。
続きを表示(約 1,300 文字)
【請求項2】
請求項1に記載の電子キー収容ケースであって、
前記第1のガイドは、前記電子キーの前記押圧ボタンを有する操作面と反対側の面に接することで、前記電子キーの前記押圧ボタンが押圧される方向への移動を規制する、電子キー収容ケース。
【請求項3】
請求項1に記載の電子キー収容ケースであって、
前記電子キーの前記操作面及び前記操作面と反対側の面とは異なる周面に接することで、前記電子キーの前記押圧ボタンが押圧される方向と交差する方向への移動を規制する第2のガイドを更に備える、電子キー収容ケース。
【請求項4】
請求項1に記載の電子キー収容ケースであって、
前記異なる姿勢は、第1の姿勢と、第2の姿勢と、を含み、
前記第1の姿勢は、前記電子キーの厚み方向と略平行となる面を前記押圧される方向に向けた姿勢であり、
前記第2の姿勢は、前記電子キーの厚み方向と交差する面を前記押圧される方向に向けた姿勢である、
電子キー収容ケース。
【請求項5】
請求項4に記載の電子キー収容ケースであって、
前記第1のガイドは、前記第1の姿勢に対応する第1位置規制部を有し、
前記第1位置規制部は、前記電子キーの前記操作面と反対側の面に対応する形状とされている、電子キー収容ケース。
【請求項6】
請求項5に記載の電子キー収容ケースであって、
前記第1位置規制部は、前記第2のガイドと同じ材料で構成されている電子キー収容ケース。
【請求項7】
請求項5に記載の電子キー収容ケースであって、
前記第1位置規制部は、前記電子キーの長手方向の所定位置において幅方向にも延伸して配置される電子キー収容ケース。
【請求項8】
請求項4に記載の電子キー収容ケースであって、
前記第1のガイドは、前記第2の姿勢に対応する第2位置規制部を有し、
前記第2位置規制部は、前記電子キーと当接する位置を変更可能とされている、電子キー収容ケース。
【請求項9】
請求項8に記載の電子キー収容ケースであって、
前記第2位置規制部は、前記電子キーの長手方向における端部に位置する周面に接触し、前記電子キーの前記押圧ボタンが押圧される方向と交差する方向への移動を規制する、電子キー収容ケース。
【請求項10】
収容された電子キーの押圧ボタンを押圧操作する電子キー操作装置であって、
前記電子キーを異なる姿勢で収容可能な電子キー収容ケースと、
前記電子キー収容ケースに収容された前記電子キーの前記押圧ボタンを押下する押圧部材と、
を備え、
前記電子キー収容ケースは、前記電子キーを収容する収容部と、前記収容部に収容された前記電子キーの前記押圧ボタンが押圧される方向への移動を規制する第1のガイドと、を有し、
前記第1のガイドは、前記異なる姿勢に対応して複数有する、
電子キー操作装置。
(【請求項11】以降は省略されています)
発明の詳細な説明
【技術分野】
【0001】
本発明は、電子キー収容ケースおよび電子キー操作装置に関する。
続きを表示(約 1,400 文字)
【背景技術】
【0002】
例えば自動車の利用形態として、複数人で1台又は複数台の車両をシェアする形態がある。カーシェアリング及びレンタカーがそれに該当する。以降こうした利用形態を総括して「シェアリング」と呼ぶ。
【0003】
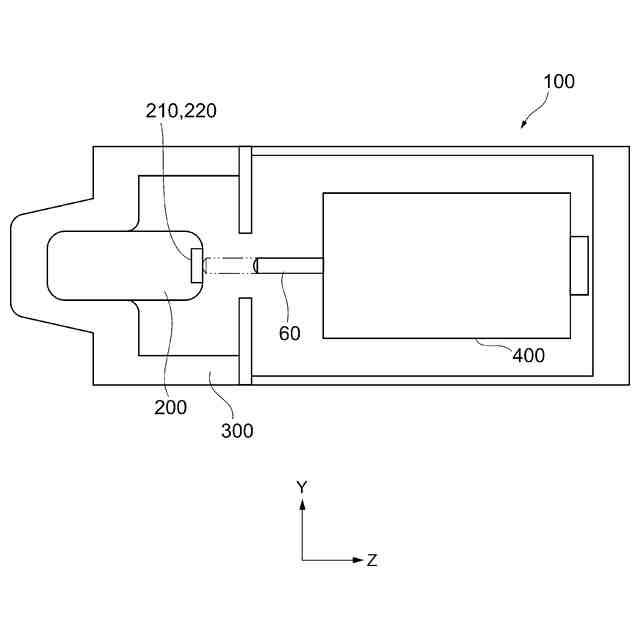
シェアリングにおいては、シェアリング対象の車両を使用するための鍵の扱いが重要となる。例えば、特許文献1は、シェアリングにおいて無人で電子キーを受け渡すための電子キーの収納ケースが開示されている。特許文献1の発明では、車外からスマートフォン等で、電子キーが収納された車内の収納ケースと通信を行う。そして、車内にある電子キーのボタンを車外から操作することによって、自動車のドアロックを解錠し、車内にある電子キーを受け取ることができる。
【先行技術文献】
【特許文献】
【0004】
国際公開第2021/054404号
【発明の概要】
【発明が解決しようとする課題】
【0005】
特許文献1に記載の電子キーの収納ケースは、電子キーのボタン及び外形に応じて、ボタンを押す押圧部の配置または電子キーの収納空間の形状を変更する必要がある。そのため、世の中に存在する多様な電子キーの形態に応じて、収納ケースをそれぞれ設計して製造する必要がある。しかし、収納ケースを車種毎に設計するためには、射出成形用の金型を車種毎に製造することや、3Dプリンタで個別に成形する必要があり、製造コストや製造時間が増大するという問題があった。
【0006】
それに対して、電子キーの外形に応じて厚みが変化するように、柔軟性を有する材質でサポート部を形成して電子キーを埋設させて、多様な電子キーの形態に対応させることも考えられる。しかし、この場合には、例えば、ボタンの押圧時に力が強く掛かることによってサポート部が変形し、又は高温の場合にはサポート部の柔軟性が高くなりすぎることによってサポート部が変形し、電子キーの変動や位置ずれが生じ、長期間にわたる押下動作の信頼性確保が困難になる可能性がある。
【0007】
特に、電子キーのボタンが厚み方向と平行な側面に配置されている場合には、電子キーに対応させて収納ケースの深さを大きくして外形まで変更する必要がある。また、電子キーは外周が丸みを帯びて形成されている場合が多く、収納ケース内での深さも大きいため、柔軟性を有するサポート部ではボタンの押圧動作時に電子キーが揺動しやすいという問題があった。
【0008】
そこで、本発明の目的の一例は、押下動作の信頼性を確保しながらも、多様な電子キーの形態に対応することにある。本発明の他の目的は、本明細書の記載から明らかになるであろう。
【課題を解決するための手段】
【0009】
本発明の一態様は、押圧ボタンが設けられた電子キーを異なる姿勢で収容可能な電子キー収容ケースであって、前記電子キーを収容する収容部と、前記収容部に収容された前記電子キーの前記押圧ボタンが押圧される方向への移動を規制する第1のガイドと、を備え、前記第1のガイドは、前記異なる姿勢に対応して複数有する、電子キー収容ケースである。
【0010】
本発明の上記態様によれば、電子キーに対する押下動作の信頼性を確保しながらも、多様な電子キーの形態に対応することが可能となる。
(【0011】以降は省略されています)
この特許をJ-PlatPat(特許庁公式サイト)で参照する
関連特許
株式会社ヨコオ
コネクタ
27日前
株式会社ヨコオ
コンタクタ
1か月前
株式会社ヨコオ
シートコンタクタ
1か月前
株式会社ヨコオ
コンタクトプローブ及びソケット
27日前
株式会社ヨコオ
アンテナ装置
24日前
個人
物品保管箱
1か月前
個人
防犯用ドア装置
1か月前
個人
ピンシリンダー錠。
2か月前
リョービ株式会社
ヒンジ装置
4か月前
個人
顔認証による入室システム
2か月前
個人
二重ロック機能付小物入れ
2か月前
個人
ポスト機能付き手提げ金庫
1か月前
株式会社SKB
引き戸装置
4か月前
株式会社ニシムラ
ラッチ錠
3か月前
三協立山株式会社
開口部装置
1か月前
ミサワホーム株式会社
錠受具
3か月前
リョービ株式会社
ドアクローザ
2か月前
個人
無人貸金庫システム
9日前
リョービ株式会社
ドアクローザ
2か月前
株式会社アルファ
電気錠
2か月前
株式会社ベスト
扉及び個室
6日前
積水ハウス株式会社
引き戸
6日前
株式会社榮伸
カバン蓋の係止装置
1か月前
美和ロック株式会社
ハンドル装置
3か月前
マツ六株式会社
引戸用鎌錠
4か月前
株式会社ベスト
開き扉の開閉装置
1か月前
有限会社シティング
引き戸
16日前
タキゲン製造株式会社
抜差し蝶番
3か月前
積水ハウス株式会社
引き戸
18日前
ミネベアショウワ株式会社
ドア装置
1か月前
ミネベアショウワ株式会社
ドア装置
1か月前
美和ロック株式会社
IDキー
2か月前
スズキ株式会社
車両用乗員保護装置
1か月前
株式会社ナスタ
荷物受取容器
4か月前
株式会社ユニオン
ドアハンドル
10日前
株式会社LIXIL
建具
1か月前
続きを見る
他の特許を見る