TOP
|
特許
|
意匠
|
商標
特許ウォッチ
Twitter
他の特許を見る
10個以上の画像は省略されています。
公開番号
2025134495
公報種別
公開特許公報(A)
公開日
2025-09-17
出願番号
2024032437
出願日
2024-03-04
発明の名称
引き戸
出願人
積水ハウス株式会社
代理人
個人
,
個人
主分類
E05D
15/06 20060101AFI20250909BHJP(錠;鍵;窓または戸の付属品;金庫)
要約
【課題】 本発明は、吊り車及びソフトクローズ機構を上レールから取り外す作業手間を低減させる引き戸を提供する。
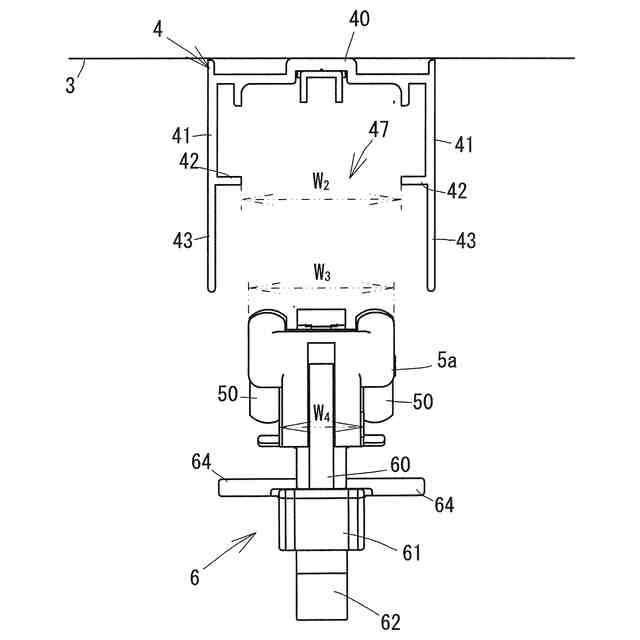
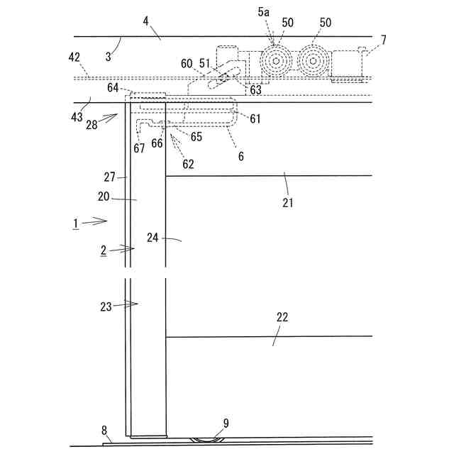
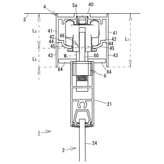
【解決手段】引き戸1は、一対の下板42を有し、当該下板42の間に長さ方向に沿った間隙46が設けられる上レール4と、前記上レール4に沿って移動可能なパネル体2と、前記一対の下板42の上を走行する吊り車5a,5bと、前記吊り車5a,5bから延びて形成され、前記パネル体2を前記吊り車5a,5bに吊り下げる固定部6と、前記吊り車5aから延びて形成され、前記上レール4に収納されるソフトクローズ機構7と、を備え、前記上レール4は、前記下板42の間の一部に前記間隙46の幅よりも幅広となる拡幅部47を有し、前記吊り車5a,5bの幅方向の長さは、前記間隙42よりも長く、前記拡幅部46よりも短い。
【選択図】図5
特許請求の範囲
【請求項1】
一対の下板を有し、当該下板の間に長さ方向に沿った間隙が設けられる上レールと、
前記上レールに沿って移動可能なパネル体と、
前記一対の下板の上を走行する吊り車と、
前記吊り車から延びて形成され、前記パネル体を前記吊り車に吊り下げる固定部と、
前記吊り車から延びて形成され、前記上レールに収納されるソフトクローズ機構と、を備え、
前記上レールは、前記下板の間の一部に前記間隙の幅よりも幅広となる拡幅部を有し、
前記吊り車の幅方向の長さは、前記間隙の幅よりも長く、前記拡幅部の幅よりも短い、
引き戸。
続きを表示(約 580 文字)
【請求項2】
前記ソフトクローズ機構の幅方向の長さは、前記間隙の幅よりも短い、
請求項1に記載の引き戸。
【請求項3】
前記固定部は、前記パネル体に形成される係止部に噛み合わされる係合部を有する、
請求項1に記載の引き戸。
【請求項4】
前記パネル体は、前記係合部の前記係止部との噛み合いを解除する操作を行う操作隙間を有する、
請求項3に記載の引き戸。
【請求項5】
前記係合部は、前記パネル体の内部に収納されて、前記係止部に噛み合わされており、
前記操作隙間は前記係合部を前記上レールの長さ方向に引き出し可能に形成される、
請求項4に記載の引き戸。
【請求項6】
前記操作隙間は前記パネル体の戸先又は戸尻の緩衝材に覆われる、
請求項5に記載の引き戸。
【請求項7】
前記上レールは、長さ方向に延びる一対の側板を更に有し、
前記一対の側板は、前記下板よりも下方に延びる垂れ部をそれぞれ有しており、
前記パネル体は上縁が前記垂れ部に挿入される、
請求項1に記載の引き戸。
【請求項8】
前記拡幅部に前記吊り車が走行可能な脱落防止部が着脱可能に設けられる、
請求項1に記載の引き戸。
発明の詳細な説明
【技術分野】
【0001】
本発明は、引き戸に関する。
続きを表示(約 1,000 文字)
【背景技術】
【0002】
従来より、引き戸の上レールに収納されるソフトクローズ機構は、パネル体を吊持する吊り車に連結されている。特許文献1においては、ソフトクローズ機構の施工性やメンテナンス性の向上のために、吊り車とソフトクローズ機構とを着脱できるようにし、上レールからソフトクローズ機構を抜き出せるようにしている。
【先行技術文献】
【特許文献】
【0003】
特開2010-209526号公報
【発明の概要】
【発明が解決しようとする課題】
【0004】
しかし、特許文献1においては、吊り車とソフトクローズ機構とを着脱する作業手間が必要であり、吊り車は上レール内に残存するので吊り車のメンテナンス性は低いままである。
【0005】
そこで、本発明は、吊り車及びソフトクローズ機構を上レールから取り外す作業手間を低減させる引き戸を提供することを目的とする。
【課題を解決するための手段】
【0006】
上記課題を解決する第1の引き戸は、一対の下板を有し、当該下板の間に長さ方向に沿った間隙が設けられる上レールと、前記上レールに沿って移動可能なパネル体と、前記一対の下板の上を走行する吊り車と、前記吊り車から延びて形成され、前記パネル体を前記吊り車に吊り下げる固定部と、前記吊り車から延びて形成され、前記上レールに収納されるソフトクローズ機構と、を備え、前記上レールは、前記下板の間の一部に前記間隙の幅よりも幅広となる拡幅部を有し、前記吊り車の幅方向の長さは、前記間隙の幅よりも長く、前記拡幅部の幅よりも短い。
【0007】
第2の引き戸は、第1の引き戸において、前記ソフトクローズ機構の幅方向の長さは、前記間隙の幅よりも短い。
【0008】
第3の引き戸は、第1又は第2の引き戸において、前記固定部は、前記パネル体に形成される係止部に噛み合わされる係合部を有する。
【0009】
第4の引き戸は、第3の引き戸において、前記パネル体は、前記係合部の前記係止部との噛み合いを解除する操作を行う操作隙間を有する。
【0010】
第5の引き戸は、第4の引き戸において、前記係合部は、前記パネル体の内部に収納されて、前記係止部に噛み合わされており、前記操作隙間は前記係合部を前記上レールの長さ方向に引き出し可能に形成される。
(【0011】以降は省略されています)
この特許をJ-PlatPat(特許庁公式サイト)で参照する
関連特許
個人
物品保管箱
2か月前
個人
防犯用ドア装置
2か月前
個人
二重ロック機能付小物入れ
2か月前
個人
ポスト機能付き手提げ金庫
1か月前
三協立山株式会社
開口部装置
1か月前
株式会社アルファ
電気錠
2か月前
個人
無人貸金庫システム
17日前
リョービ株式会社
ドアクローザ
2か月前
リョービ株式会社
ドアクローザ
2か月前
有限会社シティング
引き戸
24日前
積水ハウス株式会社
引き戸
26日前
株式会社ベスト
開き扉の開閉装置
1か月前
積水ハウス株式会社
引き戸
14日前
株式会社ベスト
扉及び個室
14日前
株式会社榮伸
カバン蓋の係止装置
1か月前
ミネベアショウワ株式会社
ドア装置
1か月前
ミネベアショウワ株式会社
ドア装置
1か月前
スズキ株式会社
車両用乗員保護装置
1か月前
美和ロック株式会社
IDキー
2か月前
コイト電工株式会社
蝶番の取付構造
3日前
株式会社LIXIL
建具
2か月前
株式会社LIXIL
建具
14日前
株式会社LIXIL
建具
1か月前
株式会社ユニオン
ドアハンドル
18日前
株式会社アイシン
ドア支持装置
3日前
日本プラスト株式会社
ロック装置
1か月前
株式会社ナガエ
宅配ボックス用の錠装置
24日前
株式会社アイシン
車両用ドア装置
11日前
株式会社アイシン
車両用ドア装置
11日前
株式会社ベスト
グレビティヒンジ
2か月前
株式会社アイシン
車両用ドア装置
3日前
トヨタ自動車株式会社
警報制御装置
1か月前
東亜建硝株式会社
建物の入退室管理システム
1か月前
大和ハウス工業株式会社
間仕切り機構
14日前
トヨタ自動車株式会社
車両の制御装置
1か月前
株式会社LIXIL
シリンダ錠
6日前
続きを見る
他の特許を見る