TOP
|
特許
|
意匠
|
商標
特許ウォッチ
Twitter
他の特許を見る
公開番号
2025164043
公報種別
公開特許公報(A)
公開日
2025-10-30
出願番号
2024067766
出願日
2024-04-18
発明の名称
固定ピン保持用アタッチメント
出願人
積水ハウス株式会社
代理人
個人
,
個人
主分類
B25C
3/00 20060101AFI20251023BHJP(手工具;可搬型動力工具;手工具用の柄;作業場設備;マニプレータ)
要約
【課題】施工性を向上させるとともに、安全性の高い固定ピンを保持するための手持式自動ドライバーに取り付けられるアタッチメントを提供すること
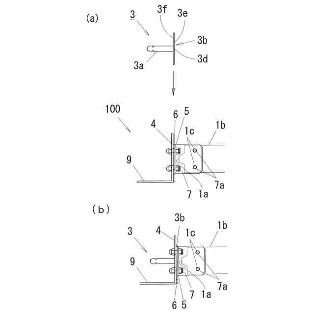
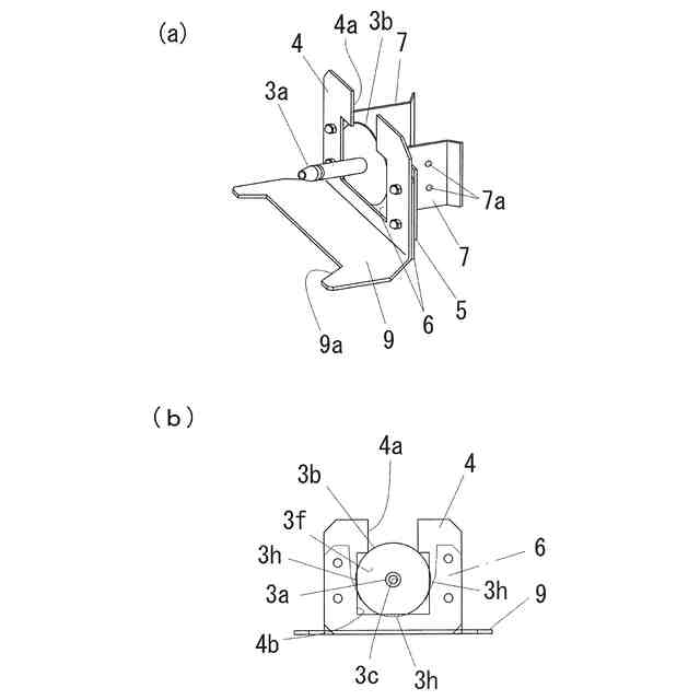
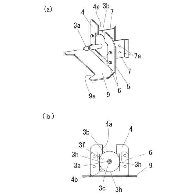
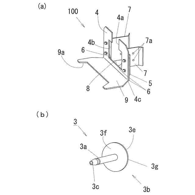
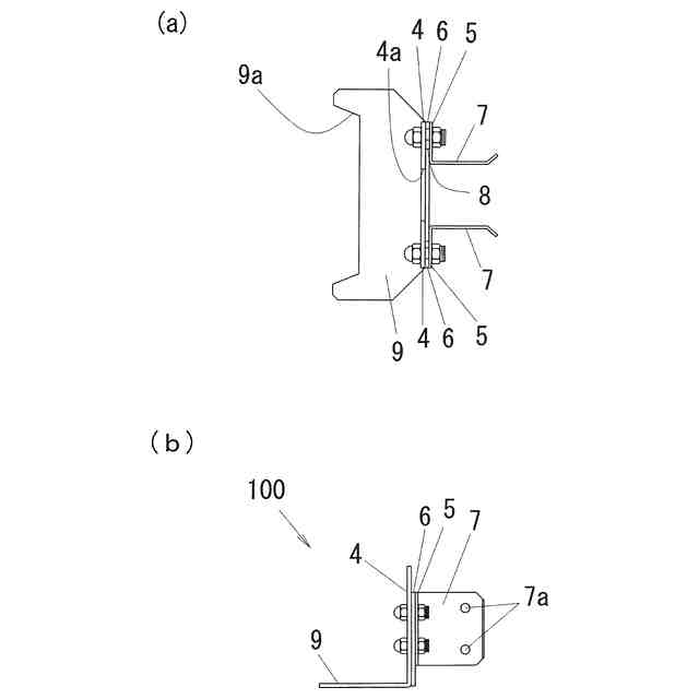
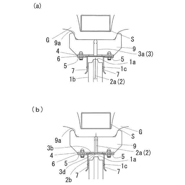
【解決手段】固定ピンを手持式自動ドライバーの発射口前に保持するための手持式自動ドライバーのアタッチメントであって、フランジ部3bの筒部3aが設けられた側の表面3fを支持する押え板部4と、フランジ部3bの裏面を支持する背面板部5と、背面板部5と押え板部4との間に位置しフランジ部3bの厚さと略同一の厚さでありフランジ部3bの側面を支持するスペーサー板6と、発射口と背面板部5とを接続する接続部7とを有し、押え板部4は上部に筒部3aの外径よりも幅のある隙間4aと、隙間4aに繋がり装填されたフランジ部3bが収容部8から解放する開口部4bとを具備し、押え板部4と背面板部5とスペーサー板6とで形成される収容部において、フランジ部3bが装填されることで固定ピンが保持される
【選択図】図4
特許請求の範囲
【請求項1】
手持式自動ドライバーから射出される固定部材の胴部を挿通する挿通孔を有した筒部と、前記筒部の一端に設けられ、前記挿通孔に繋がる中心孔を有したフランジ部と、を有する固定ピンを前記手持式自動ドライバーの発射口前に保持するための前記手持式自動ドライバーの固定ピン保持用アタッチメントであって、
前記フランジ部の前記筒部が設けられた側の表面を支持する押え板部と、
前記フランジ部の裏面を支持する背面板部と、
前記背面板部と前記押え板部との間に位置し、前記フランジ部の厚さと略同一の厚さであり、前記フランジ部の側面を支持するスペーサー板と、
前記発射口と前記背面板部とを接続する接続部と、を有し、
前記押え板部は、上部に前記筒部の外径よりも幅のある隙間と、
前記隙間に繋がり、装填された前記フランジ部が前記収容部から解放する開口部と、を具備し、
前記押え板部と、前記背面板部と、前記スペーサー板と、で形成される収容部において、前記フランジ部が装填されることで、前記固定ピンが保持されることを特徴とする固定ピン保持用アタッチメント。
続きを表示(約 510 文字)
【請求項2】
前記フランジ部は、弾性を有しており、
前記中心孔の内径は、前記固定部材の頭部より小さく形成されており、
前記固定部材が発射されると、前記固定部材の頭部が前記収容部に装填された前記フランジ部の前記中心孔において引掛り、前記固定部材の推進力により前記フランジ部が撓ることで、前記フランジ部が前記開口部を通り、前記フランジ部が前記収容部から解放されることを特徴とする請求項1に記載の固定ピン保持用アタッチメント。
【請求項3】
前記押え板部の下端部から、射出方向に延び出る薄板のヘラ部が形成されていることを特徴とする請求項1又は請求項2に記載の固定ピン保持用アタッチメント。
【請求項4】
延び出た前記ヘラ部の端縁から前記押え板部側に窪んだ凹部を有することを特徴とする請求項3に記載の固定ピン保持用アタッチメント。
【請求項5】
前記凹部の窪みは、平面視、装填された前記固定ピンの前記筒部の先端と同一線上、又は装填された前記固定ピンの先端より超えるように形成されていることを特徴とする請求項4に記載の固定ピン保持用アタッチメント。
発明の詳細な説明
【技術分野】
【0001】
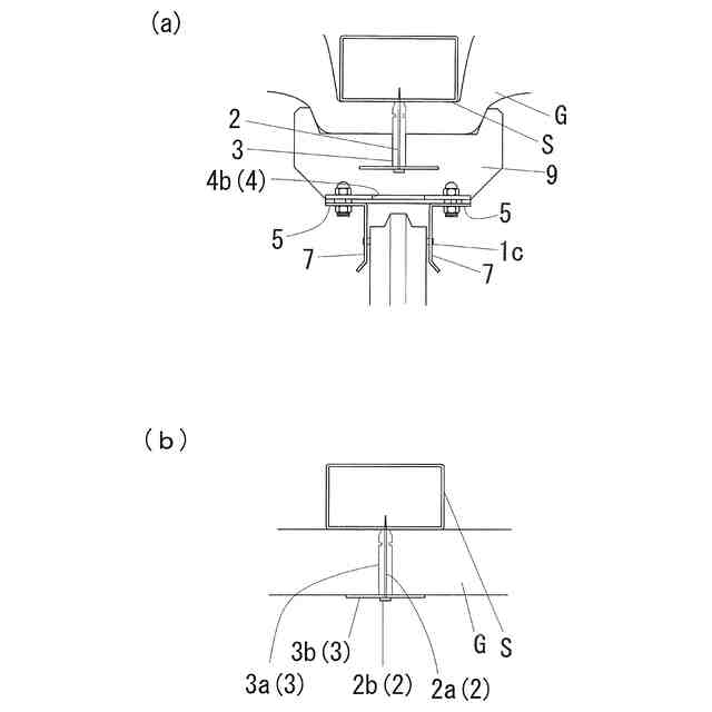
本発明は、断熱材を下地材に固定する際に、手持式自動ドライバーに取り付けるアタッチメントに関するものである。
続きを表示(約 1,900 文字)
【背景技術】
【0002】
従来、建物の内装施工現場等において、断熱材を木材や軽量鉄骨等からなる下地材にビス止めするに際しては、圧縮空気によって連続的に駆動される手持ち式のビス打ち機がよく用いられている。断熱材を下地材に固定する際は、スペーサーやガイドとして機能する固定ピンが用いられ、固定ピンを片手で持ちながら、インパクトドライバー又はターボドライバーといった手持式自動ドライバーを用いてビスを下地材に打ち込んで固定していた。
【0003】
しかし、インパクトドライバーやターボドライバーを使用する場合、一方の手で固定ピンを持ち、他方の手でインパクトドライバーを持つため両手で作業しなければならないため施工性が悪かった。特に、インパクトドライバーを用いる場合、固定ピンが転ばないように、1つ1つビスと固定ピンを固定してから断熱材を下地材に固定する必要があるので、施工性が悪かった。また、ターボドライバーを使用した場合、ビスを打つ直前は、固定ピンを打つ直前まで手で持っているため、ターボドライバーが転んだ場合、手を怪我する可能性があり危険であった。また、頭より上の位置に打つ場合、どちらのドライバーも両手を使うため、非常に作業しにくく、施工性が悪かった。
【0004】
そこで、特許文献1では、コンクリート等に断熱材を固定するための釘ガイド部材及びアタッチメントが記載されている。釘打ち機のノーズ部の先端部にアタッチメントの凹部に釘ガイド部材の鍔部を収容してマグネットにより、釘ガイド部材を釘打ち機に保持させて、釘打ちを行っている。
【0005】
また、特許文献2では、コクリート躯体に断熱ボードを打ち付ける釘打ち機に用いられる治具と固定ピンについて記載されている。固定ピンは、中心部に貫通孔を有する略円板状のフランジプレートと、プレートの貫通孔を貫通する軸部材と、を有しており、治具は、フランジプレートに設けられた貫通孔を挿通するガイドピンと、フランジプレートが嵌め込まれる環状壁と、により釘を保持している。
【先行技術文献】
【特許文献】
【0006】
特開2004―257226
特開2005―059158
【発明の概要】
【発明が解決しようとする課題】
【0007】
しかし、特許文献1、2に記載のアタッチメント及び治具は、釘打ち機の先端部において、釘を打ち出す方向から固定ピンないしは釘を装填するものであり、誤発射した場合、施行者の危険性を伴うものであった。また、固定ピンにマグネット材料を用いると、1つ当たりの固定ピンの費用が高額となっていた。
【0008】
そこで、本発明は上記事情を鑑みたものであって、固定ピンを用いて断熱材を下地材に固定する際に、施工性を向上させるとともに、安全性の高い、固定ピンを保持するための手持式自動ドライバーに取り付けられるアタッチメントを提供することにある。
【課題を解決するための手段】
【0009】
上記課題を解決するために、本発明に係る固定ピン保持用アタッチメントは、手持式自動ドライバーから射出される固定部材の胴部を挿通する挿通孔を有した筒部と、筒部の一端に設けられ、挿通孔に繋がる中心孔を有したフランジ部と、を有する固定ピンを手持式自動ドライバーの発射口前に保持するための手持式自動ドライバーの固定ピン保持用アタッチメントであって、フランジ部の筒部が設けられた側の表面を支持する押え板部と、フランジ部の裏面を支持する背面板部と、背面板部と押え板部との間に位置し、フランジ部の厚さと略同一の厚さであり、フランジ部の側面を支持するスペーサー板と、発射口と背面板部とを接続する接続部と、を有し、押え板部は、上部に筒部の外径よりも幅のある隙間と、隙間に繋がり、装填されたフランジ部が収容部から解放する開口部と、を具備し、押え板部と、背面板部と、スペーサー板と、で形成される収容部において、フランジ部が装填されることで、固定ピンが保持されることを特徴としたことにある。
【0010】
さらに、フランジ部は、弾性を有しており、中心孔の内径は、固定部材の頭部より小さく形成されており、固定部材が発射されると、固定部材の頭部が収容部に装填されたフランジ部の中心孔において引掛り、固定部材の推進力によりフランジ部が撓ることで、フランジ部が開口部を通り、フランジ部が収容部から解放されることを特徴としたことにある。
(【0011】以降は省略されています)
この特許をJ-PlatPat(特許庁公式サイト)で参照する
関連特許
積水ハウス株式会社
建築物
17日前
積水ハウス株式会社
建築物
8日前
積水ハウス株式会社
柱及び建築物
8日前
積水ハウス株式会社
鋼製フレーム
9日前
積水ハウス株式会社
鋼製フレーム
9日前
積水ハウス株式会社
建築物の壁および建築物
1日前
積水ハウス株式会社
建築物及び建築物の施工方法
17日前
積水ハウス株式会社
固定ピン保持用アタッチメント
1か月前
積水ハウス株式会社
取付金具および吊下物の取付構造
8日前
積水ハウス株式会社
建築物のリフォーム方法及び建築物
8日前
積水ハウス株式会社
軸組構造、および、軸組構造を備えた建築物
8日前
積水ハウス株式会社
剥離装置及び、当該剥離装置を用いた剥離方法
17日前
積水ハウス株式会社
付帯物取付部材、建築物、及び建築物の施工方法
2日前
積水ハウス株式会社
見守りシステム
16日前
個人
フラワーホッチキス。
1か月前
個人
手持ち挟持具
1か月前
トヨタ自動車株式会社
学習装置
16日前
CKD株式会社
把持装置
1日前
ダイセイ株式会社
ロボット自動刻印装置
1日前
川崎重工業株式会社
ハンド
1か月前
株式会社マキタ
ハンマドリル
1か月前
株式会社マキタ
ハンマドリル
1か月前
瓜生製作株式会社
電動締付工具
9日前
トヨタ自動車株式会社
ロボット
2か月前
工機ホールディングス株式会社
作業機
1か月前
川崎重工業株式会社
塗装システム
1か月前
株式会社安川電機
ロボット
1か月前
トヨタ自動車株式会社
軌道生成装置
2か月前
株式会社不二越
垂直多関節ロボット
16日前
株式会社三共コーポレーション
工具保持具
1か月前
株式会社マキタ
集塵アタッチメント
8日前
トヨタ自動車株式会社
ロボットハンド
1か月前
工機ホールディングス株式会社
作業機
1か月前
株式会社不二越
ロボットに用いる伝送路
1か月前
株式会社マキタ
現場用作業機
1か月前
川崎重工業株式会社
ワーク搬送ロボット
1か月前
続きを見る
他の特許を見る