TOP
|
特許
|
意匠
|
商標
特許ウォッチ
Twitter
他の特許を見る
10個以上の画像は省略されています。
公開番号
2025170654
公報種別
公開特許公報(A)
公開日
2025-11-19
出願番号
2024075416
出願日
2024-05-07
発明の名称
建築物及び建築物の施工方法
出願人
積水ハウス株式会社
代理人
個人
,
個人
主分類
F16L
5/02 20060101AFI20251112BHJP(機械要素または単位;機械または装置の効果的機能を生じ維持するための一般的手段)
要約
【課題】外側部材の施工後であっても、内側部材とパイプとの間の防水構造を設けることができる建築物及び建築物の施工方法を提供する。
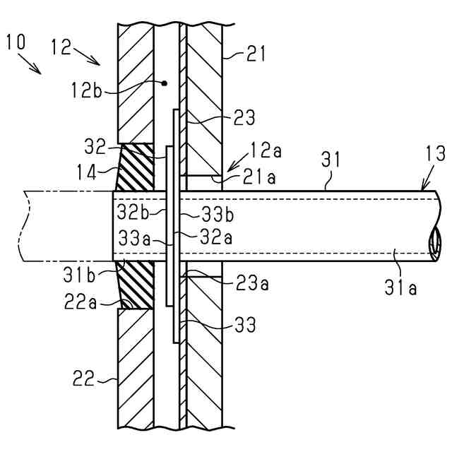
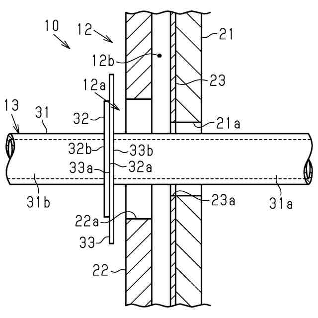
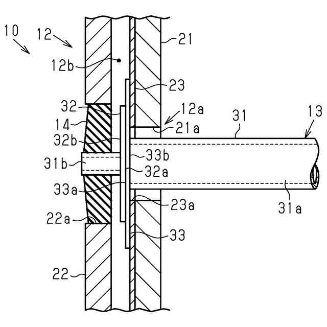
【解決手段】外壁12は、内側部材としての下地材21と、内側部材よりも屋外側に設けられた外側部材としての外装材22と、下地材21における外装材22側の面に設けられた第1防水層としての第1防水シート23とを有している。外壁12を貫通する貫通孔12aに挿通されるパイプ13は、パイプ本体31と、フランジ32と、フランジ32の第1端面32aに設けられた第2防水層としての第2防水シート33とを有している。貫通孔12aは、下地材21を貫通する第1孔径の第1孔21aと、外装材22を貫通する第2孔径の第2孔22aとを有している。フランジ32は、第1孔径よりも大きく、かつ第2孔径よりも小さい。第2防水シート33は、第1防水シート23に貼り付けられている。
【選択図】図1
特許請求の範囲
【請求項1】
外壁と前記外壁を貫通する貫通孔に挿通されるパイプとを備える建築物であって、
前記外壁は、内側部材と、前記内側部材よりも屋外側に設けられた外側部材と、前記内側部材における前記外側部材側の面に設けられた第1防水層とを有し、
前記パイプは、パイプ本体と、前記パイプ本体の外周に設けられたフランジと、前記パイプ本体の軸方向における前記フランジの端面であって屋内側に位置する第1端面に設けられた第2防水層とを有し、
前記貫通孔は、前記内側部材を貫通する第1孔径の第1孔と、前記外側部材を貫通する第2孔径の第2孔とを有し、
前記フランジは、前記第1孔径よりも大きく、かつ前記第2孔径よりも小さく、
前記第2防水層は、前記第1防水層に貼り付けられている建築物。
続きを表示(約 1,100 文字)
【請求項2】
前記パイプ本体の外周面と前記外側部材における前記第2孔を区画する面との間には、シーリング材が設けられている請求項1に記載の建築物。
【請求項3】
前記パイプ本体と前記フランジは一体形成されている請求項1に記載の建築物。
【請求項4】
前記第1防水層は、前記内側部材における前記外側部材側の面に設けられた第1防水シートによって構成されている請求項1に記載の建築物。
【請求項5】
前記第2防水層は、前記フランジの前記第1端面に設けられた第2防水シートによって構成されている請求項1に記載の建築物。
【請求項6】
前記第2防水シートは、前記フランジよりも大きい請求項5に記載の建築物。
【請求項7】
前記パイプ本体は、前記パイプ本体の軸方向において、前記フランジよりも前記内側部材側に位置する第1部位と、前記フランジよりも前記外側部材側に位置する第2部位とを有し、
前記第1部位の外径は、前記第2部位の外径よりも小さい請求項1に記載の建築物。
【請求項8】
前記パイプ本体は、前記パイプ本体の軸方向において、前記フランジよりも前記内側部材側に位置する第1部位と、前記フランジよりも前記外側部材側に位置する第2部位とを有し、
前記第1部位の外径は、前記第2部位の外径よりも大きい請求項1に記載の建築物。
【請求項9】
前記パイプ本体の軸方向における前記フランジの端面であって前記第1端面の反対側に位置する第2端面には、リブが設けられている請求項1に記載の建築物。
【請求項10】
外壁と前記外壁を貫通する貫通孔に挿通されるパイプとを備える建築物の施工方法であって、
前記外壁は、内側部材と、前記内側部材よりも屋外側に設けられた外側部材と、前記内側部材における前記外側部材側の面に設けられた第1防水層とを有し、
前記パイプは、パイプ本体と、前記パイプ本体の外周に設けられたフランジと、前記パイプ本体の軸方向における前記フランジの第1端面に設けられた第2防水層とを有し、
前記内側部材に前記フランジよりも小さい第1孔径の第1孔を形成し、前記外側部材に前記フランジよりも大きい第2孔径の第2孔を形成することにより、前記外壁に前記貫通孔を形成する貫通孔形成工程と、
前記フランジの前記第1端面が屋内側に位置するように前記パイプを前記外側部材側から前記貫通孔に挿通する挿通工程と、
前記フランジを前記第1防水層に押し付けることにより、前記第2防水層を前記第1防水層に貼り付ける貼付工程と、
を有する建築物の施工方法。
発明の詳細な説明
【技術分野】
【0001】
本発明は、建築物及び建築物の施工方法に関する。
続きを表示(約 2,100 文字)
【背景技術】
【0002】
特許文献1には、外壁と、外壁を貫通する貫通孔に挿通されたパイプとを備える建築物が開示されている。外壁は、内側部材としての壁部材と、内側部材よりも屋外側に設けられた外側部材としてのサイディングとを有している。このような建築物では、内側部材とパイプとの間の防水性を確保することが求められる。
【0003】
例えば、特許文献1には、防水部材を用いた、内側部材とパイプとの防水構造が開示されている。防水部材は、円筒部と、円筒部の外周に設けられた鍔部とを有している。パイプは、円筒部に挿通されている。円筒部の内周面には、パイプの外周面に当接可能な突起が設けられている。突起により、パイプと円筒部との間の防水性が確保されている。鍔部は、内側部材の外表面に押し当てられた状態で内側部材に取り付けられている。鍔部及び内側部材には、鍔部における内側部材と対向する面とは反対側の面から内側部材の外表面に亘って防水シートが貼り付けられている。防水シートにより、鍔部と内側部材との間の防水性が確保されている。当該防水部材を用いた防水構造の施工においては、内側部材への防水部材の取り付け後、外側部材が施工される。
【先行技術文献】
【特許文献】
【0004】
特開2003-247667号公報
【発明の概要】
【発明が解決しようとする課題】
【0005】
内側部材とパイプとの間の防水構造は、外側部材の施工前だけでなく、外側部材の施工後に設ける必要がある場合がある。しかしながら、特許文献1では、外側部材の施工後に内側部材とパイプとの間の防水構造を設けることは想定されていない。このため、例えば、防水部材を外側部材側から貫通孔に挿通する際に鍔部が外側部材に干渉したり、外側部材に設けられた孔の孔径が小さい場合には防水部材や防水シートの取付作業が困難になったりする。特許文献1の技術では、外側部材の施工後に内側部材とパイプとの間の防水構造を設けることが困難である。
【課題を解決するための手段】
【0006】
(1)上記課題を解決する建築物は、外壁と前記外壁を貫通する貫通孔に挿通されるパイプとを備える建築物であって、前記外壁は、内側部材と、前記内側部材よりも屋外側に設けられた外側部材と、前記内側部材における前記外側部材側の面に設けられた第1防水層とを有し、前記パイプは、パイプ本体と、前記パイプ本体の外周に設けられたフランジと、前記パイプ本体の軸方向における前記フランジの端面であって屋内側に位置する第1端面に設けられた第2防水層とを有し、前記貫通孔は、前記内側部材を貫通する第1孔径の第1孔と、前記外側部材を貫通する第2孔径の第2孔とを有し、前記フランジは、前記第1孔径よりも大きく、かつ前記第2孔径よりも小さく、前記第2防水層は、前記第1防水層に貼り付けられている。
【0007】
この構成によれば、フランジは、外側部材に設けられた第2孔の第2孔径よりも小さいため、外側部材の施工後であっても、パイプを外側部材側から貫通孔に挿通することができる。その一方で、フランジは、内側部材に設けられた第1孔の第1孔径よりも大きいため、フランジは第1孔には挿通されない。フランジの第1端面に設けられた第2防水層がフランジによって第1防水層に押し付けられることにより、第2防水層は第1防水層に貼り付けられる。第1防水層及び第2防水層により、内側部材とフランジとの間の防水性が確保される。したがって、外側部材の施工後であっても、内側部材とパイプとの間の防水構造を設けることができる。
【0008】
(2)上記(1)の建築物において、前記パイプ本体の外周面と前記外側部材における前記第2孔を区画する面との間には、シーリング材が設けられている。
この構成によれば、シーリング材により、外側部材とパイプ本体との間の防水性が確保される。したがって、外壁とパイプとの間の防水性が向上する。
【0009】
(3)上記(1)又は(2)の建築物において、前記パイプ本体と前記フランジは一体形成されている。
例えば、パイプ本体とフランジとが一体形成されていない場合、すなわち別体の場合、パイプ本体とフランジとの間にシーリング材を設けることにより、パイプ本体とフランジとの間の防水性を確保する必要がある。これに対し、上記構成によれば、パイプ本体とフランジとは一体形成されているため、シーリング材によりパイプ本体とフランジとの間の防水性を確保する必要がない。したがって、パイプの構成を簡素化できる。よって、パイプの製造が容易になる。
【0010】
(4)上記(1)~(3)の何れか1つの建築物において、前記第1防水層は、前記内側部材における前記外側部材側の面に設けられた第1防水シートによって構成されている。
(【0011】以降は省略されています)
この特許をJ-PlatPat(特許庁公式サイト)で参照する
関連特許
個人
留め具
1か月前
個人
鍋虫ねじ
3か月前
個人
波動歯車装置
1日前
個人
紛体用仕切弁
3か月前
個人
ジョイント
2か月前
個人
給排気装置
2か月前
個人
ナット
1か月前
個人
ナット
2か月前
個人
吐出量監視装置
3か月前
個人
ゲート弁バルブ
22日前
カヤバ株式会社
緩衝器
2か月前
兼工業株式会社
バルブ
1か月前
アズビル株式会社
回転弁
2か月前
株式会社ニフコ
クリップ
2か月前
株式会社奥村組
制振機構
2か月前
株式会社不二工機
電磁弁
3か月前
株式会社ノーリツ
分配弁
2か月前
株式会社不二工機
電動弁
2か月前
株式会社奥村組
制振機構
2か月前
株式会社ニフコ
クリップ
22日前
竹内工業株式会社
ラッチ
7日前
株式会社三五
ドライブシャフト
1か月前
アマテイ株式会社
釘
1か月前
株式会社ノナガセ
免震装置
1か月前
アズビル株式会社
連結装置
3日前
アズビル株式会社
連結装置
3日前
アイホン株式会社
電気機器
2か月前
個人
誘導電流活用式差動制限装置
2か月前
株式会社不二越
玉軸受
1日前
カヤバ株式会社
シリンダ装置
8日前
Astemo株式会社
緩衝器
1か月前
Astemo株式会社
電磁弁
2か月前
カヤバ株式会社
シリンダ装置
1か月前
個人
無段変速可能なフリーホイール
2か月前
金子産業株式会社
筐体
23日前
株式会社山谷設備
被覆除去具
14日前
続きを見る
他の特許を見る