TOP
|
特許
|
意匠
|
商標
特許ウォッチ
Twitter
他の特許を見る
公開番号
2025170578
公報種別
公開特許公報(A)
公開日
2025-11-19
出願番号
2024075271
出願日
2024-05-07
発明の名称
剥離装置及び、当該剥離装置を用いた剥離方法
出願人
積水ハウス株式会社
代理人
個人
,
個人
主分類
B65H
41/00 20060101AFI20251112BHJP(運搬;包装;貯蔵;薄板状または線条材料の取扱い)
要約
【課題】離型紙に設けられたシート部材を安定的に引き剥がすこと。
【解決手段】離型紙上にシート部材を有するワークからシート部材を剥離する剥離装置であって、シート部材は、一定間隔の切れ込みにより、複数枚に区切られ、個々が離されていない未分割シート部材であり、離型紙からシート部材の剥離を行う剥離ステージと、傾斜された状態の平滑面を備え、ワークの位置合わせをする位置合わせ台と、ワークを位置合わせ台から剥離ステージへ移動させる第1アームと、未分割シート部材の上面をそれぞれ吸着する複数の吸着部、及び吸着部の間隔を変更する間隔変更機構を備える第2アームと、を有し、剥離ステージは、ワークが載置される剥離台と、剥離台の下方から離型紙を吸引する吸引部と、離型紙がシート部材からはみ出た余白部Mを把持し、把持した箇所を基点としてシート部材と逆方向に回転するクランプ部と、を備える。
【選択図】図1
特許請求の範囲
【請求項1】
離型紙上にシート部材を有するワークから前記シート部材を剥離する剥離装置であって、
前記シート部材は、一定間隔の切れ込みにより複数枚に区切られ、個々が離されてない未分割シート部材であり、
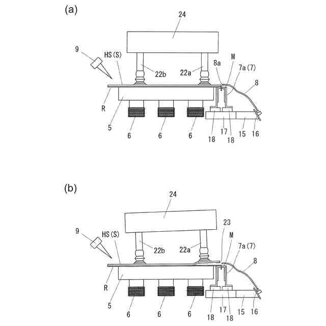
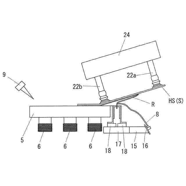
前記離型紙から前記シート部材の剥離を行う剥離ステージと、
傾斜された状態の平滑面を備え、前記ワークの位置合わせをする位置合わせ台と、
前記ワークを前記位置合わせ台から前記剥離ステージへ移動させる第1アームと、
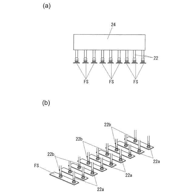
前記未分割シート部材の上面をそれぞれ吸着する複数の吸着部、及び前記吸着部の間隔を変更する間隔変更機構を備える第2アームと、
を有し、
前記剥離ステージは、
前記ワークが載置される剥離台と、
前記剥離台の下方から前記離型紙を吸引する吸引部と、
前記離型紙のうち前記シート部材からはみ出た余白部を把持し、把持した箇所を基点として前記シート部材と逆方向に回転するクランプ部と、
を備えることを特徴とする剥離装置。
続きを表示(約 770 文字)
【請求項2】
前記位置合わせ台の前記平滑面の面下にヒータを備えることを特徴とする請求項1に記載の剥離装置。
【請求項3】
前記位置合わせ台は、前記平滑面上において、
前記ワークの第1方向の動きを塞き止める第1ストッパー部と、
前記ワークの前記第1方向と直角の第2方向の動きを塞き止める第2ストッパー部と、
を備えることを特徴とする請求項1に記載の剥離装置。
【請求項4】
請求項1から請求項3のいずれか一項に記載の剥離装置を用いた剥離方法であって、
前記吸引部が前記離型紙の下方から吸引する、吸引工程と、
前記クランプ部が、前記余白部を把持する、把持工程、及び把持した箇所を基点として前記シート部材と逆方向に回転して前記余白部を捲る、捲り工程と、
前記吸着部が各前記未分割シート部材の上方をそれぞれ吸着する、吸着工程と、
前記吸引工程、前記捲り工程、及び前記吸着工程後、前記第2アームが前記吸着部を前記切り込み方向の前後に微揺動させる、微揺動工程と、
を有することを特徴とする剥離方法。
【請求項5】
請求項1から請求項3のいずれか一項に記載の剥離装置を用いた剥離方法であって、
前記微揺動工程を行った後、前記クランプ部が前記余白部を把持しつつ、前記吸着部が、各前記未分割シート部材の上方をそれぞれ吸着したまま前記第2アームが移動することにより、前記未分割シート部材を前記離型紙から剥離する、剥離工程と、
前記剥離工程後、前記間隔変更機構が前記吸着部間の間隔を拡げて、前記未分割シート部材を個々に離した分割シート部材にする、分割工程と、
を有することを特徴とする請求項4に記載の剥離方法。
発明の詳細な説明
【技術分野】
【0001】
本発明は、離型紙からシート部材を剥離する剥離装置及びその剥離方法に関するものである。
続きを表示(約 1,400 文字)
【背景技術】
【0002】
従来、離型紙上に長さ方向に並列して複数枚設けられたシート部材を剥離する作業は、全て手作業で行われており、1枚ずつシート部材を剥がしていた。
【0003】
人手でシート部材を1枚ずつ剥がすとなると、効率が悪く自動化及び省力化することが求められていた。そこで、特許文献1では、移動装置側の送り動作とローラ側の引き取り動作を一致させ、離型紙の引き剥がし作業を行うことが可能な剥離装置、及び離型紙の剥離方法が開示されている。
【先行技術文献】
【特許文献】
【0004】
特開2009-227358
【発明の概要】
【発明が解決しようとする課題】
【0005】
しかし、特許文献1に記載の剥離装置、及び剥離方法では、シート部材は、直線的な動きになるため、離型紙の破れやめくり不良が発生し、離型紙からシート部材を引き剥がすことが難しかった。
【0006】
そこで、本発明は上記事情を鑑みたものであって、離型紙から安定的にシート部材を引き剥がす剥離装置、及び当該剥離装置を用いた剥離方法を提供するものである。
【課題を解決するための手段】
【0007】
本発明に係る剥離装置は、離型紙上にシート部材を有するワークから前記シート部材を剥離する剥離装置であって、前記シート部材は、一定間隔の切れ込みにより、複数枚に区切られ、個々が離されていない未分割シート部材であり、前記離型紙から前記シート部材の剥離を行う剥離ステージと、傾斜された状態の平滑面を備え、前記ワークの位置合わせをする位置合わせ台と、前記ワークを前記位置合わせ台から前記剥離ステージへ移動させる第1アームと、前記未分割シート部材の上面をそれぞれ吸着する複数の吸着部、及び前記吸着部の間隔を変更する間隔変更機構を備える第2アームと、を有し、前記剥離ステージは、前記ワークが載置される剥離台と、前記剥離台の下方から前記離型紙を吸引する吸引部と、前記離型紙のうち前記シート部材からはみ出た余白部を把持し、把持した箇所を基点として前記シート部材と逆方向に回転するクランプ部と、を備えることを特徴とした剥離装置である。
【0008】
さらに、前記位置合わせ台の前記平滑面の面下にヒータを備えることを特徴とした剥離装置である。
【0009】
さらに、前記位置合わせ台は、前記平滑面上において、前記ワークの第1方向の動きを塞き止める第1ストッパー部と、前記ワークの前記第1方向と直角の第2方向の動きを塞き止める第2ストッパー部と、が設けられていることを特徴とした剥離装置である。
【0010】
さらに、上記に記載の剥離装置を用いた剥離方法であって、前記吸引部が前記離型紙の下方から吸引する、吸引工程と、前記クランプ部が、前記余白部を把持する、把持工程、及び把持した箇所を基点として前記未分割シート部材と逆方向に回転して前記余白部を捲る、捲り工程と、前記吸着部が各前記未分割シート部材の上方をそれぞれ吸着する、吸着工程と、前記第2アームが前記吸着部を前記切り込み方向の前後に微揺動させる、微揺動工程と、を有することを特徴とした剥離方法である。
(【0011】以降は省略されています)
この特許をJ-PlatPat(特許庁公式サイト)で参照する
関連特許
個人
束ね具
1か月前
個人
収容箱
4か月前
個人
コンベア
6か月前
個人
バンド
3か月前
個人
テープ引出機
1か月前
個人
楽ちんハンド
6か月前
個人
角筒状構造体
7か月前
個人
廃棄物収容容器
4か月前
個人
お薬の締結装置
7か月前
個人
包装容器
2か月前
個人
棒状体収容容器
1か月前
個人
積み重ね用補助具
4か月前
個人
把手付米袋
6か月前
株式会社バンダイ
物品
2か月前
株式会社コロナ
梱包材
7か月前
株式会社和気
包装用箱
1か月前
個人
蓋閉止構造
5か月前
個人
蓋閉止構造
5か月前
株式会社新弘
容器
4か月前
個人
介護用コップ
3か月前
個人
コード折り畳み器具
5か月前
三甲株式会社
容器
7か月前
三甲株式会社
容器
3か月前
株式会社KY7
封止装置
4か月前
株式会社ナベル
検査装置
1か月前
三甲株式会社
容器
7か月前
三甲株式会社
容器
1か月前
株式会社デュプロ
制御装置
5か月前
個人
反射板のある袋
4か月前
三甲株式会社
運搬具
22日前
個人
袋の自立保持具
6か月前
個人
ブリスタ包装体
3か月前
個人
テープカッター
5か月前
株式会社ナベル
卵充填装置
今日
個人
簡単レジ袋オープナー
4か月前
個人
計量キャップ付き容器
21日前
続きを見る
他の特許を見る