TOP
|
特許
|
意匠
|
商標
特許ウォッチ
Twitter
他の特許を見る
公開番号
2025181545
公報種別
公開特許公報(A)
公開日
2025-12-11
出願番号
2024093806
出願日
2024-06-10
発明の名称
卵充填装置
出願人
株式会社ナベル
代理人
主分類
B65B
23/08 20060101AFI20251204BHJP(運搬;包装;貯蔵;薄板状または線条材料の取扱い)
要約
【課題】卵トレイに卵を充填する卵充填装置において、その構成をシンプルにしつつ処理スピードを向上する。
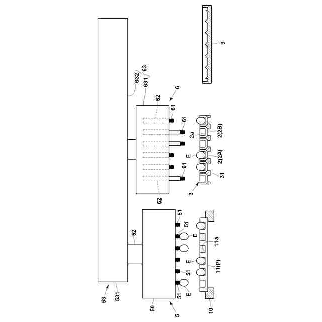
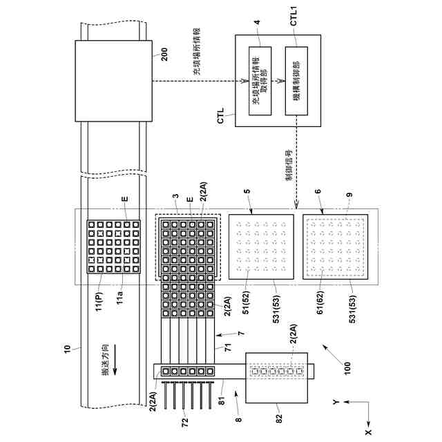
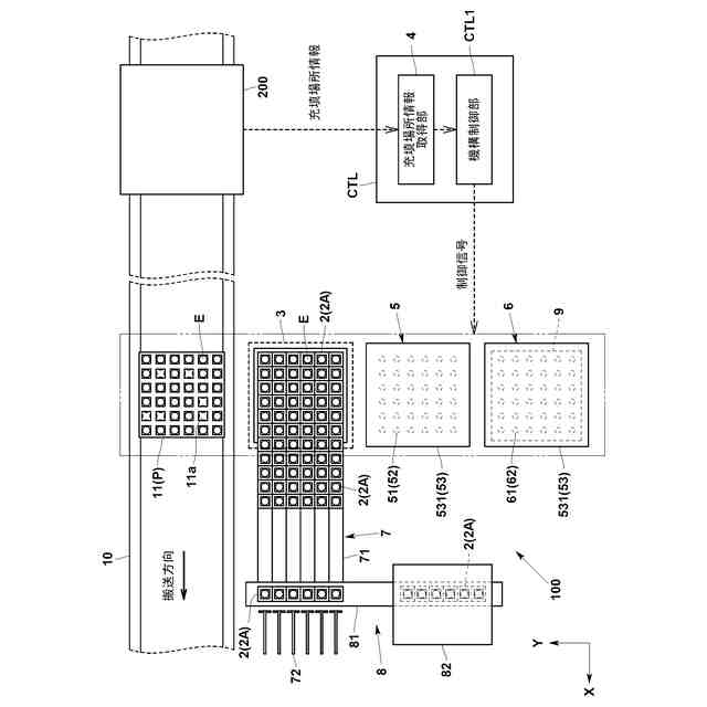
【解決手段】卵トレイ11に卵Eを充填する卵充填装置100であって、卵Eが1つずつ載置された卵有りカップ2Aが集合する個卵カップ集合部3と、卵トレイ11において卵Eを充填すべき場所の情報を取得する充填場所情報取得部4と、充填場所情報取得部4が取得した充填場所情報に基づいて、個卵カップ集合部3にある卵有りカップ2Aから卵トレイ11に卵Eを移し替える卵移し替え機構5と、個卵カップ集合部3から空カップ2Bを排除する個卵カップ排除機構6とを備える。
【選択図】図1
特許請求の範囲
【請求項1】
卵トレイに卵を充填する卵充填装置であって、
卵が1つずつ載置された複数の個卵カップが集合する個卵カップ集合部と、
前記卵トレイにおいて卵を充填すべき場所の情報を取得する充填場所情報取得部と、
前記充填場所情報取得部が取得した充填場所情報に基づいて、前記個卵カップ集合部にある個卵カップから前記卵トレイに卵を移し替える卵移し替え機構と、
前記個卵カップ集合部から空になった個卵カップを排除する個卵カップ排除機構とを備える、卵充填装置。
続きを表示(約 170 文字)
【請求項2】
前記個卵カップ排除機構は、前記卵移し替え機構による卵の移し替え動作中において、前記個卵カップ集合部から空になった個卵カップを排除する、請求項1に記載の卵充填装置。
【請求項3】
前記個卵カップ集合部に卵が載置された個卵カップを補充する個卵カップ補充機構をさらに備える、請求項1又は2に記載の卵充填装置。
発明の詳細な説明
【技術分野】
【0001】
本発明は、卵トレイに卵を充填する卵充填装置に関するものである。
続きを表示(約 1,400 文字)
【背景技術】
【0002】
鶏卵等に代表される卵には、食用のための卵の他に、雛を生産するための卵や、ワクチンを生産するための卵等がある。このような卵は、セッタートレイ等の卵トレイに載置され、孵卵器での孵卵工程が行われる。
【0003】
従来では、孵卵工程の前又は途中において、卵トレイに載置された複数の卵を卵検査装置で検査し、非生存卵等の不良卵が取り除かれている。そして、卵トレイにおいて不良卵が取り除かれた場所には、新たに生存卵が充填される。
【0004】
ここで、卵トレイに新たに生存卵を充填する方法としては、手作業の他に、特許文献1に示す安定化設備(卵トレイに卵を充填する設備)が考えられている。
【0005】
特許文献1に示す安定化設備は、卵が載置される複数のセルを有するリザーバと、リザーバ及び卵トレイの間で卵を移送する移送プレートとを有するものである。このリザーバにおいて、複数のセルはガイドレールによって移動可能に設けられている。そして、リザーバでは、駆動手段によりガイドレールに沿ってセルを移動させて、卵トレイの卵を補充すべき場所に対応するようにセルを配置している。その後、移送プレートがリザーバ及び卵トレイの間で卵を移送する。
【0006】
しかしながら、上記の安定化装置は、リザーバにあるセルを、卵トレイの卵を補充すべき場所に対応するように移動させる必要があり、そのための構成が複雑であり、装置コストも増大してしまう。また、リザーバにあるセルを移動させる動作が必要となり時間がかかってしまい、処理スピードを向上させることが難しい。
【先行技術文献】
【特許文献】
【0007】
特許第6629752号公報
【発明の概要】
【発明が解決しようとする課題】
【0008】
そこで、本発明は、卵トレイに卵を充填する卵充填装置において、その構成をシンプルにしつつ、卵の充填の処理スピードを向上することを課題とするものである。
【課題を解決するための手段】
【0009】
すなわち、本発明に係る卵充填装置は、卵トレイに卵を充填する卵充填装置であって、卵が1つずつ載置された複数の個卵カップが集合する個卵カップ集合部と、前記卵トレイにおいて卵を充填すべき場所の情報を取得する充填場所情報取得部と、前記充填場所情報取得部が取得した充填場所情報に基づいて、前記個卵カップ集合部にある個卵カップから前記卵トレイに卵を移し替える卵移し替え機構と、前記個卵カップ集合部から空になった個卵カップを排除する個卵カップ排除機構とを備えることを特徴とする。
【0010】
この卵充填装置であれば、卵が1つずつ載置された複数の個卵カップを個卵カップ集合部に集合させておき、充填場所情報に基づいて卵移し替え機構により個卵カップ集合部にある個卵カップから卵トレイに卵を移し替えているので、複数の個卵カップを用いて卵トレイに卵を自動的に充填することができる。また、個卵カップ集合部から空になった個卵カップを排除しているので、排除された個卵カップの数だけ、卵が載置された個卵カップを補充すれば良い。これらの構成により、卵トレイに卵を充填する卵充填装置において、その構成をシンプルにしつつ卵の充填の処理スピードを向上することができる。
(【0011】以降は省略されています)
この特許をJ-PlatPat(特許庁公式サイト)で参照する
関連特許
他の特許を見る