TOP
|
特許
|
意匠
|
商標
特許ウォッチ
Twitter
他の特許を見る
10個以上の画像は省略されています。
公開番号
2025129850
公報種別
公開特許公報(A)
公開日
2025-09-05
出願番号
2024026773
出願日
2024-02-26
発明の名称
容器
出願人
三甲株式会社
代理人
個人
主分類
B65D
81/38 20060101AFI20250829BHJP(運搬;包装;貯蔵;薄板状または線条材料の取扱い)
要約
【課題】断熱効果の高い真空断熱材を設置し、保冷性・保温性の向上を図ることのできる容器を提供する。
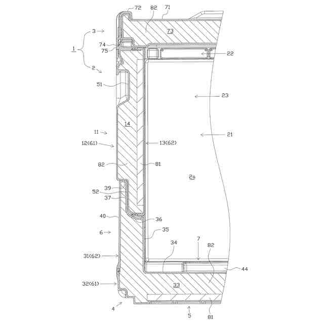
【解決手段】容器1は、平面視略矩形状をなす底壁構成部4と、底壁構成部4の各側辺部の上方に立設される起立姿勢と、底壁構成部4の中央部側に畳まれる折畳姿勢とに姿勢変化可能な側壁部11、21とを備え、全ての側壁部11、21が起立姿勢とされた組立状態と、全ての側壁部11、21が折畳姿勢とされた折畳状態とに状態変化可能に構成されている。側壁部11、21、及び、底壁構成部4は、それぞれ第1部材61と、第1部材61との間に内部空間14、33を形成する第2部材62とを備え、第1部材61、及び、第2部材62は合成樹脂により構成され、内部空間14、33には、真空断熱材81と、発泡樹脂製の断熱部材82とが設けられている。
【選択図】 図11
特許請求の範囲
【請求項1】
平面視略矩形状をなす底壁構成部と、
前記底壁構成部の各側辺部の上方にそれぞれ立設される起立姿勢と、前記底壁構成部の中央部側に畳まれる折畳姿勢とに姿勢変化可能な複数の側壁部とを備え、
全ての前記側壁部が前記起立姿勢とされた組立状態と、全ての前記側壁部が前記折畳姿勢とされた折畳状態とに状態変化可能な容器において、
前記側壁部、及び、前記底壁構成部のうち、少なくとも所定の前記側壁部は、第1部材と、前記第1部材との間に内部空間を形成する第2部材とを備え、
前記第1部材、及び、前記第2部材は合成樹脂により構成され、
前記内部空間には、真空断熱材と、発泡樹脂製の断熱部材とが設けられることを特徴とする容器。
続きを表示(約 1,500 文字)
【請求項2】
前記断熱部材は、注入タイプの発泡樹脂を前記内部空間に注入して発泡及び硬化させることにより構成され、
前記真空断熱材が設けられた前記側壁部のうち前記容器の収容空間を画定する面の内外周方向において、前記内部空間に設置された前記真空断熱材と、前記第1部材及び前記第2部材との間に、前記第1部材から前記第2部材にかけて前記断熱部材が配置され、当該断熱部材と前記第1部材及び前記第2部材とが物理的又は化学的に接合される領域が設けられていることを特徴とする請求項1に記載の容器。
【請求項3】
前記側壁部を構成する前記第1部材は当該側壁部の外面側を構成し、前記側壁部を構成する前記第2部材は当該側壁部の内面側を構成し、
所定の前記側壁部の前記第1部材は、外面側において前記内部空間側に窪む手掛け部を備え、
前記手掛け部を備える前記側壁部には、当該側壁部の厚み方向において前記手掛け部と重なる範囲を含むようにして配置された前記真空断熱材が設けられていることを特徴とする請求項1又は2に記載の容器。
【請求項4】
前記真空断熱材は前記内部空間において前記第2部材側に設けられ、前記手掛け部と前記真空断熱材との間には、注入タイプの発泡樹脂を前記内部空間に注入して発泡及び硬化させることにより構成された前記断熱部材が設けられていることを特徴とする請求項3に記載の容器。
【請求項5】
前記側壁部は、前記底壁構成部に対して回動変位可能に連結され、
前記側壁部は、前記容器が前記組立状態から前記折畳状態とされる場合に先に前記折畳姿勢とされる相対する一対の先畳み側壁部と、前記折畳姿勢とされた前記先畳み側壁部の上方に前記折畳姿勢とされる相対する一対の後畳み側壁部とを備え、
前記後畳み側壁部は、前記第2部材が下側となる向きで前記折畳姿勢とされ、
前記手掛け部は、前記後畳み側壁部に設けられることを特徴とする請求項4に記載の容器。
【請求項6】
前記底壁構成部は、平面視略矩形状をなす底壁部と、前記底壁部の側辺部に沿ってそれぞれ上方に突出する土台部とを備え、
前記土台部に対して、前記側壁部が前記起立姿勢と前記折畳姿勢との間を回動変位可能に連結され、
前記底壁構成部は、前記第1部材と前記第2部材とを備え、
前記底壁構成部の前記内部空間は、前記底壁部に対応する部位、及び、前記土台部に対応する部位に延在し、
前記底壁構成部の前記内部空間のうち所定の前記土台部に対応する部位には、前記真空断熱材と前記断熱部材とが設けられることを特徴とする請求項1に記載の容器。
【請求項7】
平面視略矩形状をなす底壁構成部と、前記底壁構成部の各側辺部の上方に立設される側壁部とを備える容器において、
前記側壁部、及び、前記底壁構成部のうち、少なくとも所定の前記側壁部は、第1部材と、前記第1部材との間に内部空間を形成する第2部材とを備え、
前記第1部材、及び、前記第2部材は合成樹脂により構成され、
前記内部空間には、真空断熱材と、発泡樹脂製の断熱部材とが設けられ、
前記側壁部を構成する前記第1部材は当該側壁部の外面側を構成し、前記側壁部を構成する前記第2部材は当該側壁部の内面側を構成し、
所定の前記側壁部の前記第1部材は、外面側において前記内部空間側に窪む手掛け部を備え、
前記手掛け部を備える前記側壁部には、当該側壁部の厚み方向において前記手掛け部と重なる範囲を含むようにして配置された前記真空断熱材が設けられていることを特徴とする容器。
発明の詳細な説明
【技術分野】
【0001】
本発明は、物品を収容可能な容器に関するものである。
続きを表示(約 2,000 文字)
【背景技術】
【0002】
従来、物品の運搬等に使用される容器として、上方に開口する箱状の容器本体と、容器本体に被せられる蓋体とを備える容器が知られている。また、容器本体、及び、蓋体を、それぞれ容器の外側を構成する外側部材と、容器の内側を構成する内側部材とを組付けて内部空間が形成されるように構成するとともに、当該内部空間に断熱部材を設けて、保冷性・保温性を高めるといった技術がある(例えば、特許文献1等参照。)。
【先行技術文献】
【特許文献】
【0003】
特開2008-56312号公報
【発明の概要】
【発明が解決しようとする課題】
【0004】
ところで、上記した内部空間に対し、断熱材を包装して当該断熱材の周囲を真空状態とした真空断熱材を効果的に設置し、保冷性・保温性の向上を図ることが望まれている。
【0005】
本発明は、上記例示した問題点等を解決するためになされたものであって、その目的は、断熱効果の高い真空断熱材を設置し、保冷性・保温性の向上を図ることのできる容器を提供することにある。
【課題を解決するための手段】
【0006】
以下、上記目的等を解決するのに適した各手段につき項分けして説明する。なお、必要に応じて対応する手段に特有の作用効果等を付記する。
【0007】
手段1.平面視略矩形状をなす底壁構成部と、
前記底壁構成部の各側辺部の上方にそれぞれ立設される起立姿勢と、前記底壁構成部の中央部側に畳まれる折畳姿勢とに姿勢変化可能な複数の側壁部とを備え、
全ての前記側壁部が前記起立姿勢とされた組立状態と、全ての前記側壁部が前記折畳姿勢とされた折畳状態とに状態変化可能な容器において、
前記側壁部、及び、前記底壁構成部のうち、少なくとも所定の前記側壁部は、第1部材と、前記第1部材との間に内部空間を形成する第2部材とを備え、
前記第1部材、及び、前記第2部材は合成樹脂により構成され、
前記内部空間には、真空断熱材と、発泡樹脂製の断熱部材とが設けられることを特徴とする容器。
【0008】
手段1によれば、内部空間に対し、比較的断熱性能の高い真空断熱材だけでなく、形状を自由に設定可能な発泡樹脂製の断熱部材を設けることにより、断熱部材によって、内部空間のうち真空断熱材の設置領域以外の隙間を埋めつつ、真空断熱材の位置決めをより確実に行うことができる。従って、真空断熱材の位置が所期の位置からずれて断熱効果が上手く発揮されない、真空断熱材が設置された領域以外の断熱性能が低くなり過ぎる、容器の運搬等に際し内部空間において真空断熱材が相対変位して真空断熱材が損傷する、或いは、真空断熱材を内部空間に対して直接嵌合するような設計とした場合に真空断熱材の装着時等に際して真空断熱材が損傷する等といった事態を回避することができる。結果として、断熱効果の高い真空断熱材を効果的に設置して、容器の保冷性・保温性の向上を確実に図ることができる。
【0009】
手段2.前記断熱部材は、注入タイプの発泡樹脂を前記内部空間に注入して発泡及び硬化させることにより構成され、
前記真空断熱材が設けられた前記側壁部のうち前記容器の収容空間を画定する面の内外周方向において、前記内部空間に設置された前記真空断熱材と、前記第1部材及び前記第2部材との間に、前記第1部材から前記第2部材にかけて前記断熱部材が配置され、当該断熱部材と前記第1部材及び前記第2部材とが物理的又は化学的に接合される領域が設けられていることを特徴とする手段1に記載の容器。
【0010】
手段2によれば、真空断熱材を断熱部材で保持する作用効果がより確実に奏される上、内部空間のうち真空断熱材の設置領域以外を断熱部材で埋めて断熱性能を高める等といった作用効果がより顕著に奏される。また、内部空間において第1部材から第2部材にかけて断熱部材が配置され、当該断熱部材と第1部材及び第2部材とが接合(吸着)される領域が確保されることにより、断熱部材を介して、第1部材と、第2部材とを連結させることができる。従って、第1部材、第2部材、及び、断熱部材が一体化されるとともに、真空断熱材がより強固に保持されることとなり、真空断熱材及び断熱部材が設けられた対象部材の形状の安定化、ひいては、強度・剛性の向上等を図ることができる。さらに、第1部材と第2部材とを直接固着させる必要がなく、断熱部材を内部空間の形状に合わせて予め成形する必要もなく、製造作業性の向上等を図ることができる。
(【0011】以降は省略されています)
この特許をJ-PlatPat(特許庁公式サイト)で参照する
関連特許
三甲株式会社
容器
20日前
三甲株式会社
容器
1か月前
三甲株式会社
容器
1か月前
三甲株式会社
容器
1か月前
三甲株式会社
容器
2か月前
三甲株式会社
パレット
2か月前
三甲株式会社
パレット
2か月前
三甲株式会社
端部パーツ
2か月前
三甲株式会社
蓋付き容器
18日前
三甲株式会社
物品支持部材
9日前
三甲株式会社
仕切り付き容器
2か月前
三甲株式会社
仕切り付き容器
2か月前
三甲株式会社
容器
3か月前
三甲株式会社
パレット
1か月前
三甲株式会社
買い物カゴ
24日前
三甲株式会社
蓋付きゴミ箱
2か月前
三甲株式会社
蓋付き容器、連動部材及び容器の積み重ね構造
2か月前
個人
収容箱
3か月前
個人
コンベア
4か月前
個人
ゴミ収集器
6か月前
個人
段ボール箱
6か月前
個人
段ボール箱
6か月前
個人
容器
9か月前
個人
土嚢運搬器具
8か月前
個人
楽ちんハンド
4か月前
個人
バンド
1か月前
個人
宅配システム
6か月前
個人
角筒状構造体
5か月前
個人
コード類収納具
8か月前
個人
閉塞装置
9か月前
個人
お薬の締結装置
5か月前
個人
廃棄物収容容器
2か月前
個人
包装容器
1か月前
株式会社コロナ
梱包材
5か月前
個人
把手付米袋
4か月前
個人
貯蔵サイロ
6か月前
続きを見る
他の特許を見る