TOP
|
特許
|
意匠
|
商標
特許ウォッチ
Twitter
他の特許を見る
10個以上の画像は省略されています。
公開番号
2025166300
公報種別
公開特許公報(A)
公開日
2025-11-06
出願番号
2024070213
出願日
2024-04-24
発明の名称
緩衝材
出願人
三甲株式会社
代理人
個人
,
個人
主分類
B65D
81/113 20060101AFI20251029BHJP(運搬;包装;貯蔵;薄板状または線条材料の取扱い)
要約
【課題】複数種類の荷物の兼用可能な緩衝材を提供する。
【解決手段】本開示の緩衝材10Aは、荷物91A,91Bと共に箱体90に収容され、荷物91A,91Bを挟んで対向配置される緩衝材である。また、緩衝材10Aは、荷物91A,91Bに宛がわれる板状本体部11と、板状本体部11から突出する突部12T,13T,15T,16Tと、板状本体部11に形成され、板状本体部11に別の緩衝材10Aの板状本体部11を重ね合わせたときに、別の緩衝材10Aの突部12T,13T,15T,16Tを受容可能な突部受容部12J,13J,15J,16Jと、を備える。
【選択図】図1
特許請求の範囲
【請求項1】
荷物と共に箱体に収容され、荷物を挟んで対向配置される緩衝材であって、
前記荷物に宛がわれる板状本体部と、
前記板状本体部から突出する突部と、
前記板状本体部に形成され、前記板状本体部に別の緩衝材の前記板状本体部を重ね合わせたときに、別の緩衝材の前記突部を受容可能な突部受容部と、を備える緩衝材。
続きを表示(約 760 文字)
【請求項2】
前記突部は、前記板状本体部から前記箱体の内面に向かって突出し、前記箱体内での前記緩衝材の移動を規制する位置規制突部である請求項1に記載の緩衝材。
【請求項3】
前記突部は、前記板状本体部の下端部に配置され、
前記板状本体部は、前記突部を前記箱体の底面に当接させて自立可能である請求項1又は2に記載の緩衝材。
【請求項4】
前記板状本体部は、その幅方向の中間部を前記箱体の対角線上に配置され、
前記突部は、前記板状本体部から前記箱体の角部に向かって突出し、前記板状本体部のうち前記突部より上側で空間を挟んで前記箱体の内面と対向する部分に指掛部を備える請求項1又は2に記載の緩衝材。
【請求項5】
前記突部には、前記板状本体部の幅方向の中間部に配置される第1突部と、前記板状本体部の幅方向の両端部から突出し、前記箱体の1対の側壁に当接する1対の第2突部とが含まれ、
前記突部受容部には、前記第1突部を受容可能な第1突部受容部と、前記1対の第2突部を受容可能な1対の第2突部受容部と、が含まれる請求項1又は2に記載の緩衝材。
【請求項6】
前記突部及び前記突部受容部には、緩衝材と別の緩衝材の前記板状本体部同士が重ね合わされた状態で、外側又は内側のうち一方の前記板状本体部を上方に引くだけで他方の前記板状本体部も上方に引き上げられるように凹凸係合する特別突部と特別突部受容部とが含まれる請求項1又は2に記載の緩衝材。
【請求項7】
前記突部には、前記板状本体部の幅方向の両端部における上端部から突出すると共に前記箱体の1対の側壁に当接する1対のサイド特別突部が含まれる請求項2に記載の緩衝材。
発明の詳細な説明
【技術分野】
【0001】
本開示は、荷物と共に箱体に収容される緩衝材に関する。
続きを表示(約 2,000 文字)
【背景技術】
【0002】
従来、この種の緩衝材として、箱体に丁度嵌合する直方体状をなし、一つの面に荷物が嵌合する荷物嵌合凹部を備えたものが知られている(例えば、特許文献1参照)。
【先行技術文献】
【特許文献】
【0003】
実公昭56-33895号公報(第5図)
【発明の概要】
【発明が解決しようとする課題】
【0004】
しかしながら、上述の従来の緩衝材は、大きさが異なる荷物毎に、荷物嵌合凹部の大きさが異なる緩衝材を複数種類用意する必要があり、製造コストが高くなることが問題になっている。そこで、本願では、複数種類の荷物の兼用可能な緩衝材を提供する。
【課題を解決するための手段】
【0005】
上記課題を解決するためになされた本開示の一態様は、荷物と共に箱体に収容され、荷物を挟んで対向配置される緩衝材であって、前記荷物に宛がわれる板状本体部と、前記板状本体部から突出する突部と、前記板状本体部に形成され、前記板状本体部に別の緩衝材の前記板状本体部を重ね合わせたときに、別の緩衝材の前記突部を受容可能な突部受容部と、を備える緩衝材である。
【発明の効果】
【0006】
本開示の一態様の緩衝材は、荷物に宛がわれる板状本体部に突部と突部受容部とを備えた構造をなしている。そして、複数の緩衝材の板状本体部同士を重ね合わせたときに、一方の緩衝材の突部が他方の緩衝材の突部受容部に受容される。これにより、荷物と箱体の内面との間に隙間の大きさに応じて重ね合わされる板状本体部の数(即ち、使用される緩衝材の数)を変更することで、大きさが異なる複数種類の荷物に対して同じ緩衝材で対応することができる。また、複数の緩衝材が重ね合わされたときに、突部と突部受容部との係合により緩衝材同士のズレが抑えられ、箱体内で緩衝材及び荷物が安定する。
【図面の簡単な説明】
【0007】
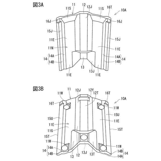
図1Aは、第1実施形態の箱体、荷物及び緩衝材の斜視図、図1Bは、箱体、荷物及び2枚重ねの緩衝材の斜視図
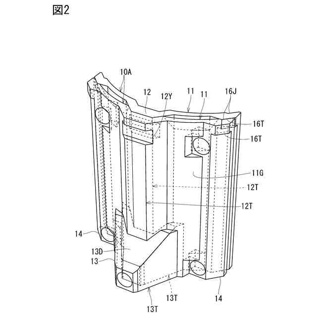
図2は、2枚重ねの緩衝材の斜視図
図3Aは、緩衝材の内面側の斜視図、図3Bは、緩衝材の外面側の斜視図
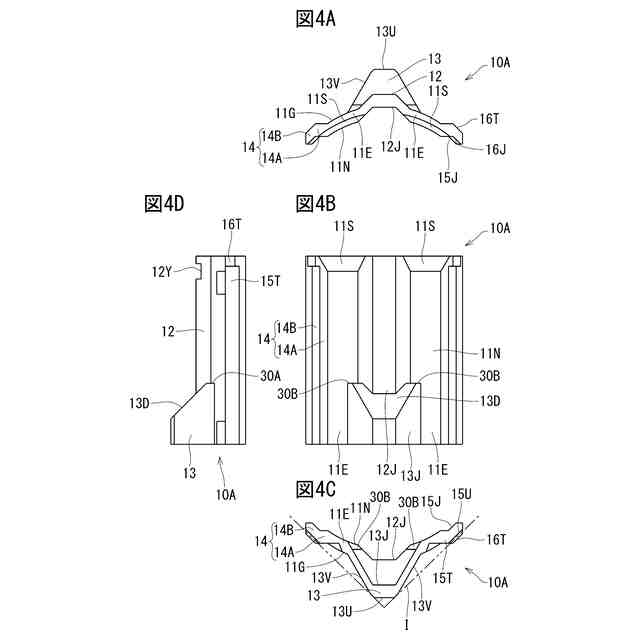
図4Aは、緩衝材の平面図、図4Bは、緩衝材の正面図、図4Cは、緩衝材の底面図、図4Dは、緩衝材の側面図
図5は、箱体、荷物及び緩衝材の一部拡大の斜視図
図6Aは、箱体、荷物及び緩衝材の平面図、図6Bは、箱体、荷物及び2枚重ねの緩衝材の平面図
図7Aは、2枚重ねの緩衝材の平面図、図7Bは、2枚重ねの緩衝材の底面図
図8Aは、中央と粒の側断面、図8Bは、中央突部の変形例の側断面図
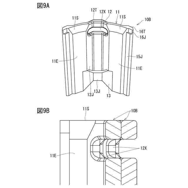
図9Aは、第2実施形態の緩衝材の内面側の斜視図、図9Bは、2枚重ねの緩衝材の側断面図
図10Aは、第3実施形態の箱体、荷物及び緩衝材の平面図、図10Bは、箱体、荷物及び2枚重ねの緩衝材の平面図
図11Aは、第4実施形態の緩衝材の斜視図、図11Bは、箱体、荷物及び2枚重ねの緩衝材の平面図
図12Aは、第5実施形態の箱体、荷物及び緩衝材の平面図、図12Bは、箱体、荷物及び2枚重ねの緩衝材の平面図
図13Aは、変形例に係る緩衝材と箱体及び荷物の平面図、図13Bは、変形例に係る2枚重ね状態の緩衝材と、箱体及び荷物の平面図
図14Aは、変形例に係る緩衝材と箱体及び荷物の平面図、図14Bは、変形例に係る2枚重ね状態の緩衝材と、箱体及び荷物の平面図
【発明を実施するための形態】
【0008】
[第1実施形態]
図1~図8を参照して、本開示の第1実施形態の緩衝材10Aについて説明する。図1Aには、箱体90に、荷物91Aと共に本実施形態の緩衝材10Aが複数収容された状態が示されている。箱体90は、例えば、上面が開放しかつ平面形状が正方形の樹脂容器である。荷物91Aは、箱体90に全体が収まる大きさの円柱状をなしている。また、図1Bに示すように、荷物91A用と同じ大きさの箱体90が、荷物91Aより外径が小さい円柱状の荷物91Bの収容にも使用される。以下、荷物91A,91Bを区別しない場合には、「荷物91A等」ということとする。
【0009】
なお、箱体90は樹脂製に限定されるものではなく、紙製、金属製、又は木製であってもよい。また、荷物91A等は、円柱状のものに限定されるものではなく、例えば、球状、角柱状、直方体状、その他、どのような形状であってもよい。
【0010】
緩衝材10Aは、例えば、ビーズ法ポリスチレンフォームの成形品であり、図2に示すように、荷物91A等に宛がわれる板状本体部11に複数の突部及び凹部を備え、左右対称な形状をなしている。
(【0011】以降は省略されています)
この特許をJ-PlatPat(特許庁公式サイト)で参照する
関連特許
三甲株式会社
容器
1か月前
三甲株式会社
容器
3日前
三甲株式会社
容器
10日前
三甲株式会社
容器
2か月前
三甲株式会社
容器
1か月前
三甲株式会社
容器
1か月前
三甲株式会社
運搬具
19日前
三甲株式会社
運搬具
1か月前
三甲株式会社
緩衝材
1か月前
三甲株式会社
容器セット
3日前
三甲株式会社
蓋付き容器
2か月前
三甲株式会社
物品支持部材
1か月前
三甲株式会社
容器セットおよび容器
4日前
株式会社カインズ
容器
3日前
株式会社カインズ
容器
3日前
三甲株式会社
アタッチメント及びパレット
1か月前
三甲株式会社
容器
1か月前
三甲株式会社
容器
24日前
三甲株式会社
パレット
1か月前
三甲株式会社
買い物カゴ
2か月前
個人
束ね具
27日前
個人
収容箱
4か月前
個人
コンベア
6か月前
個人
段ボール箱
8か月前
個人
段ボール箱
8か月前
個人
容器
10か月前
個人
ゴミ収集器
8か月前
個人
バンド
3か月前
個人
土嚢運搬器具
9か月前
個人
角筒状構造体
6か月前
個人
宅配システム
8か月前
個人
楽ちんハンド
6か月前
個人
テープ引出機
27日前
個人
包装容器
2か月前
個人
お薬の締結装置
7か月前
個人
閉塞装置
11か月前
続きを見る
他の特許を見る