TOP
|
特許
|
意匠
|
商標
特許ウォッチ
Twitter
他の特許を見る
10個以上の画像は省略されています。
公開番号
2025141498
公報種別
公開特許公報(A)
公開日
2025-09-29
出願番号
2024041459
出願日
2024-03-15
発明の名称
容器
出願人
三甲株式会社
代理人
弁理士法人コスモス国際特許商標事務所
主分類
B65D
21/02 20060101AFI20250919BHJP(運搬;包装;貯蔵;薄板状または線条材料の取扱い)
要約
【課題】経年後でも段積み状態での安定性が損なわれにくい容器を提供する。
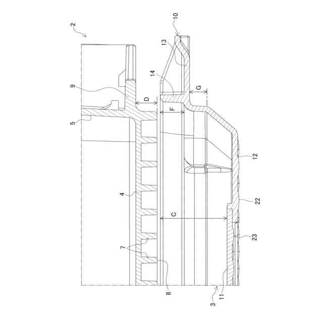
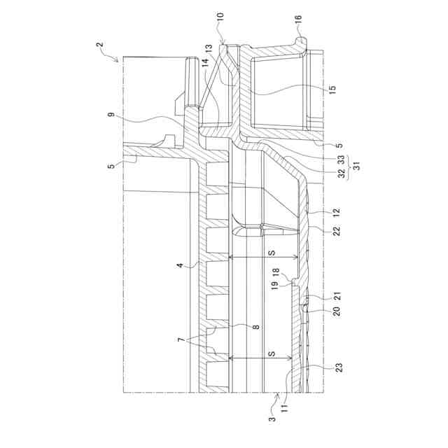
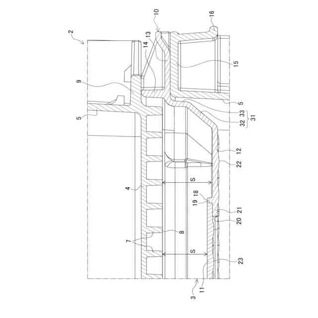
【解決手段】本開示技術に係る容器は、上面が開口している容器本体2と、容器本体2の開口を閉鎖する蓋体3とを有しており、蓋体3は、縁辺の枠部材10と、枠部材10の内側の窓部材11とを有し、枠部材10は、窓部材11と繋がっている底壁12と、底壁12より上方に位置するとともに蓋体3の上に容器本体2を段積みした状態で上の容器本体2を受ける受け部14とを有し、容器本体2は、床面に直置きした状態で接地する最低部8を有し、蓋体3の上に容器本体2を段積みした状態で、最低部8が、底壁12および窓部材11より上方に隙間を置いて位置するものである。
【選択図】図6
特許請求の範囲
【請求項1】
上面が開口している容器本体と、前記容器本体の開口を閉鎖する蓋体とを有する容器であって、
前記蓋体は、
縁辺の枠部材と、
前記枠部材の内側の窓部材とを有し、
前記枠部材は、
前記窓部材と繋がっている底壁と、
前記底壁より上方に位置するとともに前記蓋体の上に前記容器本体を段積みした状態で上の前記容器本体を受ける受け部とを有し、
前記容器本体は、床面に直置きした状態で接地する最低部を有し、
前記蓋体の上に前記容器本体を段積みした状態で、前記最低部が、前記底壁および前記窓部材より上方に隙間を置いて位置する容器。
続きを表示(約 890 文字)
【請求項2】
請求項1に記載の容器であって、
前記底壁には、厚み方向に貫通した貫通孔が形成されており、
前記窓部材は、前記底壁における前記貫通孔の縁辺に繋がっている透明な部材であり、 前記底壁の上面における前記窓部材の外端の外側の位置に、上向きに突出した突状部を有する容器。
【請求項3】
請求項2に記載の容器であって、
前記底壁は、前記突状部より内側に向かって延びた支持壁を有しており、
前記支持壁の先端面の内側が前記貫通孔であり、
前記窓部材は、前記支持壁の上に載っている容器。
【請求項4】
請求項3に記載の容器であって、
前記底壁の下面に、下向きに膨らんだ複数の下向き凸部が形成されており、
前記下向き凸部に、前記支持壁の先端面に達して形成されているものがある容器。
【請求項5】
請求項4に記載の容器であって、
前記支持壁の先端面に、内向きに膨らんだ複数の内向き凸部が形成されている容器。
【請求項6】
請求項4または請求項5に記載の容器であって、
前記窓部材の下面に、下向きに膨らんだ複数の下向き凸部が形成されている容器。
【請求項7】
請求項1から請求項5までのいずれか1つに記載の容器であって、
前記蓋体の上面に、前記蓋体の上に前記容器本体を段積みした状態での前記蓋体と前記最低部との間の隙間の中にカードホルダを取り付けるカードホルダ取付部を有する容器。
【請求項8】
請求項1から請求項5までのいずれか1つに記載の容器であって、
前記枠部材は、前記底壁の外周から上方に延びる側壁部を有し、
前記受け部は、前記側壁部よりさらに上方に設けられており、
前記側壁部は、
下寄りの一部分であり上方ほど外寄りに傾斜している傾斜部と、
上寄りの一部分であり前記傾斜部よりも急峻に上方ほど外寄りに傾斜しているかまたは垂直である急峻部とを有する容器。
発明の詳細な説明
【技術分野】
【0001】
本開示技術は、容器に関する。
続きを表示(約 1,600 文字)
【背景技術】
【0002】
特許文献1には、蓋を有し本体に蓋を被せた状態で段積み可能な容器が記載されている。同文献の容器では、容器本体の側壁部の外面側に載置面を設けている。蓋の縁辺には、凸脈部を設けている。この容器では、蓋を被せた状態で段積みにすると、下の容器の蓋の凸脈部に上の容器の載置面が載った状態となる。
【先行技術文献】
【特許文献】
【0003】
特開2004-35097号公報
【発明の概要】
【発明が解決しようとする課題】
【0004】
しかしながら前記した従来の容器では、経年により段積み状態での安定性が低下することがあった。容器本体の底面板が経年により変形する場合があるからである。容器本体では、使用とともに、底面板が下向きに凸状に変形していく傾向がある。収納物の重量のためである。段積み状態の上側の容器の底面板が下向きに凸状となっていると、姿勢の安定性がよくない。底面板の中央部が下の容器の蓋に接触してしまうためである。このため、下の容器の蓋の凸脈部に上の容器の載置面が載るという状況が部分的にしか発生しない。したがって、上の容器がぐらつく状態になるからである。
【0005】
本開示技術の課題とするところは、経年後でも段積み状態での安定性が損なわれにくい容器を提供することにある。
【課題を解決するための手段】
【0006】
本開示技術の一態様における容器は、上面が開口している容器本体と、容器本体の開口を閉鎖する蓋体とを有する容器であって、蓋体は、縁辺の枠部材と、枠部材の内側の窓部材とを有し、枠部材は、窓部材と繋がっている底壁と、底壁より上方に位置するとともに蓋体の上に容器本体を段積みした状態で上の容器本体を受ける受け部とを有し、容器本体は、床面に直置きした状態で接地する最低部を有し、蓋体の上に容器本体を段積みした状態で、最低部が、底壁および窓部材より上方に隙間を置いて位置する。
【0007】
上記態様における容器では、容器本体を段積みにすることができる。下段の容器本体の開口を蓋体で閉鎖している場合でも、その蓋体の上にさらに容器本体を置いて段積み状態にすることができる。この状態では、蓋体の受け部の上に上段の容器本体が載っている。このとき、上段の容器本体の最低部は、蓋体の底壁および窓部材に対して、隙間を置いて上方に位置している。このため、経年により多少変形した容器本体を上段にした場合でも、最低部が底壁または窓部材に接触してしまうことがない。このため、段積み状態の安定性が経年により損なわれることがない。
【0008】
上記態様における容器はさらに、底壁には、厚み方向に貫通した貫通孔が形成されており、窓部材は、底壁における貫通孔の縁辺に繋がっている透明な部材であるものとすることができる。このようになっていると、容器本体を蓋体で閉じている状態でも、外部から容器本体の内部の状況を見ることができる。
【0009】
窓部材が透明である態様の容器ではさらに、底壁の上面における窓部材の外端の外側の位置に、上向きに突出した突状部を有することが望ましい。このようになっていると、上段の容器から液状の汚染物が蓋体に流れて来ても、その汚染物は突状部により堰き止められる。このため、汚染物による窓部材の汚染が阻止される。
【0010】
突状部を有する態様の容器ではさらに、底壁は、突状部より内側に向かって延びた支持壁を有しており、支持壁の先端面の内側が貫通孔であり、窓部材は、支持壁の上に載っていることが望ましい。このようになっていると、容器本体の収納物あるいは床面等による窓部材の下面の汚染、損傷が起こりにくい。
(【0011】以降は省略されています)
この特許をJ-PlatPat(特許庁公式サイト)で参照する
関連特許
三甲株式会社
容器
3か月前
三甲株式会社
容器
27日前
三甲株式会社
容器
1か月前
三甲株式会社
容器
1か月前
三甲株式会社
容器
2か月前
三甲株式会社
容器
7日前
三甲株式会社
パレット
1か月前
三甲株式会社
パレット
1か月前
三甲株式会社
端部パーツ
2か月前
三甲株式会社
蓋付き容器
5日前
三甲株式会社
仕切り付き容器
1か月前
三甲株式会社
仕切り付き容器
1か月前
三甲株式会社
ホルダ及び運搬具構造
3か月前
三甲株式会社
ホルダ及び運搬具構造
3か月前
三甲株式会社
容器
2か月前
三甲株式会社
パレット
1か月前
三甲株式会社
搬送器具
3か月前
三甲株式会社
買い物カゴ
11日前
三甲株式会社
蓋付きゴミ箱
2か月前
三甲株式会社
容器および買い物カゴ
3か月前
三甲株式会社
蓋付き容器、連動部材及び容器の積み重ね構造
2か月前
個人
箱
12か月前
個人
ゴミ箱
11か月前
個人
収容箱
2か月前
個人
コンベア
4か月前
個人
ゴミ収集器
6か月前
個人
段ボール箱
6か月前
個人
段ボール箱
6か月前
個人
容器
8か月前
個人
楽ちんハンド
4か月前
個人
パウチ補助具
11か月前
個人
宅配システム
6か月前
個人
バンド
1か月前
個人
角筒状構造体
4か月前
個人
土嚢運搬器具
7か月前
個人
お薬の締結装置
5か月前
続きを見る
他の特許を見る