TOP
|
特許
|
意匠
|
商標
特許ウォッチ
Twitter
他の特許を見る
10個以上の画像は省略されています。
公開番号
2025131262
公報種別
公開特許公報(A)
公開日
2025-09-09
出願番号
2024028892
出願日
2024-02-28
発明の名称
容器
出願人
三甲株式会社
代理人
個人
,
個人
主分類
B65D
21/02 20060101AFI20250902BHJP(運搬;包装;貯蔵;薄板状または線条材料の取扱い)
要約
【課題】段積み作業を容易にすることが求められている。
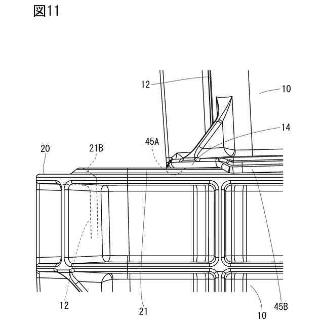
【解決手段】本開示の容器10は、底壁11の下面に3つの下面突部40を有し、容器10同士を、全ての側壁12,13が上下に重なる第1段積み状態と、下面突部40の間に下段側の容器10の一方の短辺側壁12を受容するようにズレた第2段積み状態とに段積み可能である。容器10は、側壁12,13の上端フランジ部20に、内縁部から上方に突出した環状突部21を有している。そして、上段側の容器10を傾斜姿勢にして下段側の容器10上でスライドさせるスライドスタック時に、上段側の容器10の底壁11が下段側の容器10の環状突部21上を擦接する。
【選択図】図11
特許請求の範囲
【請求項1】
上面開口を有する箱形をなし、第1方向で対向する1対の第1側壁と、第2方向で対向する1対の第2側壁と、底壁と、前記底壁の下面から突出する下面突部と、を有する容器であって、
段積時に、上段側の容器を、1対の前記第1側壁の一方が他方より高い傾斜姿勢にして、上段側の容器の前記下面突部を、下段側の容器の前記1対の第2側壁の間に受容させて、それら1対の第2側壁上で前記上段側の容器を前記第1方向でスライドさせるスライドスタックが可能であると共に、前記スライドスタックにより上下の容器の側壁の全てが上下で重なる第1段積状態と、上下の容器の前記第1側壁同士が前記第1方向でズレた第2段積状態とで上段側の容器を水平姿勢にすることが可能な容器において、
1対の前記第2側壁の上面から突出して前記第1方向に延び、前記スライドスタック時に上段側の容器の前記底壁の下面と摺接する摺接突条と、前記底壁の下面外縁部から突出し、前記スライドスタック時に下段側の容器の1対の前記第2側壁の上面と摺接する摺接突部と、の少なくとも何れか一方を備える容器。
続きを表示(約 1,100 文字)
【請求項2】
前記摺接突条を備え、前記摺接突条は、前記第1段積状態及び前記第2段積状態において上段側の容器の前記底壁に当接又は近接し、
前記底壁の下面外縁部から突出して、前記第1段積状態及び前記第2段積状態において前記摺接突条に外側から対向し、下段側の容器の1対の前記第2側壁の上面と当接又は近接する下面突条を有する請求項1に記載の容器。
【請求項3】
前記摺接突条を含み、容器の側壁の上面から突出して前記第1段積状態において上段側の容器の前記底壁に当接又は近接する環状突条を備え、
前記下面突部として、前記第2段積状態において、下段側の容器の前記第1側壁に内側から対向する内側下面突部と、下段側の容器の前記第1側壁に外側から対向する外側下面突部とを備え、
前記底壁には、前記内側下面突部と前記外側下面突部との間に、下方へ突出して、前記第2段積状態において、下段側の容器の前記第1側壁上の前記環状突条と対向しかつ前記第1側壁の上面に当接又は近接する突起部が設けられている請求項2に記載の容器。
【請求項4】
前記突起部は、前記第2段積状態のときに、前記内側下面突部が下段側の容器の前記第1側壁に当接する位置から前記外側下面突部が下段側の容器の前記第1側壁に当接する位置までの範囲の何れの位置でも、下段側の容器の前記環状突条との間に隙間が生じるように配置されている請求項3に記載の容器。
【請求項5】
前記第1側壁は、外方に突出し、前記第1側壁の上面から前記底壁まで鉛直方向に延びる縦リブを備え、
前記第2段積状態において、上段側の容器の前記突起部と、下段側の容器の前記縦リブとが上下方向で重なる請求項3に記載の容器。
【請求項6】
上段側の容器を下段側の容器に対して水平面内で90度回転し、上段側の容器の前記内側下面突部と前記外側下面突部との間に下段側の容器の前記第2側壁を受容する回転段積み状態で上段側の容器を水平姿勢にすることが可能であり、
前記環状突条及び前記下面突条は、前記回転段積み状態においてさらに上段側の容器を下段側の容器の端に配置したときに、上段側の容器の前記下面突条が、下段側の容器の前記第1側壁の前記環状突条に外側から対向するように配されている請求項3から5の何れか1の請求項に記載の容器。
【請求項7】
前記底壁には、前記内側下面突部と前記外側下面突部との間に、前記突起部よりも下方に突出した位置決め突部が設けられ、
前記第1側壁及び前記第2側壁の上面には、前記第2段積状態及び前記回転段積み状態において上段側の容器の前記位置決め突部を受容する位置決め凹部が形成されている請求項6に記載の容器。
発明の詳細な説明
【技術分野】
【0001】
本開示は、段積み可能な容器に関する。
続きを表示(約 2,400 文字)
【背景技術】
【0002】
従来、この種の容器として、上下の容器の側壁の全てが上下で重なる第1段積状態と、上下の容器の第1側壁同士がズレた第2段積状態とで上段側の容器を水平姿勢にすることが可能なものが知られている(例えば、特許文献1参照)。
【先行技術文献】
【特許文献】
【0003】
特開2001-270526号公報(図4等)
【発明の概要】
【発明が解決しようとする課題】
【0004】
上述した従来の容器においては、段積み作業を容易にすることが求められている。
【課題を解決するための手段】
【0005】
本開示の容器は、上面開口を有する箱形をなし、第1方向で対向する1対の第1側壁と、第2方向で対向する1対の第2側壁と、底壁と、前記底壁(11)の下面から突出する下面突部と、を有する容器であって、段積時に、上段側の容器を、1対の前記第1側壁(12)の一方が他方より高い傾斜姿勢にして、上段側の容器の前記下面突部(40)を、下段側の容器の前記1対の第2側壁の間に受容させて、それら1対の第2側壁上で前記上段側の容器を前記第1方向でスライドさせるスライドスタックが可能であると共に、前記スライドスタックにより上下の容器の側壁の全てが上下で重なる第1段積状態と、上下の容器の前記第1側壁(12)同士が前記第1方向でズレた第2段積状態とで上段側の容器を水平姿勢にすることが可能な容器において、1対の前記第2側壁の上面から突出して前記第1方向に延び、前記スライドスタック時に上段側の容器の前記底壁(11)の下面と摺接する摺接突条と、前記底壁(11)の下面外縁部から突出し、前記スライドスタック時に下段側の容器の1対の前記第2側壁の上面と摺接する摺接突部と、の少なくとも何れか一方を備える容器である。
【発明の効果】
【0006】
本開示に係る容器によれば、第1段積状態と第2段積状態とへの段積みがスライドスタックにより可能になるので段積み作業が容易になる。しかも、スライドスタック時に、上段側の容器が下段側の容器の摺接突条に摺接する又は、上段側の容器の摺接突部が下段側の容器の第2側壁の上面に摺接するので、上段側の容器の底壁と下段側の容器の第2側壁の上面との摩擦が小さくなり、スライド操作が容易になる。
【図面の簡単な説明】
【0007】
図1は、第1実施形態に係る容器の斜視図
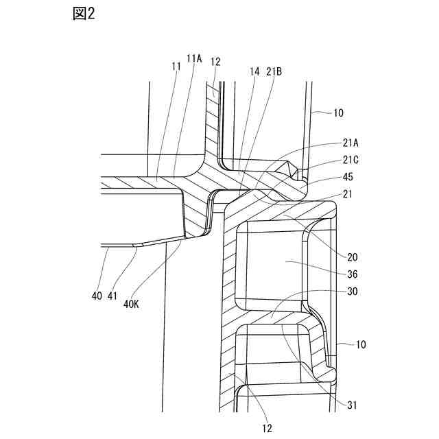
図2は、第1段積み状態の容器の拡大側断面図
図3は、容器の底面側斜視図
図4は、容器の底面図
図5は、第2段積み状態の容器の拡大側断面図
図6は、第1段積み状態の容器の斜視図
図7は、第2段積み状態の容器の斜視図
図8は、第2段積み状態の容器の側断面図
図9は、第2段積み状態の容器の側断面図
図10は、スライドスタック時の容器の正面図
図11は、スライドスタック時の容器の部分拡大図
図12は、回転段積み状態の容器の斜視図
図13は、回転段積み状態の容器の正面図
図14は、回転段積み状態の容器の拡大側断面図
図15は、回転段積み状態の容器の拡大側断面図
図16は、第2実施形態に係る容器の底面側斜視図
図17は、第2実施形態に係る容器の斜視図
図18は、位置決め突部近傍の拡大斜視図
図19は、位置決め凹部近傍の拡大斜視図
図20は、位置決め突部及び位置決め凹部近傍の拡大断面図
図21Aは、回転段積み状態の容器の側断面図、図21Bは、回転段積み状態の容器の側断面図
図22は、変形例に係る容器の底面側斜視図
【発明を実施するための形態】
【0008】
[第1実施形態]
図1から図15には、第1実施形態の容器10が示されている。図1に示されるように、容器10は、平面視長方形状の底壁11の外縁部から側壁12,13が起立した構造になっていて、上部に上面開口10Aを有している。側壁12,13は、上側へ向かうにつれて外側へ徐々に広がるように僅かに傾斜している。また、容器10のコーナー部は円弧状に湾曲している。以降、側壁12,13を区別する際は、底壁11の短辺部から起立するものを短辺側壁12(特許請求の範囲の「第1側壁」に相当する)といい、底壁11の長辺部から起立するものを長辺側壁13(特許請求の範囲の「第2側壁」に相当する)という。また、1対の短辺側壁12が対向する方向を第1方向H1とし、1対の長辺側壁13が対向する方向を第2方向H2という。
【0009】
側壁12,13は、底壁11の外縁部のうち外縁より内側に配されている。換言すれば、底壁11には、側壁12,13より外方に突出した下端フランジ部14が含まれている。図2に示すように、下端フランジ部14は、底壁11のうち下端フランジ部14より内側部分(以降、適宜「底壁本体部11A」という)よりも板厚が大きくなっている。下端フランジ部14の下面と底壁本体部11Aの下面とは略同一平面内に位置している一方、下端フランジ部14の上面は底壁本体部11Aの上面よりも上方に位置している。
【0010】
図1に示すように、側壁12,13には、上端フランジ部20と、中間フランジ部30とが形成されている。上端フランジ部20は、側壁12,13の上端全周から外側に張り出し、中間フランジ部30は、側壁12,13のうち上端フランジ部20寄りの高さから外側に張り出している。
(【0011】以降は省略されています)
この特許をJ-PlatPat(特許庁公式サイト)で参照する
関連特許
三甲株式会社
容器
3か月前
三甲株式会社
容器
28日前
三甲株式会社
容器
1か月前
三甲株式会社
容器
1か月前
三甲株式会社
容器
2か月前
三甲株式会社
容器
8日前
三甲株式会社
パレット
2か月前
三甲株式会社
パレット
2か月前
三甲株式会社
端部パーツ
2か月前
三甲株式会社
蓋付き容器
6日前
三甲株式会社
仕切り付き容器
2か月前
三甲株式会社
仕切り付き容器
1か月前
三甲株式会社
ホルダ及び運搬具構造
3か月前
三甲株式会社
ホルダ及び運搬具構造
3か月前
三甲株式会社
容器
2か月前
三甲株式会社
パレット
1か月前
三甲株式会社
搬送器具
3か月前
三甲株式会社
買い物カゴ
12日前
三甲株式会社
蓋付きゴミ箱
2か月前
三甲株式会社
容器および買い物カゴ
3か月前
三甲株式会社
蓋付き容器、連動部材及び容器の積み重ね構造
2か月前
個人
箱
12か月前
個人
ゴミ箱
11か月前
個人
収容箱
2か月前
個人
コンベア
4か月前
個人
ゴミ収集器
6か月前
個人
段ボール箱
6か月前
個人
段ボール箱
6か月前
個人
容器
8か月前
個人
楽ちんハンド
4か月前
個人
パウチ補助具
11か月前
個人
宅配システム
6か月前
個人
バンド
1か月前
個人
角筒状構造体
4か月前
個人
土嚢運搬器具
7か月前
個人
お薬の締結装置
5か月前
続きを見る
他の特許を見る