TOP
|
特許
|
意匠
|
商標
特許ウォッチ
Twitter
他の特許を見る
10個以上の画像は省略されています。
公開番号
2025177082
公報種別
公開特許公報(A)
公開日
2025-12-05
出願番号
2024083601
出願日
2024-05-22
発明の名称
容器
出願人
三甲株式会社
代理人
弁理士法人 HARAKENZO WORLD PATENT & TRADEMARK
主分類
B65D
6/24 20060101AFI20251128BHJP(運搬;包装;貯蔵;薄板状または線条材料の取扱い)
要約
【課題】容器本体を折畳状態にして蓋体を被せた容器を並べて保管、運搬する際の保管、運搬効率の向上を図ることができる容器を提供する。
【解決手段】容器(1)は、容器本体(2)と、容器本体に対して着脱可能な蓋体(3)と、を備えている。蓋体は、容器本体の折畳状態において少なくとも一方の相対する一対の土台部(11B)に載置される第2使用態様で使用が可能である。蓋体は、第2使用態様において、少なくとも一方の相対する一対の土台部と蓋体との相対変位を規制するロック状態と、ロック状態を解除するロック解除状態とに状態変化が可能に構成されたロック部材(5)を有する。ロック部材は、蓋体の第2使用態様において土台部(11B)と係合する係合部(42)を有している。土台部(11B)は、係合部と係合する第2被係合部(11D)を有しているように構成する。
【選択図】図11
特許請求の範囲
【請求項1】
平面視略矩形状の底壁部と、前記底壁部の相対する各一対の側辺部からそれぞれ上方に突出して相対する各一対の土台部と、を具備する底壁構成部と、
相対する各一対の前記土台部のそれぞれに対して、回動可能に連結されて相対する各一対の側壁部と、
を有する容器本体と、
前記容器本体に対して着脱可能な蓋体と、
を備え、
前記容器本体は、相対する各一対の前記側壁部を内側に回動させることにより相対する各一対の前記側壁部を折り畳む折畳状態と、前記折畳状態から相対する各一対の前記側壁部を起立させた組立状態と、に状態変位が可能であり、
前記蓋体は、
前記組立状態において相対する各一対の前記側壁部により形成される開口部を塞ぐ第1使用態様と、前記折畳状態において少なくとも一方の相対する一対の前記土台部に載置される第2使用態様と、による使用が可能であり、
前記第1使用態様において、相対する各一対の前記側壁部と前記蓋体との相対変位を規制し、前記第2使用態様において、少なくとも一方の相対する一対の前記土台部と前記蓋体との相対変位を規制するロック状態と、前記ロック状態を解除するロック解除状態とに状態変化が可能に構成されたロック部材を有し、
前記ロック部材は、前記第1使用態様において前記側壁部と係合し、前記第2使用態様において前記土台部と係合する係合部を有し、
前記側壁部は、前記係合部と係合する第1被係合部を有し、
前記土台部は、前記係合部と係合する第2被係合部を有している、
ことを特徴とする容器。
続きを表示(約 1,100 文字)
【請求項2】
前記第2被係合部は、前記蓋体が前記第2使用態様において、前記ロック部材が前記ロック状態である際に、前記係合部と上下方向で対向する対向部を有する、
ことを特徴とする請求項1に記載の容器。
【請求項3】
前記土台部は、前記側壁部を回動可能に支持する複数の軸受け部を有し、
前記側壁部は、下辺部から下方に突出して、複数の前記軸受け部に回動可能に連結される複数のヒンジ部を有し、
前記第2被係合部は、水平方向にて前記軸受け部の間に配置されている、
ことを特徴とする請求項1または2に記載の容器。
【請求項4】
前記底壁構成部は、平面視四隅のコーナー部または前記コーナー部の近傍位置に、内方側へ窪む操作凹部を有し、
前記蓋体は、
組立状態の前記容器本体の前記開口部を閉塞する蓋本体部と、
前記蓋本体部の外周縁から下方に延出されて、組立状態の相対する各一対の前記側壁部の外側に嵌合される外側嵌合壁と、を有し、
前記蓋体を折畳状態の前記容器本体に被せた場合、前記外側嵌合壁は、前記底壁構成部の外側に嵌合されて、前記外側嵌合壁の下端部と前記操作凹部の下端部との上下方向の間には、外方から指入れ可能な隙間が形成されている、
ことを特徴とする請求項1または2に記載の容器。
【請求項5】
相対する各一対の前記側壁部は、組立状態から折畳状態とされる場合に、先に折畳姿勢とされる一対の第2側壁部と、折畳姿勢とされた一対の第2側壁部の上側に折畳姿勢とされる一対の第1側壁部と、を有し、
相対する各一対の土台部は、一対の前記第1側壁部が回動可能に連結される一対の第1土台部と、一対の前記第2側壁部が回動可能に連結される一対の第2土台部と、を有し、
一対の前記第1土台部は、
前記底壁部の相対する一対の前記側辺部に沿って上方に延びる一対の内縦壁と、
一対の前記内縦壁の上端縁から外方に延びる一対の横壁と、
一対の前記横壁の先端縁から下方に延びる一対の外縦壁と、を有し、
前記第2被係合部は、一対の前記外縦壁の上方位置にて外側に開口した挿入部を有し、
前記挿入部は、
前記外縦壁から前記内縦壁に接続される挿入下壁と、
前記外縦壁から前記内縦壁に接続されて前記挿入下壁の両側縁部に位置する一対の挿入側壁と、
前記係合部と上下方向で係合する上壁と、を有し、
一対の前記外縦壁は、それぞれの上端部と下端部とから外方に所定高さ突出する厚肉部を有する、
ことを特徴とする請求項1または2に記載の容器。
発明の詳細な説明
【技術分野】
【0001】
本発明は、容器に関する。
続きを表示(約 2,100 文字)
【背景技術】
【0002】
特許文献1に記載された搬送用容器では、開口部外周縁に鍔状の水平なフランジ部を有する容器体と、該容器体の開口上部を覆うように載置される蓋体とを備えている。蓋体には、蓋体の一部と容器体のフランジ部とを一括挟持して係合するように構成されたフック状のピンチ部を有する係合体が装着され、容器体に対して着脱可能に構成されている。
【先行技術文献】
【特許文献】
【0003】
実公平4-009335号公報
【発明の概要】
【発明が解決しようとする課題】
【0004】
従来の構成では、折畳可能な容器体において、折畳状態にされた容器体に対して蓋体を被せた場合、フック状のピンチ部と係合するフランジ部が折り畳まれているため、係合体が外側方向に飛び出してしまう。そのため、係合体の破損や、容器体を折畳状態にして蓋体を被せて保管、運搬する際の、保管、運搬効率が低下するという問題がある。
【0005】
本発明の一態様は、容器本体を折畳状態にして蓋体を被せた容器を並べて保管、運搬する際の保管、運搬効率の向上を図ることができる容器を提供することを目的とする。
【課題を解決するための手段】
【0006】
上記の課題を解決するために、本発明の一態様に係る容器は、平面視略矩形状の底壁部と、前記底壁部の相対する各一対の側辺部からそれぞれ上方に突出して相対する各一対の土台部と、を具備する底壁構成部と、相対する各一対の前記土台部のそれぞれに対して、回動可能に連結されて相対する各一対の側壁部と、を有する容器本体と、前記容器本体に対して着脱可能な蓋体と、を備え、前記容器本体は、相対する各一対の前記側壁部を内側に回動させることにより相対する各一対の前記側壁部を折り畳む折畳状態と、前記折畳状態から相対する各一対の前記側壁部を起立させた組立状態と、に状態変位が可能であり、前記蓋体は、前記組立状態において相対する各一対の前記側壁部により形成される開口部を塞ぐ第1使用態様と、前記折畳状態において少なくとも一方の相対する一対の前記土台部に載置される第2使用態様と、による使用が可能であり、前記第1使用態様において、相対する各一対の前記側壁部と前記蓋体との相対変位を規制し、前記第2使用態様において、少なくとも一方の相対する一対の前記土台部と前記蓋体との相対変位を規制するロック状態と、前記ロック状態を解除するロック解除状態とに状態変化が可能に構成されたロック部材を有し、前記ロック部材は、前記第1使用態様において前記側壁部と係合し、前記第2使用態様において前記土台部と係合する係合部を有し、前記側壁部は、前記係合部と係合する第1被係合部を有し、前記土台部は、前記係合部と係合する第2被係合部を有している、ことを特徴とする。
【発明の効果】
【0007】
本発明の一態様によれば、折畳状態にされた容器本体に蓋体を被せてロック状態にすることができる。従って、容器本体を折畳状態にして蓋体を被せた容器を並べて保管、運搬する際の保管、運搬効率の向上を図ることができる。
【図面の簡単な説明】
【0008】
本実施形態に係る容器の一例を示す斜視図である。
第2側壁部を折り畳んだ状態の容器本体を示す斜視図である。
第1側壁部を折り畳んだ折畳状態の容器本体を示す斜視図である。
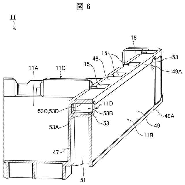
底壁構成部を示す斜視図である。
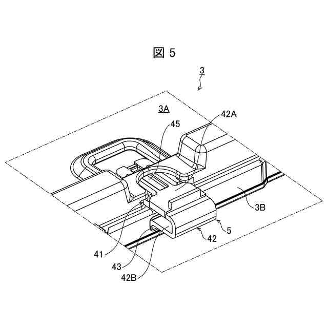
図1のV部分の拡大図である。
図4のVI-VI矢視断面図である。
図4のVII-VII矢視断面図である。
蓋体の第1使用態様の一例を示す斜視図である。
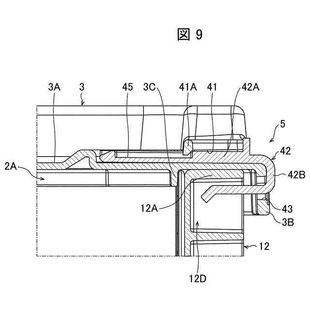
図8のIX-IX矢視断面図である。
図9のロック状態を解除したロック解除状態を示す部分拡大断面図である。
蓋体の第2使用態様の一例を示す斜視図である。
図11のXII-XII矢視断面図である。
図12のロック状態を解除したロック解除状態を示す部分拡大断面図である。
【発明を実施するための形態】
【0009】
[容器1の概要]
以下、本発明の一実施形態について、図1~図13に基づいて詳細に説明する。容器1の概略構成について図1に基づいて説明する。図1に示すように、容器1は、上面が開口した直方体形状の容器本体2と、容器本体2の開口部2Aを上方から塞ぐように着脱可能に取り付けられる蓋体3とから構成されている。
【0010】
[容器本体2の概要]
先ず、容器本体2の概略構成について図1~図6に基づいて説明する。図1に示すように、容器本体2は、上面が開口した直方体形状であるとともに、図2および図3に示すように折り畳み可能である。折り畳み可能な容器本体2は、例えばポリプロピレンからなる樹脂製である。
(【0011】以降は省略されています)
この特許をJ-PlatPat(特許庁公式サイト)で参照する
関連特許
三甲株式会社
容器
1か月前
三甲株式会社
容器
3日前
三甲株式会社
容器
10日前
三甲株式会社
容器
2か月前
三甲株式会社
容器
1か月前
三甲株式会社
容器
1か月前
三甲株式会社
運搬具
19日前
三甲株式会社
運搬具
1か月前
三甲株式会社
緩衝材
1か月前
三甲株式会社
容器セット
3日前
三甲株式会社
蓋付き容器
2か月前
三甲株式会社
物品支持部材
1か月前
三甲株式会社
容器セットおよび容器
4日前
株式会社カインズ
容器
3日前
株式会社カインズ
容器
3日前
三甲株式会社
アタッチメント及びパレット
1か月前
三甲株式会社
容器
1か月前
三甲株式会社
容器
24日前
三甲株式会社
パレット
1か月前
三甲株式会社
買い物カゴ
2か月前
個人
束ね具
27日前
個人
収容箱
4か月前
個人
コンベア
6か月前
個人
ゴミ収集器
8か月前
個人
段ボール箱
8か月前
個人
段ボール箱
8か月前
個人
容器
10か月前
個人
宅配システム
8か月前
個人
テープ引出機
27日前
個人
土嚢運搬器具
9か月前
個人
楽ちんハンド
6か月前
個人
角筒状構造体
6か月前
個人
バンド
3か月前
個人
包装容器
2か月前
個人
コード類収納具
9か月前
個人
閉塞装置
11か月前
続きを見る
他の特許を見る