TOP
|
特許
|
意匠
|
商標
特許ウォッチ
Twitter
他の特許を見る
公開番号
2025161972
公報種別
公開特許公報(A)
公開日
2025-10-24
出願番号
2025141479,2024194571
出願日
2025-08-27,2021-06-18
発明の名称
パレット
出願人
三甲株式会社
代理人
個人
,
個人
主分類
B65D
19/24 20060101AFI20251017BHJP(運搬;包装;貯蔵;薄板状または線条材料の取扱い)
要約
【課題】形状品質が安定したパレットを提供する。
【解決手段】本開示のパレット10は、1対のフォーク挿入路90の両側に位置する複数のサイド桁部20が、上下方向に貫通しかつ幅が50[mm]以下の筒形構造をなすと共に、各サイド桁部20の内向側壁21と外向側壁22との間隔が上下方向の端部より途中位置で狭くなるように、内向側壁21の上下方向の途中位置が端部より外向側壁22に接近している。
【選択図】図4
特許請求の範囲
【請求項1】
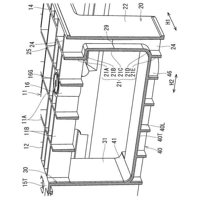
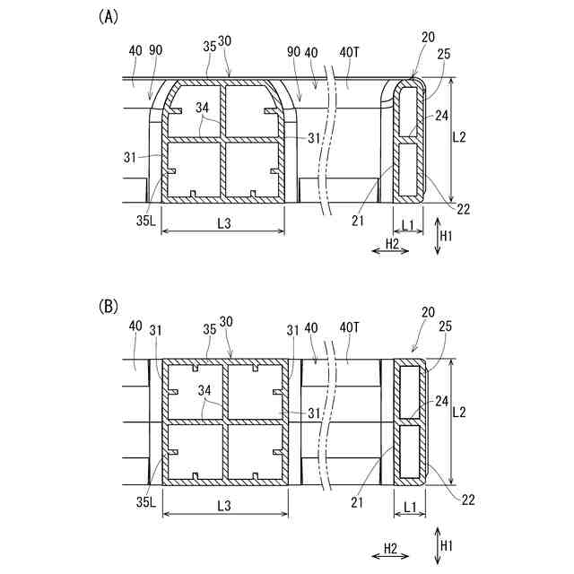
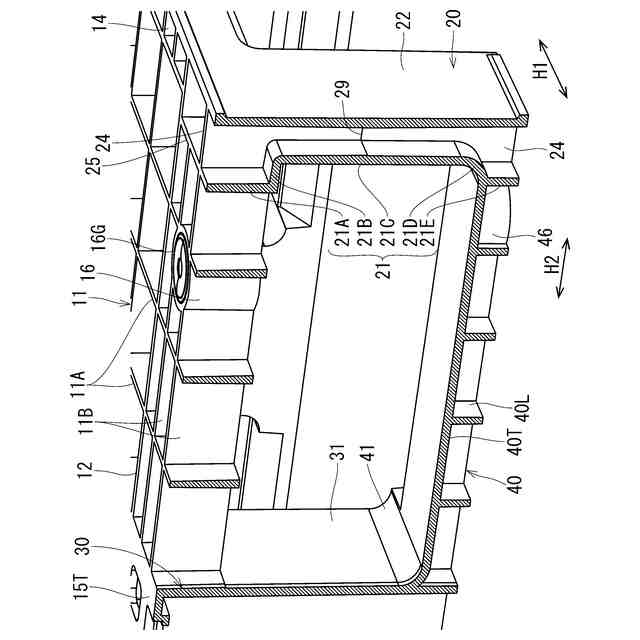
複数の桁部の間に第1の水平方向からハンドリフター又はフォークリフトの1対のフォークが挿入されるときの1対のフォーク挿入路の両側に位置する複数のサイド桁部が、上下方向に貫通しかつ前記第1の水平方向と直交する第2の水平方向の幅が50[mm]以下の筒形構造をなすと共に、各前記サイド桁部のうち前記第2の水平方向で対向する内向側壁と外向側壁との間隔が上下方向の端部より途中位置で狭くなるように、前記内向側壁の上下方向の途中位置が端部より前記外向側壁に接近している樹脂製のパレット。
続きを表示(約 1,100 文字)
【請求項2】
前記内向側壁のうち前記フォーク挿入路の側方に位置する中間領域が上側に位置する上側領域より前記外向側壁側にオフセットしている請求項1に記載のパレット。
【請求項3】
前記第1の水平方向から見た前記フォーク挿入路の前記サイド桁部側の上側角部がR面取り形状をなすように、前記内向側壁の前記上側領域と前記中間領域との間に湾曲部を備える請求項2に記載のパレット。
【請求項4】
前記複数の桁部が3行3列に並べられると共に、前記第2の水平方向で隣合う桁部の下端部同士が下端連絡壁で連絡され、
前記第1の水平方向から見た前記1対のフォーク挿入路の上側両角部は、前記第1の水平方向の中間部ではR面取り形状をなす一方、前記第1の水平方向の両端部ではピン角形状をなし、
前記第1の水平方向から見た前記1対のフォーク挿入路の下側両角部は、前記第1の水平方向の中間部と両端部とで、R面取り形状をなしている請求項2又は3に記載のパレット。
【請求項5】
前記内向側壁のうち前記フォーク挿入路の側方に位置する中間領域より上側又は下側の一方のみが、前記外向側壁から離れる側にオフセットし
前記サイド桁部の内部のうち前記中間領域より上側又は下側の他方寄りに金型のパーティングラインが配置されている請求項1から4の何れか1の請求項に記載のパレット。
【請求項6】
複数の桁部の間に第1の水平方向からハンドリフター又はフォークリフトの1対のフォークが挿入されるときの1対のフォーク挿入路の両側に位置する複数のサイド桁部が、上下方向に貫通しかつ前記第1の水平方向と直交する第2の水平方向の幅が50[mm]以下の筒形構造をなすと共に、上下方向の中間部が前記フォーク挿入路によって抉られた形状になっている樹脂製のパレット。
【請求項7】
複数の桁部の間に第1の水平方向からハンドリフター又はフォークリフトの1対のフォークが挿入されるときの1対のフォーク挿入路の両側に位置する複数のサイド桁部が、上下方向に貫通しかつ前記第1の水平方向と直交する第2の水平方向の幅が50[mm]以下の筒形構造をなしたパレットを樹脂の射出成形金型を使用して製造するパレットの製造方法であって、
前記射出成形金型のうち型開き方向で対向する第1と第2の金型のうち前記サイド桁部の内面を形成するために第1の金型から突出する第1成形突部と、前記第2の金型から突出する第2成形突部とを先端より基端部が太い形状にしておき、前記サイド桁部内における上下方向の途中位置で前記第1成形突部と前記第2成形突部の先端面同士を互いに当接させるパレットの製造方法。
発明の詳細な説明
【技術分野】
【0001】
本発明は、樹脂製のパレット及びその製造方法に関する。
続きを表示(約 1,600 文字)
【背景技術】
【0002】
この種のパレットとして、桁部の外郭部分を構成する筒壁の上面開口と下面開口とに、複数ずつの補強壁が平行に並べて架橋されると共に、上下の補強壁が千鳥配置になっているものが知られている(例えば、特許文献1参照)。
【先行技術文献】
【特許文献】
【0003】
特開平10-35669号(図1,2,段落[0013])
【発明の概要】
【発明が解決しようとする課題】
【0004】
ところで、複数のパレットを効率よく敷き詰めるためにパレットの小型化の要請があり、その要請に応えるためには、パレットのうち1対のフォーク挿入路の両側の複数のサイド桁部の外側面を内側に寄せてサイド桁部の幅を小さくする必要がある。しかしながら、上記した従来のパレットの構造のまま、サイド桁部の幅を小さくすると、サイド桁部の内部を成形するための金型の突部が細長くなり、成形時の樹脂圧により変形して、パレットの形状がばらつくという問題が生じ得る。そこで、本開示では、パレットの形状品質を安定させる技術を提供する。
【課題を解決するための手段】
【0005】
上記課題を解決するためになされた請求項1の発明は、複数の桁部の間に第1の水平方向からハンドリフター又はフォークリフトの1対のフォークが挿入されるときの1対のフォーク挿入路の両側に位置する複数のサイド桁部が、上下方向に貫通しかつ前記第1の水平方向と直交する第2の水平方向の幅が50[mm]以下の筒形構造をなすと共に、各前記サイド桁部のうち前記第2の水平方向で対向する内向側壁と外向側壁との間隔が上下方向の端部より途中位置で狭くなるように、前記内向側壁の上下方向の途中位置が端部より前記外向側壁に接近している樹脂製のパレットである。
【0006】
請求項2の発明は、前記内向側壁のうち前記フォーク挿入路の側方に位置する中間領域が上側に位置する上側領域より前記外向側壁側にオフセットしている請求項1に記載のパレットである。
【0007】
請求項3の発明は、前記第1の水平方向から見た前記フォーク挿入路の前記サイド桁部側の上側角部がR面取り形状をなすように、前記内向側壁の前記上側領域と前記中間領域との間に湾曲部を備える請求項2に記載のパレットである。
【0008】
請求項4の発明は、前記複数の桁部が3行3列に並べられると共に、前記第2の水平方向で隣合う桁部の下端部同士が下端連絡壁で連絡され、前記第1の水平方向から見た前記1対のフォーク挿入路の上側両角部は、前記第1の水平方向の中間部ではR面取り形状をなす一方、前記第1の水平方向の両端部ではピン角形状をなし、前記第1の水平方向から見た前記1対のフォーク挿入路の下側両角部は、前記第1の水平方向の中間部と両端部とで、R面取り形状をなしている請求項2又は3に記載のパレットである。
【0009】
請求項5の発明は、前記内向側壁のうち前記フォーク挿入路の側方に位置する中間領域より上側又は下側の一方のみが、前記外向側壁から離れる側にオフセットし前記サイド桁部の内部のうち前記中間領域より上側又は下側の他方寄りに金型のパーティングラインが配置されている請求項1から4の何れか1の請求項に記載のパレットである。
【0010】
請求項6の発明は、複数の桁部の間に第1の水平方向からハンドリフター又はフォークリフトの1対のフォークが挿入されるときの1対のフォーク挿入路の両側に位置する複数のサイド桁部が、上下方向に貫通しかつ前記第1の水平方向と直交する第2の水平方向の幅が50[mm]以下の筒形構造をなすと共に、上下方向の中間部が前記フォーク挿入路によって抉られた形状になっている樹脂製のパレットである。
(【0011】以降は省略されています)
この特許をJ-PlatPat(特許庁公式サイト)で参照する
関連特許
三甲株式会社
容器
3か月前
三甲株式会社
容器
1か月前
三甲株式会社
容器
3か月前
三甲株式会社
容器
4日前
三甲株式会社
容器
3か月前
三甲株式会社
容器
11日前
三甲株式会社
容器
2か月前
三甲株式会社
容器
1か月前
三甲株式会社
容器
1か月前
三甲株式会社
緩衝材
1か月前
三甲株式会社
運搬具
20日前
三甲株式会社
運搬具
1か月前
三甲株式会社
パレット
4か月前
三甲株式会社
パレット
4か月前
三甲株式会社
蓋付き容器
2か月前
三甲株式会社
容器セット
4日前
三甲株式会社
物品支持部材
2か月前
三甲株式会社
仕切り付き容器
3か月前
三甲株式会社
仕切り付き容器
4か月前
三甲株式会社
容器セットおよび容器
5日前
株式会社カインズ
容器
4日前
株式会社カインズ
容器
4日前
三甲株式会社
アタッチメント及びパレット
1か月前
三甲株式会社
容器
1か月前
三甲株式会社
容器
25日前
三甲株式会社
パレット
3か月前
三甲株式会社
パレット
1か月前
三甲株式会社
買い物カゴ
2か月前
三甲株式会社
蓋付きゴミ箱
4か月前
個人
収容箱
4か月前
個人
束ね具
28日前
個人
コンベア
6か月前
個人
段ボール箱
8か月前
個人
容器
10か月前
個人
ゴミ収集器
8か月前
個人
段ボール箱
8か月前
続きを見る
他の特許を見る