TOP
|
特許
|
意匠
|
商標
特許ウォッチ
Twitter
他の特許を見る
公開番号
2025116428
公報種別
公開特許公報(A)
公開日
2025-08-08
出願番号
2024010844
出願日
2024-01-29
発明の名称
パレット
出願人
三甲株式会社
代理人
個人
,
個人
主分類
B65D
19/32 20060101AFI20250801BHJP(運搬;包装;貯蔵;薄板状または線条材料の取扱い)
要約
【課題】下面全体が開放しているフォーク挿入孔の上方の壁部の曲げ変形を抑えることが可能な技術を提供する。
【解決手段】本開示のパレット10Aでは、第1フォーク挿入孔91の上方に配置される第1及び第2の上側桁部間連絡部30,40と荷物受部20との第1方向H1と平行な縦断面における断面形状が波形状をなしているので、第1フォーク挿入孔91を挟んだ桁部の下端部間の拡がりに伴う曲げに対する強度を高くすることができる。即ち、本開示のパレット10Aによれば、下面全体が開放している第1フォーク挿入孔91の上方の壁部の曲げ強度が従来より高くなり、同壁部の曲げ変形を抑えることができる。しかも、第1及び第2の上側桁部間連絡部40と荷物受部20とは、連続した波形状をなしているので一体性が増して負荷が分散され、この点においても強度が高くなる。
【選択図】図1
特許請求の範囲
【請求項1】
荷物が載置される四角形のデッキ面の中央、四隅、及び、外縁各辺の中間からなる計9箇所に複数の桁部を備えると共に、第1方向で前記桁部同士の間を貫通する1対の第1フォーク挿入孔と、前記第1方向と直交する第2方向で前記桁部同士の間を貫通する1対の第2フォーク挿入孔とを有し、
各前記第2フォーク挿入孔の両端部と中間とには、前記桁部の下端部間を連絡する複数の下側桁部間連絡部が備えられる一方、各前記第1フォーク挿入孔の下面全体が開放しているパレットにおいて、
前記1対の第1フォーク挿入孔の両端部の上方で、前記桁部の上部間を連絡する第1の上側桁部間連絡部と、前記1対の第1フォーク挿入孔の途中部分の上方で、前記桁部の上部間を連絡する第2の上側桁部間連絡部との何れか一方又は両方の前記第1方向と平行な縦断面における断面形状は波形状をなしているパレット。
続きを表示(約 860 文字)
【請求項2】
前記第1及び第2の上側桁部間連絡部の前記第1方向と平行な縦断面における断面形状は波形状をなしている請求項1に記載のパレット。
【請求項3】
前記第1方向で前記第1及び第2の上側桁部間連絡部との間に挟まれる荷物受部は、前記第1方向と平行な縦断面の断面形状が波形状をなし、
前記第1及び第2の上側桁部間連絡部と前記荷物受部との前記断面形状の波形状が連続している請求項2に記載のパレット。
【請求項4】
前記第1及び第2の上側桁部間連絡部と前記荷物受部とは、前記断面形状が矩形波形状をなして、前記第2方向に延びかつデッキ面と平行な複数の下端壁と、前記第2方向に延びかつ上面が前記デッキ面をなす複数の上端壁と、前記第2方向に延びかつ前記下端壁及び前記上端壁の側部とに交差する複数の第2方向リブとを含む請求項3に記載のパレット。
【請求項5】
前記複数の下端壁又は前記複数の上端壁の前記第1方向の途中位置から突出して、前記第2方向リブと対向しかつ前記第2方向に延びる補助リブを備える請求項4に記載のパレット。
【請求項6】
前記第1及び第2の上側桁部間連絡部の少なくとも一方の上側桁部間連絡部と前記荷物受部との境界部分で前記上端壁又は前記下端壁が連続し、その連続する前記上端壁又は前記下端壁における前記第1方向の途中位置に、前記上側桁部間連絡部と前記荷物受部とに共有される前記第2方向リブが配置されている請求項4に記載のパレット。
【請求項7】
前記第1及び第2の上側桁部間連絡部と前記荷物受部とには、前記複数の第2方向リブと直交し、前記複数の下端壁及び前記複数の上端壁と交差する複数の第1方向リブが設けられ、
前記複数の下端壁及び前記複数の上端壁には、前記第1方向リブと前記第2方向リブとに四方を囲まれる複数の升目に対応する複数の貫通孔が形成されている請求項4から6の何れか1の請求項に記載のパレット。
発明の詳細な説明
【技術分野】
【0001】
本開示は、荷物が載置される四角形のデッキ面の中央、四隅、及び、外縁各辺の中間からなる計9箇所に桁部を備えるパレットに関する。
続きを表示(約 2,200 文字)
【背景技術】
【0002】
上述したパレットとして、第1方向で桁部同士の間を貫通する1対の第1フォーク挿入孔と、第2方向で桁部同士の間を貫通する1対の第2フォーク挿入孔とを有するものが知られている。そのようなパレットにおいて、第1及び第2のうち両方の計4つのフォーク挿入孔のそれぞれに下側桁部間連絡部が設けられているものと、2つのフォーク挿入孔のみに下側桁部間連絡部が設けられ、残りの2つのフォーク挿入孔には下側桁部間連絡部が設けられず、下面全体が開放しているものとがある(例えば、特許文献1参照)。
【先行技術文献】
【特許文献】
【0003】
特開2000-255570号公報(図3,図5)
【発明の概要】
【発明が解決しようとする課題】
【0004】
しかしながら、上述した下面全体が開放している第1フォーク挿入孔を有する従来のパレットでは、第1フォーク挿入孔を挟んだ桁部の下端部間の拡がりを許容するように第1フォーク挿入孔の上方の壁部が曲げ変形することがある。そこで、本願では、下面全体が開放しているフォーク挿入孔の上方の壁部の曲げ変形を抑えることが可能な技術を提供する。
【課題を解決するための手段】
【0005】
本開示の発明の一態様は、荷物が載置される四角形のデッキ面の中央、四隅、及び、外縁各辺の中間からなる計9箇所に複数の桁部を備えると共に、第1方向で前記桁部同士の間を貫通する1対の第1フォーク挿入孔と、前記第1方向と直交する第2方向で前記桁部同士の間を貫通する1対の第2フォーク挿入孔とを有し、各前記第2フォーク挿入孔の両端部と中間とには、前記桁部の下端部間を連絡する複数の下側桁部間連絡部が備えられる一方、各前記第1フォーク挿入孔の下面全体が開放しているパレットにおいて、前記1対の第1フォーク挿入孔の両端部の上方で、前記桁部の上部間を連絡する第1桁部間壁部と、前記1対の第1フォーク挿入孔の途中部分の上方で、前記桁部の上部間を連絡する第2桁部間壁部との何れか一方又は両方の前記第1方向と平行な縦断面における断面形状が波形状をなしているパレットである。
【発明の効果】
【0006】
本開示の一態様のパレットでは、1対の第1フォーク挿入孔の上方で、桁部の上部間を連絡する第1の上側桁部間連絡部と、1対の第1フォーク挿入孔の途中部分の上方で、桁部の上部間を連絡する第2桁部間壁部との何れか一方又は両方の第1方向と平行な縦断面における断面形状が波形状をなしているので、第1フォーク挿入孔を挟んだ桁部の下端部間の拡がりに伴う曲げに対する強度を高くすることができる。即ち、特徴1のパレットによれば、下面全体が開放しているフォーク挿入孔の上方の壁部の曲げ強度が従来より高くなり、同壁部の曲げ変形を抑えることができる。
【図面の簡単な説明】
【0007】
図1は、本開示の一実施形態のパレットの斜視図
図2は、パレットを斜め下方から見た斜視図
図3は、図1におけるA-A切断面における側断面図
図4は、図1におけるB-B切断面における側断面図
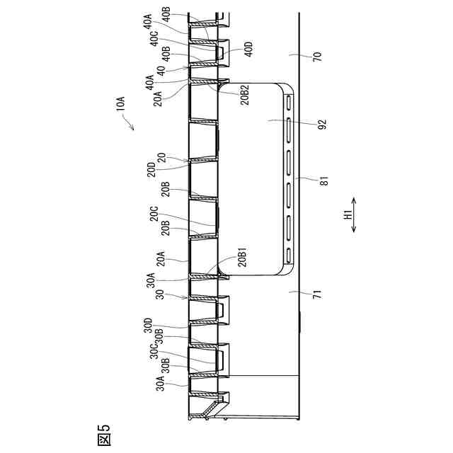
図5は、図1におけるB-B切断面の一部を拡大した側断面図
図6は、中央桁部の斜め上方からの斜視図
図7は、中央桁部の斜め下方からの斜視図
【発明を実施するための形態】
【0008】
図1から図7を参照して、本開示の一実施形態に係るパレット10Aについて説明する。図1に示すように、本実施形態のパレット10Aは、荷物が載置される四角形のデッキ面90の中央、四隅、及び、外縁各辺の中間からなる計9箇所に桁部を備えると共に、第1方向H1で桁部同士の間を貫通する1対の第1フォーク挿入孔91と、第1方向H1と直交する第2方向H2で桁部同士の間を貫通する1対の第2フォーク挿入孔92とを有する。また、図2に示すように、各第2フォーク挿入孔92の両端部と中間とには、桁部の下端部間を連絡する複数の下側桁部間連絡部80,81が備えられる一方、各第1フォーク挿入孔91の下部全体は開放されている。
【0009】
以下、複数の桁部を区別する場合には、パレット10Aの中央の桁部を「中央桁部70」といい、四隅の桁部を「隅桁部73」といい、中央桁部70を挟んで第1方向H1の両側に位置する桁部を「第1中間桁部71」といい、中央桁部70を挟んで第2方向H2の両側に位置する桁部を「第2中間桁部72」ということとする。また、複数種類の桁部を併せて説明する際には、「桁部70~73」等と略すか、又は、符号を省いて単に「桁部」と記すこととする。
【0010】
図1に示すように、桁部70~73は、筒壁74内に内壁75を有した構造になっている。また、中央桁部70の筒壁74は、例えば、角筒状をなし、他の桁部71~73の筒壁74は、4つの平坦な側面と、四隅の4つの曲面とを有する略角筒状をなしている。なお、曲面の有無、曲面の位置、筒壁の形状は、上述のものに限定されない。そして、縦横に並ぶ桁部の側面同士が同一平面内に位置するように配置されている。
(【0011】以降は省略されています)
この特許をJ-PlatPat(特許庁公式サイト)で参照する
関連特許
三甲株式会社
容器
2か月前
三甲株式会社
容器
22日前
三甲株式会社
容器
26日前
三甲株式会社
容器
29日前
三甲株式会社
容器
2日前
三甲株式会社
容器
2か月前
三甲株式会社
パレット
1か月前
三甲株式会社
パレット
1か月前
三甲株式会社
蓋付き容器
今日
三甲株式会社
端部パーツ
2か月前
三甲株式会社
仕切り付き容器
1か月前
三甲株式会社
仕切り付き容器
1か月前
三甲株式会社
ホルダ及び運搬具構造
2か月前
三甲株式会社
ホルダ及び運搬具構造
2か月前
三甲株式会社
容器
3か月前
三甲株式会社
容器
3か月前
三甲株式会社
容器
2か月前
三甲株式会社
パレット
1か月前
三甲株式会社
搬送器具
3か月前
三甲株式会社
買い物カゴ
6日前
三甲株式会社
蓋付きゴミ箱
1か月前
三甲株式会社
容器および買い物カゴ
3か月前
三甲株式会社
蓋付き容器、連動部材及び容器の積み重ね構造
2か月前
個人
箱
11か月前
個人
ゴミ箱
11か月前
個人
収容箱
2か月前
個人
コンベア
4か月前
個人
段ボール箱
6か月前
個人
段ボール箱
6か月前
個人
容器
8か月前
個人
ゴミ収集器
6か月前
個人
土嚢運搬器具
7か月前
個人
パウチ補助具
11か月前
個人
楽ちんハンド
4か月前
個人
バンド
1か月前
個人
宅配システム
6か月前
続きを見る
他の特許を見る