TOP
|
特許
|
意匠
|
商標
特許ウォッチ
Twitter
他の特許を見る
10個以上の画像は省略されています。
公開番号
2025166327
公報種別
公開特許公報(A)
公開日
2025-11-06
出願番号
2024070265
出願日
2024-04-24
発明の名称
アタッチメント及びパレット
出願人
三甲株式会社
代理人
個人
,
個人
主分類
B65D
19/38 20060101AFI20251029BHJP(運搬;包装;貯蔵;薄板状または線条材料の取扱い)
要約
【課題】搬送具に多様な通信機ホルダーを取り付け可能とすることが求められている。
【解決手段】パレット100の中央には、無線通信機器90を収容するための貫通孔110が形成されている。貫通孔110の上端開口には、通信機ホルダー91を保持した状態のアタッチメント10が取り付けられる。アタッチメント10は、貫通孔110の開口端の内側に嵌合するアタッチメント本体11と、アタッチメント本体11の複数位置から突出する複数の係合片30,40とを有する。
【選択図】図3
特許請求の範囲
【請求項1】
搬送具の貫通孔又は凹部の内側に嵌合した状態に取り付けられるアタッチメントであって、
無線通信機器を保持する通信機ホルダーが着脱可能に係合するホルダー係合部を備え、前記通信機ホルダーを前記貫通孔又は前記凹部に収容された状態に保持するアタッチメント。
続きを表示(約 1,300 文字)
【請求項2】
前記貫通孔又は前記凹部の内側に嵌合するアタッチメント本体と、
前記アタッチメント本体に形成され、前記通信機ホルダーの一部が嵌合しかつ抜け止め状態に係合するホルダー嵌合部と、を備える請求項1に記載のアタッチメント。
【請求項3】
前記アタッチメント本体は、前記貫通孔又は前記凹部の開口端の内側に嵌合し、
前記ホルダー嵌合部は、前記アタッチメント本体を貫通した状態に形成され、前記アタッチメント本体の外面側から前記通信機ホルダーが嵌合される請求項2に記載のアタッチメント。
【請求項4】
アタッチメントの前記貫通孔又は前記凹部に対する嵌合方向で、水が通過可能な切り欠きを備える請求項2に記載のアタッチメント。
【請求項5】
前記貫通孔又は前記凹部の平面形状の開口端は、回転対称な略多角形をなし、
平面形状が前記略多角形をなして、前記貫通孔又は前記凹部の開口端の内側に、複数の回転位置で嵌合可能なアタッチメント本体と、
前記アタッチメント本体のうち回転対称となる複数位置から突出し、前記貫通孔又は前記凹部の内部に備えた被係合部に係合して前記アタッチメント本体を前記貫通孔又は前記凹部の内部に抜け止めする複数の係合片と、を備え、
前記複数の係合片は、平面視において前記切り欠きと重ならない位置に配されている請求項4に記載のアタッチメント。
【請求項6】
前記略多角形は、略正方形であり、
対をなしかつ前記略正方形の1対の対向辺における点対称でかつ非線対称となる位置には、前記貫通孔又は凹部の内側面に向かって突出して前記被係合部と係合する係合突部を先端部に有する1対の第1係合片が、前記複数の係合片として設けられ、
前記略正方形の残りの1対の対向辺のうち前記1対の第1の係合片に対して回転対称となる位置には、前記1対の第1の係合片の前記係合突部より突出量が小さい係合突部を有する1対の第2係合片が前記複数の係合片として設けられるか、又は、前記1対の第1係合片と平行に延び、先端部に前記係合突部を有しない1対のガイド片を設けられている請求項5に記載のアタッチメント。
【請求項7】
前記アタッチメント本体から前記貫通孔又は前記凹部の奥側に向かって突出し、前記貫通孔又は前記凹部の内部に備えた被係合部に係合して前記アタッチメント本体を前記貫通孔又は前記凹部の内部に抜け止めする複数の係合片を備え、
前記複数の係合片の可動領域と、前記ホルダー嵌合部から前記貫通孔又は前記凹部の奥側への延長領域とが重ならないように配置されている請求項2に記載のアタッチメント。
【請求項8】
請求項2に記載のアタッチメントと、
前記アタッチメントが嵌合される貫通孔と、を有するパレットであって、
前記貫通孔の貫通方向の2箇所に、前記アタッチメントが着脱可能に係合可能な被係合突部又は被係合凹部が設けられ、前記貫通孔に対し任意の方向から前記アタッチメントを取り付け可能なパレット。
発明の詳細な説明
【技術分野】
【0001】
本開示は、搬送具の貫通孔又は凹部に取り付けられるアタッチメント及び、アタッチメントを有するパレットに関する。
続きを表示(約 1,600 文字)
【背景技術】
【0002】
従来、無線通信機器を収容する通信機ホルダーを取り付けるための貫通孔が設けられている搬送具が知られている(例えば、特許文献1参照)。
【先行技術文献】
【特許文献】
【0003】
特開2008-050024号公報(図1,3等)
【発明の概要】
【発明が解決しようとする課題】
【0004】
上述した搬送具は、柱体状の通信機ホルダーが貫通孔内に抜け止め状態に嵌合する構成であり、異なる形状の通信機ホルダーを取り付けることが困難であった。これに鑑み、搬送具に多様な通信機ホルダーを取り付け可能とすることが求められている。
【課題を解決するための手段】
【0005】
上記課題を解決するためになされた発明の一態様は、搬送具の貫通孔又は凹部の内側に嵌合した状態に取り付けられるアタッチメントであって、無線通信機器を保持する通信機ホルダーが着脱可能に係合するホルダー係合部を備え、前記通信機ホルダーを前記貫通孔又は前記凹部に収容された状態に保持するアタッチメントである。
【発明の効果】
【0006】
請求項1の構成によれば、通信機ホルダーがアタッチメントを介して搬送具に取り付けられるので、通信機ホルダーに応じてアタッチメントのみを変更することで、搬送具に多様な通信機ホルダーを取り付け可能となる。
【図面の簡単な説明】
【0007】
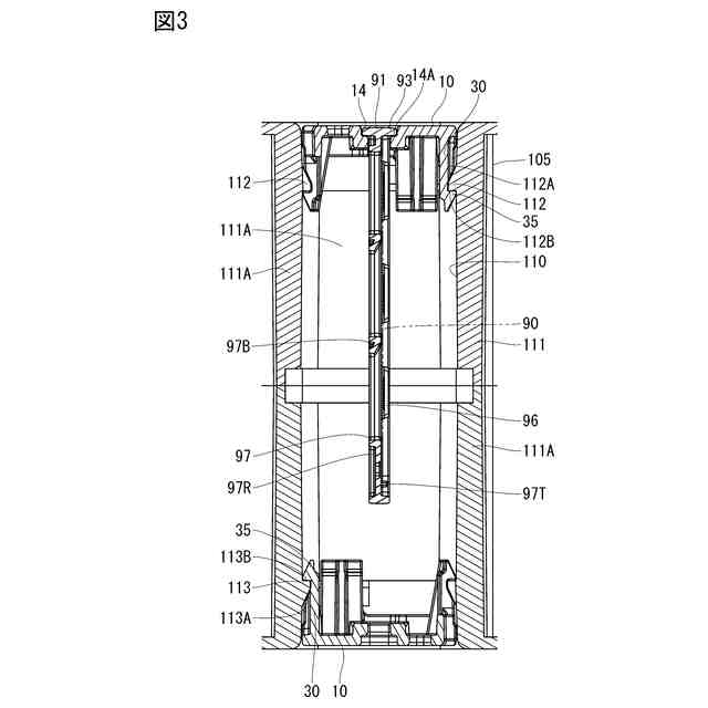
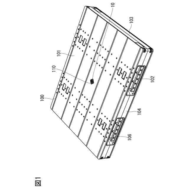
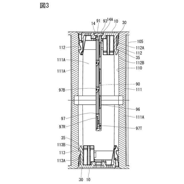
図1は、アタッチメントが取り付けられたパレットの斜視図
図2Aは、貫通孔近傍の拡大図、図2Bは、上側のアタッチメントを外した状態の貫通孔近傍の拡大図
図3は、図2AにおけるA-A断面図
図4は、図2AにおけるB-B断面図
図5は、通信機ホルダーの斜視図
図6Aは、アタッチメントの斜視図、図6Bは、アタッチメントの裏側斜視図
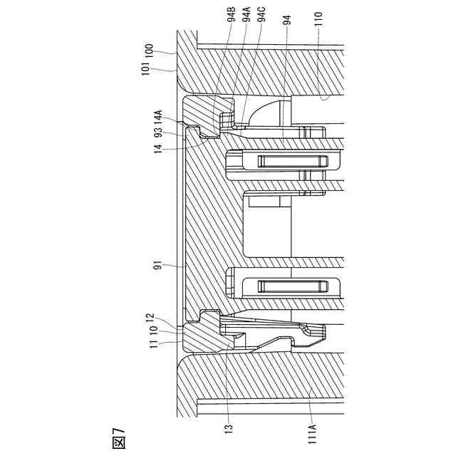
図7は、図2AにおけるC-C断面の拡大図
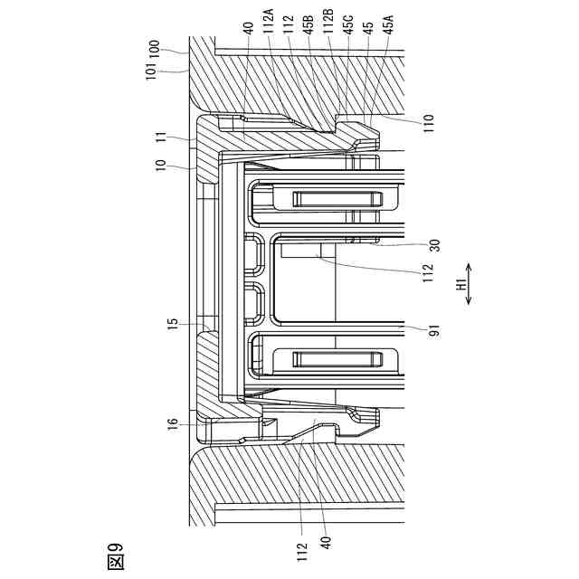
図8は、図2AにおけるA-A断面の拡大図
図9は、図2AにおけるB-B断面の拡大図
【発明を実施するための形態】
【0008】
[第1実施形態]
図1から図9には、第1実施形態に係るアタッチメント10が示されている。図1に示されるように、アタッチメント10は、無線通信機器90(図5参照。例えば、パッシブ型RFタグ)を保持した状態で「搬送具」としてのパレット100に取り付けられる。
【0009】
パレット100は、平面視長方形状の上側デッキボード101及び下側デッキボード102と、上側及び下側のデッキボード101,102同士を連結する側壁部103及び桁部104,105と、を有している。側壁部103は、上側及び下側のデッキボード101,102の短辺同士を連結している。桁部104,105には、上側及び下側のデッキボード101,102の長辺の中間部同士を連結する中間桁部104と、上側及び下側のデッキボード101,102の中央部同士を連結する中央桁部105(図3参照)と、が含まれている。側壁部103と桁部104,105との間は、フォーク挿入空間106となっている。また、本実施形態のパレット100は、同一形状の2つの射出成形品100Aが上下で向かい合わせて溶着された溶着パレットであり、上下をひっくり返しても使用可能になっている。
【0010】
図1及び図2に示すように、パレット100の中央には、無線通信機器90を収容するための貫通孔110が形成されている。詳細には、パレット100の中央桁部105(図3参照)の中心に、断面略正方形状の角筒部111が形成され、その内側が貫通孔110となっている。貫通孔110は、開口の各辺がパレット100の各辺に対して45度傾斜する向きになっている。
(【0011】以降は省略されています)
この特許をJ-PlatPat(特許庁公式サイト)で参照する
関連特許
三甲株式会社
容器
2か月前
三甲株式会社
容器
6日前
三甲株式会社
容器
2か月前
三甲株式会社
容器
1か月前
三甲株式会社
容器
1か月前
三甲株式会社
容器
27日前
三甲株式会社
運搬具
28日前
三甲株式会社
緩衝材
28日前
三甲株式会社
運搬具
15日前
三甲株式会社
蓋付き容器
2か月前
三甲株式会社
物品支持部材
1か月前
三甲株式会社
容器セットおよび容器
今日
三甲株式会社
アタッチメント及びパレット
28日前
三甲株式会社
容器
1か月前
三甲株式会社
容器
20日前
三甲株式会社
パレット
1か月前
三甲株式会社
買い物カゴ
2か月前
個人
収容箱
4か月前
個人
束ね具
23日前
個人
コンベア
6か月前
個人
段ボール箱
8か月前
個人
ゴミ収集器
8か月前
個人
容器
10か月前
個人
段ボール箱
8か月前
個人
バンド
3か月前
個人
宅配システム
8か月前
個人
テープ引出機
23日前
個人
楽ちんハンド
6か月前
個人
土嚢運搬器具
9か月前
個人
角筒状構造体
6か月前
個人
廃棄物収容容器
3か月前
個人
コード類収納具
9か月前
個人
棒状体収容容器
27日前
個人
閉塞装置
11か月前
個人
お薬の締結装置
7か月前
個人
包装容器
2か月前
続きを見る
他の特許を見る