TOP
|
特許
|
意匠
|
商標
特許ウォッチ
Twitter
他の特許を見る
10個以上の画像は省略されています。
公開番号
2025161941
公報種別
公開特許公報(A)
公開日
2025-10-24
出願番号
2025140619,2025049467
出願日
2025-08-26,2021-11-11
発明の名称
容器
出願人
三甲株式会社
代理人
個人
主分類
B65D
6/18 20060101AFI20251017BHJP(運搬;包装;貯蔵;薄板状または線条材料の取扱い)
要約
【課題】保管及び運搬を効率的に行うことのできる蓋体、及び、容器を提供する。
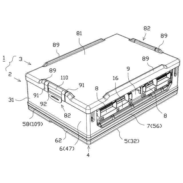
【解決手段】容器1は、上方に開口する略箱状の容器本体2と、容器本体2に対して着脱自在に被せられる蓋体3とを備える。蓋体3は、蓋体3同士を同じ向きとして上下に積重ねることで蓋体段積状態とすることが可能に構成される。蓋体3は、容器本体2に被せられた場合に当該容器本体2の外面に対向する対向部92を備える。対向部92には、当該対向部92の厚み方向に貫通する係止孔部103が設けられ、蓋体3が容器本体2に被せられた場合に当該容器本体2に設けられた係止突部105と係止状態とされる。蓋体3は、蓋体段積状態において他の蓋体3の対向部92を受容可能な受容凹部110を備えている。
【選択図】 図24
特許請求の範囲
【請求項1】
上方に開口する箱状の容器本体と、
前記容器本体の開口に対して被覆状態とされる蓋体と、を備える容器において、
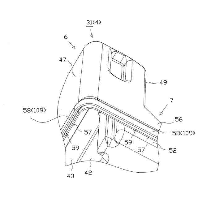
前記容器本体は、側壁上辺突部を備え、
前記蓋体は、
前記容器本体の上面側の開口部を閉塞可能な蓋本体と、
前記蓋本体に装着され、容器の被覆状態を維持する固定具と、を備え、
前記蓋本体には、
前記固定具が装着される装着部と、
前記蓋本体の下面の外周縁に沿って下方及び前記蓋本体の外周側に開口するようにして形成され、容器の被覆状態において、前記側壁上辺突部が収容される蓋止め凹部と、
前記蓋本体の下面の外周側の端縁から下方に突出する蓋補助突部と、が設けられ、
前記固定具には、
前記蓋本体に取付けられる左右一対の取付部と、
容器の被覆状態において前記容器本体の外面に対向する対向部と、が設けられ、
左右一対の前記取付部には、前記蓋補助突部の代わりとなる突部が設けられ、
前記対向部が設けられる部位は、該対向部が前記蓋補助突部の代わりとなることを特徴とする容器。
続きを表示(約 190 文字)
【請求項2】
前記蓋体は、蓋体段積規制部と、蓋体段積被規制部とを備え、
前記蓋体同士を同じ向きで積み重ねた蓋体段積状態とすることが可能であり、
前記蓋体段積状態とすることで、一方の前記蓋体の前記蓋体段積被規制部が、他方の前記蓋体の前記蓋止め凹部に挿入されて前記蓋体段積規制部と水平方向において対向して当接又は近接することを特徴とする請求項1に記載の容器。
発明の詳細な説明
【技術分野】
【0001】
本発明は、物品を収容可能な容器本体と、蓋体と、を備える容器に関するものである。
続きを表示(約 1,300 文字)
【背景技術】
【0002】
従来、物品の運搬等に使用される容器として、上方に開口する略箱状の容器本体と、容器本体に被せられる蓋体とを備え、蓋体に対して固定具を装着し、蓋体を容器本体に被せることで、固定具の係止部が容器本体の被係止部に係止されるといった技術がある(例えば、特許文献1等参照。)。
【先行技術文献】
【特許文献】
【0003】
特開平9-207958号公報
【発明の概要】
【発明が解決しようとする課題】
【0004】
ところで、容器の被覆状態の安定化を図ることが望まれている。
【0005】
本発明は、上記例示した問題点等を解決するためになされたものであって、その目的は、容器本体と、蓋体と、を備える容器において、容器の被覆状態の安定化を図ることのできる容器を提供することにある。
【課題を解決するための手段】
【0006】
以下、上記目的等を解決するのに適した各手段につき項分けして説明する。なお、必要に応じて対応する手段に特有の作用効果等を付記する。
【0007】
手段1.上方に開口する箱状の容器本体と、
前記容器本体の開口に対して被覆状態とされる蓋体と、を備える容器において、
前記容器本体は、側壁上辺突部を備え、
前記蓋体は、
前記容器本体の上面側の開口部を閉塞可能な蓋本体と、
前記蓋本体に装着され、容器の被覆状態を維持する固定具と、を備え、
前記蓋本体には、
前記固定具が装着される装着部と、
前記蓋本体の下面の外周縁に沿って下方及び前記蓋本体の外周側に開口するようにして形成され、容器の被覆状態において、前記側壁上辺突部が収容される蓋止め凹部と、
前記蓋本体の下面の外周側の端縁から下方に突出する蓋補助突部と、が設けられ、
前記固定具には、
前記蓋本体に取付けられる左右一対の取付部と、
容器の被覆状態において前記容器本体の外面に対向する対向部と、が設けられ、
左右一対の前記取付部には、前記蓋補助突部の代わりとなる突部が設けられ、
前記対向部が設けられる部位は、該対向部が前記蓋補助突部の代わりとなることを特徴とする容器。
【0008】
手段1によれば、容器の被覆状態の安定化を図ることができる。また、埃等が進入し易くなること等を抑止できる。
【0009】
手段2.前記蓋体は、蓋体段積規制部と、蓋体段積被規制部とを備え、
前記蓋体同士を同じ向きで積み重ねた蓋体段積状態とすることが可能であり、
前記蓋体段積状態とすることで、一方の前記蓋体の前記蓋体段積被規制部が、他方の前記蓋体の前記蓋止め凹部に挿入されて前記蓋体段積規制部と水平方向において対向して当接又は近接することを特徴とする手段1に記載の容器。
【0010】
手段2によれば、上下に重なる蓋体間の水平方向の相対変位を規制することができる。
【図面の簡単な説明】
(【0011】以降は省略されています)
この特許をJ-PlatPat(特許庁公式サイト)で参照する
関連特許
三甲株式会社
容器
1か月前
三甲株式会社
容器
4日前
三甲株式会社
容器
11日前
三甲株式会社
容器
2か月前
三甲株式会社
容器
1か月前
三甲株式会社
容器
1か月前
三甲株式会社
運搬具
20日前
三甲株式会社
運搬具
1か月前
三甲株式会社
緩衝材
1か月前
三甲株式会社
容器セット
4日前
三甲株式会社
蓋付き容器
2か月前
三甲株式会社
物品支持部材
2か月前
三甲株式会社
容器セットおよび容器
5日前
株式会社カインズ
容器
4日前
株式会社カインズ
容器
4日前
三甲株式会社
アタッチメント及びパレット
1か月前
三甲株式会社
容器
1か月前
三甲株式会社
容器
25日前
三甲株式会社
パレット
1か月前
三甲株式会社
買い物カゴ
2か月前
個人
収容箱
4か月前
個人
束ね具
28日前
個人
コンベア
6か月前
個人
段ボール箱
8か月前
個人
容器
10か月前
個人
ゴミ収集器
8か月前
個人
段ボール箱
8か月前
個人
角筒状構造体
7か月前
個人
土嚢運搬器具
9か月前
個人
楽ちんハンド
6か月前
個人
バンド
3か月前
個人
宅配システム
8か月前
個人
テープ引出機
28日前
個人
閉塞装置
11か月前
個人
棒状体収容容器
1か月前
個人
コード類収納具
9か月前
続きを見る
他の特許を見る