TOP
|
特許
|
意匠
|
商標
特許ウォッチ
Twitter
他の特許を見る
10個以上の画像は省略されています。
公開番号
2025153158
公報種別
公開特許公報(A)
公開日
2025-10-10
出願番号
2024055478
出願日
2024-03-29
発明の名称
物品支持部材
出願人
三甲株式会社
代理人
個人
,
個人
主分類
B65D
81/05 20060101AFI20251002BHJP(運搬;包装;貯蔵;薄板状または線条材料の取扱い)
要約
【課題】不使用時に保管するスペースをコンパクトにすることが望まれている。
【解決手段】本開示の物品支持部材10は、対をなして、容器50の1対の第1対向側壁52が対向する方向で対向配置され、協働してワーク100を支持している。物品支持部材10の外側側面11には、容器50の第1対向側壁52に当接又は近接する突部20が設けられ、不使用時の2つの物品支持部材10の外側側面11同士を向かい合わせると、第1水平方向で突部20同士が並んだ重ね合わせ状態にすることが可能である。
【選択図】図9
特許請求の範囲
【請求項1】
1対の第1対向側壁と1対の第2対向側壁とを有する四角形の容器内に対をなして前記第1対向側壁が対向する方向で対向配置され、協働して物品を支持する物品支持部材であって、
前記上方から物品の一部を受容する物品受容部と、
前記容器内に配された状態で前記第1対向側壁と対向する外側側面から突出し、前記容器の前記第1対向側壁に当接又は近接可能な突部と、を備え、
不使用時の2つの物品支持部材の前記外側側面同士を向かい合わせて、前記外側側面が延びる方向である第1水平方向で前記突部同士が並んだ重ね合わせ状態にすることが可能な物品支持部材。
続きを表示(約 970 文字)
【請求項2】
前記突部は、前記第1水平方向で並べて複数設けられ、前記重ね合わせ状態において、一方の物品支持部材の2つの前記突部の間に、他方の物品支持部材の1又は複数の前記突部が挟まれる請求項1に記載の物品支持部材。
【請求項3】
前記突部は、不使用時の2つの物品支持部材を前記第1水平方向で端部同士を合わせて前記重ね合わせ状態にすることが可能に配置されている請求項1に記載の物品支持部材。
【請求項4】
前記突部は、前記第1水平方向で並べて複数設けられ、
前記第1水平方向と直交する第2水平方向で前記物品の移動を規制する規制面を有し、
前記第1水平方向において、前記規制面の少なくとも一部が前記突部の間に配される請求項1に記載の物品支持部材。
【請求項5】
前記容器内で前記突部同士が上下に並ぶように物品支持部材同士が段積みされて、各段で前記物品を支持可能であり、
段積状態で、互いにずれを規制する段積み規制部を備え、
前記外側側面と反対側に、平坦に延びかつ前記第1水平方向と直交する第2水平方向で突出する突出部を有さない内側側面を有している請求項1に記載の物品支持部材。
【請求項6】
前記物品は、前記外側側面より外方にはみ出して配置され、
前記外側側面から突出し、前記物品の一端部の位置の目印となる指標部を備える請求項1に記載の物品支持部材。
【請求項7】
請求項1から6の何れか1の請求項に記載の前記物品支持部材と、前記容器と、を備える梱包セットであって、
前記突部が前記容器の1対の前記第1対向側壁の一方に当接又は近接するように配され、前記物品の一端を支持する第1の前記物品支持部材と、
前記突部が1対の前記第1対向側壁の他方に当接又は近接するように配され、前記物品の他端を支持する第2の前記物品支持部材と、を備え、
前記重ね合わせ状態にした2つの前記第1の前記物品支持部材と、前記重ね合わせ状態にした2つの前記第2の前記物品支持部材と、を前記第1水平方向と直交する第2水平方向で並べた状態の前記第2水平方向の長さが、前記容器の1対の前記第1対向側壁の間の距離よりも小さい梱包セット。
発明の詳細な説明
【技術分野】
【0001】
本開示は、上方から物品を受容する物品支持部材に関する。
続きを表示(約 1,800 文字)
【背景技術】
【0002】
従来、この種の物品支持部材として、容器内に配置されて使用されるものが知られている(例えば、特許文献1参照)。
【先行技術文献】
【特許文献】
【0003】
実開平7-017786号公報(段落[0017]及び図2等)
【発明の概要】
【発明が解決しようとする課題】
【0004】
上述した従来の物品支持部材においては、不使用時に保管するスペースをコンパクトにすることが望まれている。
【課題を解決するための手段】
【0005】
発明の一態様は、1対の第1対向側壁と1対の第2対向側壁とを有する四角形の容器内に対をなして前記第1対向側壁が対向する方向で対向配置され、協働して物品を支持する物品支持部材であって、前記上方から物品の一部を受容する物品受容部と、前記容器内に配された状態で前記第1対向側壁と対向する外側側面から突出し、前記容器の前記第1対向側壁に当接又は近接可能な突部と、を備え、不使用時の2つの物品支持部材の前記外側側面同士を向かい合わせて、前記外側側面が延びる方向である第1水平方向で前記突部同士が並んだ重ね合わせ状態にすることが可能な物品支持部材である。
【発明の効果】
【0006】
発明の一態様によれば、不使用時に、2つの物品支持部材の外側側面同士を向かい合わせ、突部同士をずらして重ね合わせ状態にすることが可能なので、2つの物品支持部材を保管するスペースを、向かい合わせ方向で小さくすることができる。つまり、不使用時に物品支持部材を保管するスペースをコンパクトにすることが可能となる。
【図面の簡単な説明】
【0007】
図1は、物品支持部材にワークを載置した状態の容器の斜視図
図2は、物品支持部材にワークを載置した状態の容器の平面図
図3は、物品支持部材の斜視図
図4は、物品支持部材にワークを載置した状態の正断面図
図5は、物品支持部材の背面図
図6は、物品支持部材の下面側斜視図
図7は、物品支持部材の平面図
図8は、物品支持部材の正面図
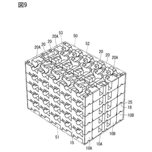
図9は、不使用時の物品支持部材を収容した状態の容器の斜視図
図10は、不使用時の物品支持部材を収容した状態の容器の平面図
【発明を実施するための形態】
【0008】
[第1実施形態]
図1から図10には、第1実施形態に係る物品支持部材10が示されている。図1に示されるように、物品支持部材10は、四角形の容器50内に配置されて、「物品」としてのワーク100を支持するために使用される。本実施形態の容器50は、例えば、段ボール箱であり、長方形状の底壁51と、底壁51の長辺から起立する1対の第1対向側壁52と、底壁51の短辺から起立する1対の第2対向側壁53とを有している。なお、容器50は、樹脂製のコンテナ等であってもよい。
【0009】
図1及び図2に示されるように、本実施形態のワーク100は、断面円形の棒状をなし、細長い円柱状の主軸部101と、主軸部101の両端から段付き状に縮径して均一に延びた小径部102と、を有している。以降、適宜、一方(図1中の左手前側)の小径部102を第1小径部102Aといい、他方(図1中の右奥側)の小径部102を第2小径部102Bという。
【0010】
主軸部101のうち第1小径部102A側端部寄り位置には、側方に突出した第1平板部103と円柱部104とが設けられている。平板部103は、主軸部101の径方向の一端部から接線方向の一方に平板状に張り出し、円柱部104は、その径方向の一端部を挟んで第1平板部103と反対側に配され、第1平板部103の延長面と交差する方向に延びている。また、主軸部101のうち第2小径部102B側端部寄り位置には、第1平板部103と同一平面内に、主軸部101の径方向の一端部から接線方向の両方にそれぞれ張り出した第2及び第3の平板部105,106が設けられている。第2平板部105は、主軸部101に対して第1平板部103と同一の方向に突出し、第3平板部106は、反対方向に突出している。
(【0011】以降は省略されています)
この特許をJ-PlatPat(特許庁公式サイト)で参照する
関連特許
三甲株式会社
容器
8日前
三甲株式会社
容器
1か月前
三甲株式会社
容器
2か月前
三甲株式会社
容器
1か月前
三甲株式会社
容器
2か月前
三甲株式会社
容器
11日前
三甲株式会社
容器
3か月前
三甲株式会社
パレット
2か月前
三甲株式会社
パレット
2か月前
三甲株式会社
蓋付き容器
1か月前
三甲株式会社
物品支持部材
25日前
三甲株式会社
仕切り付き容器
2か月前
三甲株式会社
仕切り付き容器
2か月前
三甲株式会社
容器
11日前
三甲株式会社
パレット
11日前
三甲株式会社
パレット
2か月前
三甲株式会社
買い物カゴ
1か月前
三甲株式会社
蓋付きゴミ箱
2か月前
三甲株式会社
蓋付き容器、連動部材及び容器の積み重ね構造
3か月前
個人
収容箱
3か月前
個人
コンベア
5か月前
個人
容器
9か月前
個人
ゴミ収集器
7か月前
個人
段ボール箱
7か月前
個人
段ボール箱
7か月前
個人
楽ちんハンド
5か月前
個人
角筒状構造体
5か月前
個人
土嚢運搬器具
8か月前
個人
宅配システム
7か月前
個人
バンド
2か月前
個人
廃棄物収容容器
2か月前
個人
コード類収納具
8か月前
個人
お薬の締結装置
6か月前
個人
包装容器
1か月前
個人
閉塞装置
10か月前
株式会社和気
包装用箱
9か月前
続きを見る
他の特許を見る