TOP
|
特許
|
意匠
|
商標
特許ウォッチ
Twitter
他の特許を見る
10個以上の画像は省略されています。
公開番号
2025177161
公報種別
公開特許公報(A)
公開日
2025-12-05
出願番号
2024083742
出願日
2024-05-23
発明の名称
容器
出願人
株式会社カインズ
,
三甲株式会社
代理人
個人
主分類
B65F
1/16 20060101AFI20251128BHJP(運搬;包装;貯蔵;薄板状または線条材料の取扱い)
要約
【課題】蓋体を効率的に開閉可能とする容器を提供する。
【解決手段】容器1は、容器本体2の開口部4を開口させる開位置と開口部4を閉鎖する閉位置との間を回動変位可能な第1蓋体8及び第2蓋体9を備えるとともに、第1蓋体8及び第2蓋体9のそれぞれに対応して、蓋体8、9を開位置側に付勢するバネ部材58と、蓋体8、9を閉位置において保持するプッシュラッチ機構と、使用者の操作に基づいてプッシュラッチ機構により蓋体8、9が保持された状態が解除される解除操作部56とを備える。第1蓋体8が開位置かつ第2蓋体9が閉位置にある第1開状態と、第2蓋体9が開位置かつ第1蓋体8が閉位置にある第2開状態と、第1蓋体8及び第2蓋体9の双方が開位置にある第3開状態とに状態変化可能に構成され、第1開状態、第2開状態、及び、第3開状態と、全ての蓋体8、9が閉位置にある閉状態との間を直接的に状態変化可能に構成されている。
【選択図】 図5
特許請求の範囲
【請求項1】
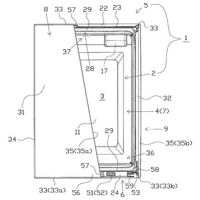
上方に開口する開口部を有する略箱状の容器本体と、
前記容器本体に対し、前記開口部を開口させる開位置と、前記開口部を閉鎖する閉位置との間を回動変位可能、かつ、回動変位の中心軸が前記開口部の周縁部に沿って延在するようにして取付けられる蓋体とを備え、
前記蓋体を前記開位置側に付勢する付勢手段と、
前記蓋体を前記閉位置において保持する保持手段と、
使用者の操作に基づいて、前記保持手段により前記蓋体が保持された状態が解除される解除操作部とを備え、
前記蓋体は、第1蓋体と、第2蓋体とを備え、
前記第1蓋体、及び、前記第2蓋体のそれぞれに対応して、前記付勢手段、前記保持手段、及び、前記解除操作部が設けられ、
前記保持手段により保持された前記第1蓋体、及び、前記第2蓋体に対応する前記解除操作部を操作することにより、対応する前記第1蓋体、及び、前記第2蓋体が前記付勢手段の付勢力により前記開位置へと変位する構成であって、
前記第1蓋体が前記開位置にあり、前記第2蓋体が前記閉位置にある第1開状態と、
前記第2蓋体が前記開位置にあり、前記第1蓋体が前記閉位置にある第2開状態と、
前記第1蓋体、及び、前記第2蓋体の双方が前記開位置にある第3開状態とに状態変化可能に構成され、
前記第1開状態、前記第2開状態、及び、前記第3開状態と、全ての前記蓋体が前記閉位置にある閉状態との間を直接的に状態変化可能に構成されていることを特徴とする容器。
続きを表示(約 840 文字)
【請求項2】
前記保持手段は、前記蓋体を前記閉位置とすることで前記蓋体を保持する状態となり、前記閉位置にある前記蓋体を前記閉位置側に押圧することで前記蓋体を保持する状態が解除されるプッシュラッチ機構により構成され、
前記解除操作部は、前記蓋体のうち前記閉位置にある場合に前記蓋体を保持した状態にある前記保持手段の近傍となる部位により構成され、
前記第1蓋体に対応する前記保持手段は、前記閉位置とされた前記第2蓋体により覆われる範囲の近傍、かつ、前記第2蓋体に対応する前記保持手段の近傍に設けられていることを特徴とする請求項1に記載の容器。
【請求項3】
前記容器本体の前記開口部は平面視矩形状をなし、
前記第1蓋体及び前記第2蓋体は、前記容器の前記閉状態において前記開口部の4つの側辺のうち第1側辺の延在方向において互いに隣接して設けられ、
前記第1蓋体のうち前記閉位置とされた場合に前記第1側辺に沿って延在する側辺部の長さは、前記第1側辺の長さの半分の長さよりも長い範囲を覆うことが可能な長さに構成され、
前記第2蓋体のうち前記閉位置とされた場合に前記第1側辺に沿って延在する側辺部の長さは、前記第1側辺の長さの半分の長さよりも短い範囲を覆うことが可能な長さに構成されていることを特徴とする請求項1又は2に記載の容器。
【請求項4】
前記第1蓋体のうち前記閉状態において前記第1側辺の延在方向において前記第2蓋体と対向する第1蓋開放側辺部は、前記第1側辺側から前記開口部のうち前記第1側辺と対向する第2側辺側に向けて前記第1蓋体の軸に近付く側に傾斜して延在し、
前記第2蓋体のうち前記閉状態において前記第1側辺の延在方向において前記第1蓋体と対向する第2蓋開放側辺部は、前記第1側辺側から前記第2側辺側に向けて前記第2蓋体の軸から遠ざかる側に傾斜して延在することを特徴とする請求項3に記載の容器。
発明の詳細な説明
【技術分野】
【0001】
本発明は、蓋体を備える容器に関するものである。
続きを表示(約 2,600 文字)
【背景技術】
【0002】
従来、ゴミ箱等として使用される容器として、上方に開口する箱状の容器本体と、容器本体の開口部を開閉可能とする一対の蓋体と、ペダルと、ペダルの操作に一対の蓋体を連動させて容器本体の開口部を開状態とさせる連動部材とを備えるものが知られている(例えば、特許文献1等参照。)。
【先行技術文献】
【特許文献】
【0003】
特開2019-85241号公報
【発明の概要】
【発明が解決しようとする課題】
【0004】
ところで、特許文献1に記載の容器は、容器に投入する物体(ゴミ)の大小や形状等に関わらず、容器本体の開口部を開状態とする場合には、必ず一対の蓋体が開位置へと変位して開口部の全体が開口する構成となっている。この点、容器に投入する物体の大きさ等に応じて蓋体を効率的に開閉させる構造が望まれている。
【0005】
本発明は、上記例示した問題点等を解決するためになされたものであって、その目的は、蓋体を効率的に開閉可能とする容器を提供することにある。
【課題を解決するための手段】
【0006】
以下、上記目的等を解決するのに適した各手段につき項分けして説明する。なお、必要に応じて対応する手段に特有の作用効果等を付記する。
【0007】
手段1.上方に開口する開口部を有する略箱状の容器本体と、
前記容器本体に対し、前記開口部を開口させる開位置と、前記開口部を閉鎖する閉位置との間を回動変位可能、かつ、回動変位の中心軸が前記開口部の周縁部に沿って延在するようにして取付けられる蓋体とを備え、
前記蓋体を前記開位置側に付勢する付勢手段と、
前記蓋体を前記閉位置において保持する保持手段と、
使用者の操作に基づいて、前記保持手段により前記蓋体が保持された状態が解除される解除操作部とを備え、
前記蓋体は、第1蓋体と、第2蓋体とを備え、
前記第1蓋体、及び、前記第2蓋体のそれぞれに対応して、前記付勢手段、前記保持手段、及び、前記解除操作部が設けられ、
前記保持手段により保持された前記第1蓋体、及び、前記第2蓋体に対応する前記解除操作部を操作することにより、対応する前記第1蓋体、及び、前記第2蓋体が前記付勢手段の付勢力により前記開位置へと変位する構成であって、
前記第1蓋体が前記開位置にあり、前記第2蓋体が前記閉位置にある第1開状態と、
前記第2蓋体が前記開位置にあり、前記第1蓋体が前記閉位置にある第2開状態と、
前記第1蓋体、及び、前記第2蓋体の双方が前記開位置にある第3開状態とに状態変化可能に構成され、
前記第1開状態、前記第2開状態、及び、前記第3開状態と、全ての前記蓋体が前記閉位置にある閉状態との間を直接的に状態変化可能に構成されていることを特徴とする容器。
【0008】
手段1によれば、容器に投入する物体(ゴミ)の大小や形状等に応じて、当該物体の投入に適した(必要最低限となる)容器本体の開口部の開口形状(開口面積)を確保するために開位置とさせる第1蓋体及び第2蓋体を選択し、選択した蓋体のみを開位置とすることができる。従って、例えば、容器本体の開口部を開閉する場合に必ず容器本体の開口部を閉鎖する全ての蓋体が一斉に開閉する構成に比べて、構成の簡素化を図りつつ、第1蓋体及び第2蓋体の一方だけを開閉させる場合に、蓋体の開閉に際して容器に収容されている物体に悪影響が生じる(例えば、蓋体の開閉に際して発生した風によって容器に収容されている比較的軽い物体が浮き上がってしまう)ことを抑制することができる。さらに、容器の内部と外部とを極力遮断したいと考える使用者にとって開口面積を小さく、かつ、開放時間を比較的短くすることができる。加えて、容器の第1蓋体側に物体が詰まっている場合に第2蓋体のみを開位置とすることができる。結果として、状況に応じて蓋体を選択的かつ効率的に開閉させて、所望の使用形態とすることができ、利便性の向上等を図ることができる。
【0009】
また、例えば、1つの蓋体で容器本体の開口部の全体を閉鎖する構成に比べて、蓋体を軽く、小さくすることができ、付勢手段に関する構成の複雑化、及び、大型化等を抑止するとともに、蓋体を開位置とした場合の容器の高さを低く抑制し、高さに制限のある場所に設置し易くすることができる。さらに、第1開状態、及び、第2開状態では、閉位置にある方の蓋体に複数の所定の物体を一旦載せて、物体の全部又は一部を1つずつ順番に容器に収容する(例えば、物体を1つずつ整理しながら収容する、物体からタグを外してタグを収容する等)といった使用形態とすることもできる。加えて、手段1では、第1開状態、第2開状態、及び、第3開状態と、閉状態との間を直接的に状態変化可能である。このため、例えば、閉状態において第1蓋体及び第2蓋体同士が一部上下に重なっているような構成のように、閉状態から第1蓋体及び第2蓋体のうち一方のみを開位置とした状態とする場合に、一旦第3開状態とする必要が生じたり、前記一方のみが開位置とされた状態から閉状態とする場合に、閉位置にある他方を開位置として一旦第3開状態とする必要が生じたりするといった手間のかかる事態を回避することができる。
【0010】
手段2.前記保持手段は、前記蓋体を前記閉位置とすることで前記蓋体を保持する状態となり、前記閉位置にある前記蓋体を前記閉位置側に押圧することで前記蓋体を保持する状態が解除されるプッシュラッチ機構により構成され、
前記解除操作部は、前記蓋体のうち前記閉位置にある場合に前記蓋体を保持した状態にある前記保持手段の近傍となる部位により構成され、
前記第1蓋体に対応する前記保持手段は、前記閉位置とされた前記第2蓋体により覆われる範囲の近傍、かつ、前記第2蓋体に対応する前記保持手段の近傍に設けられていることを特徴とする手段1に記載の容器。
(【0011】以降は省略されています)
この特許をJ-PlatPat(特許庁公式サイト)で参照する
関連特許
個人
束ね具
27日前
個人
収容箱
4か月前
個人
コンベア
6か月前
個人
容器
10か月前
個人
段ボール箱
8か月前
個人
段ボール箱
8か月前
個人
ゴミ収集器
8か月前
個人
宅配システム
8か月前
個人
バンド
3か月前
個人
テープ引出機
27日前
個人
角筒状構造体
6か月前
個人
土嚢運搬器具
9か月前
個人
楽ちんハンド
6か月前
個人
廃棄物収容容器
4か月前
個人
お薬の締結装置
7か月前
個人
閉塞装置
11か月前
個人
棒状体収容容器
1か月前
個人
包装容器
2か月前
個人
コード類収納具
9か月前
個人
蓋閉止構造
5か月前
株式会社和気
包装用箱
1か月前
個人
積み重ね用補助具
4か月前
個人
蓋閉止構造
5か月前
個人
ゴミ処理機
10か月前
個人
把手付米袋
6か月前
株式会社コロナ
梱包材
6か月前
株式会社バンダイ
物品
2か月前
個人
貯蔵サイロ
8か月前
株式会社和気
包装用箱
10か月前
個人
介護用コップ
3か月前
三甲株式会社
蓋体
9か月前
株式会社イシダ
搬送装置
7か月前
個人
輸送積荷用動吸振器
7か月前
三甲株式会社
容器
7か月前
株式会社ナベル
検査装置
1か月前
個人
袋入り即席麺
8か月前
続きを見る
他の特許を見る