TOP
|
特許
|
意匠
|
商標
特許ウォッチ
Twitter
他の特許を見る
10個以上の画像は省略されています。
公開番号
2025177125
公報種別
公開特許公報(A)
公開日
2025-12-05
出願番号
2024083683
出願日
2024-05-22
発明の名称
容器セット
出願人
三甲株式会社
代理人
個人
,
個人
主分類
B65D
21/04 20060101AFI20251128BHJP(運搬;包装;貯蔵;薄板状または線条材料の取扱い)
要約
【課題】段積み作業を容易に行うことが可能な容器セットを提供する。
【解決手段】本発明の容器セットでは、第1の容器10を2つ並べてなる第1容器集合体80の上に、第2の容器40を第1の向きにして積み上げたときと、第1の向きに対して180度異なる第2の向きにして積み上げたときとの両方で、第2の容器40の1対の長辺側の側壁の複数の脚部51の全てが、第1容器集合体80の上部に上方から当接する。これにより、第2の容器40が第1容器集合体80上で180度異なる2つの向きで安定して段積みすることができるので、向きを確認する手間がなくなり、段積み作業が容易になる。
【選択図】図17
特許請求の範囲
【請求項1】
上面が開放した箱形をなしかつ外側面に複数の脚部を有すると共に内側面に複数の縦溝を備える第1及び第2の2種類の容器を含み、同種類の容器同士を同じ向きにして積み上げると上側の容器の前記複数の脚部が、下側の容器の前記複数の縦溝に収容されるネスティング状態になる一方、同種類の容器同士を180度異なる向きにして積み上げると上側の容器の前記複数の脚部が、下側の容器の上部に上方から当接するスタッキング状態になり、さらに、前記第2の容器の平面形状が、2つの前記第1の容器を水平に並べてなる第1容器集合体の平面形状と略同じ長方形をなしている容器セットにおいて、
前記第1容器集合体の上に、前記第2の容器を第1の向きにして積み上げたときと、前記第1の向きに対して180度異なる前記第2の向きにして積み上げたときとの両方で、前記第2の容器の1対の長辺側の側壁の複数の脚部の全てが、前記第1容器集合体の上部に上方から当接する容器セット。
続きを表示(約 1,200 文字)
【請求項2】
前記第1の容器は、1対の短辺側の側壁に1対ずつの前記脚部及び1対ずつの前記縦溝を備え、それら1対ずつの脚部及び1対ずつの縦溝は、非回転対称かつ前記1対の短辺側の側壁の間の中心面である短辺中心面に対して面対称に配置され、
前記第2の容器は、1対の長辺側の側壁に1対ずつの前記脚部及び1対ずつの前記縦溝を備え、それら1対ずつの脚部及び1対ずつの縦溝は、非回転対称かつ前記1対の長辺側の側壁の間の中心面である長辺中心面に対して面対称に配置されている請求項1に記載の容器セット。
【請求項3】
前記第1容器集合体の上に、前記第2の容器を前記第1の向きにして積み上げたときと、前記第2の向きにして積み上げたときとで、前記第2の容器の1対の長辺側の側壁の各脚部が、前記第1容器集合体の前記縦溝を挟んだ一方側位置と他方側位置とに位置を変えて上方から当接する請求項2に記載の容器セット。
【請求項4】
前記第1の容器は、平面形状が長方形で、その長方形の4辺の側壁のそれぞれに前記脚部と前記縦溝とを有し、
前記第2の容器の上に、前記第1容器集合体を第1の向きにして積み上げたときと、前記第1の向きに対して180度異なる第2の向きにして積み上げたときとの両方で、前記第1容器集合体に含まれる各第1の容器の3辺の側壁の脚部が、前記第2の容器の上部に上方から当接する請求項1に記載の容器セット。
【請求項5】
前記第1の容器には、上面の内縁部を段付き状に陥没させて上面段差部が形成されると共に、その上面の下段部分に他の前記第1の容器の脚部が当接し得る脚部当接部が設けられ、
前記第2の容器には、上面の内縁部を段付き状に陥没させて上面段差部が形成されると共に、その上面の下段部分に他の前記第2の容器の脚部が当接し得る脚部当接部が設けられ、
容器セットには、前記第2の容器と平面形状が略同一で、下面の外縁部より内側部分を突出させてなる下面突部を有しかつ前記脚部を有しない第3の容器が含まれ、
前記第3の容器が、前記第2の容器の上に積み上げられると、前記下面突部が前記第2の容器における前記上面段差部の内側に嵌合すると共に、
前記第3の容器が、前記第1容器集合体の上に積み上げられると、前記下面突部が前記第1容器集合体を構成する2つの前記第1の容器における前記上面段差部の内側に嵌合する請求項1から4の何れか1の請求項に記載の容器セット。
【請求項6】
前記第1の容器の一方の長辺側の側壁の上部を陥没させてなり、前記第2の容器の下部を受容する受容部と、
前記受容部の底面から突出する突部と、
前記第2の容器の下面に形成され、前記突部と水平方向で対向する被係合部と、
を備える請求項1から4の何れか1の請求項に記載の容器セット。
発明の詳細な説明
【技術分野】
【0001】
本開示は、第1と第2の2種類の容器を含み、同種類の容器同士の段積みをスタッキング状態とネスティング状態とにすることが可能な容器セットに関する。
続きを表示(約 2,500 文字)
【背景技術】
【0002】
この種の容器セットとして、2つの第1の容器を水平に並べてなる第1容器集合体の上に、第2の容器を段積可能なものが知られている(例えば、先行文献1参照)。
【先行技術文献】
【特許文献】
【0003】
特許第4394365号公報(図3)
【発明の概要】
【発明が解決しようとする課題】
【0004】
しかしながら、上述の従来の容器セットは、第1容器集合体の上に段積みされる第2の容器の向きによっては、第2の容器が第1容器集合体上でシーソーのように傾動し得るため、第1容器集合体に対する第2の容器の段積み時の向きを確認する必要があり、段積み作業に手間がかかるという問題がある。そこで、本願は、上記問題を有さず、段積み作業を容易に行うことが可能な容器セットを提供する。
【課題を解決するための手段】
【0005】
上記課題を解決するためになされた本開示の一態様は、上面が開放した箱形をなしかつ外側面に複数の脚部を有すると共に内側面に複数の縦溝を備える第1及び第2の2種類の容器を含み、同種類の容器同士を同じ向きにして積み上げると上側の容器の前記複数の脚部が、下側の容器の前記複数の縦溝に収容されるネスティング状態になる一方、同種類の容器同士を180度異なる向きにして積み上げると上側の容器の前記複数の脚部が、下側の容器の上部に上方から当接するスタッキング状態になり、さらに、前記第2の容器の平面形状が、2つの前記第1の容器を水平に並べてなる第1容器集合体の平面形状と略同じ長方形をなしている容器セットにおいて、前記第1容器集合体の上に、前記第2の容器を第1の向きにして積み上げたときと、前記第1の向きに対して180度異なる前記第2の向きにして積み上げたときとの両方で、前記第2の容器の1対の長辺側の側壁の複数の脚部の全てが、前記第1容器集合体の上部に上方から当接する容器セットである。
【発明の効果】
【0006】
本開示の一態様の容器セットは、第1容器集合体の上に、第2の容器を第1の向きにして積み上げたときと、第1の向きに対して180度異なる第2の向きにして積み上げたときとの両方で、第2の容器の1対の長辺側の側壁の複数の脚部の全てが、第1容器集合体の上部に上方から当接する。即ち、本発明によれば、第2の容器が第1容器集合体上で180度異なる2つの向きで安定して段積みすることができるので、向きを確認する手間がなくなり、段積み作業が容易になる。
【図面の簡単な説明】
【0007】
図1は、第1の容器の上面側の斜視図
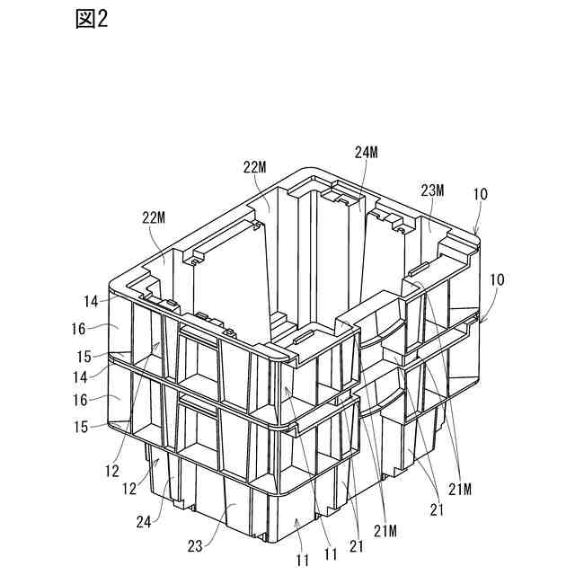
図2は、ネスティング状態にされた2つの第1の容器の斜視図
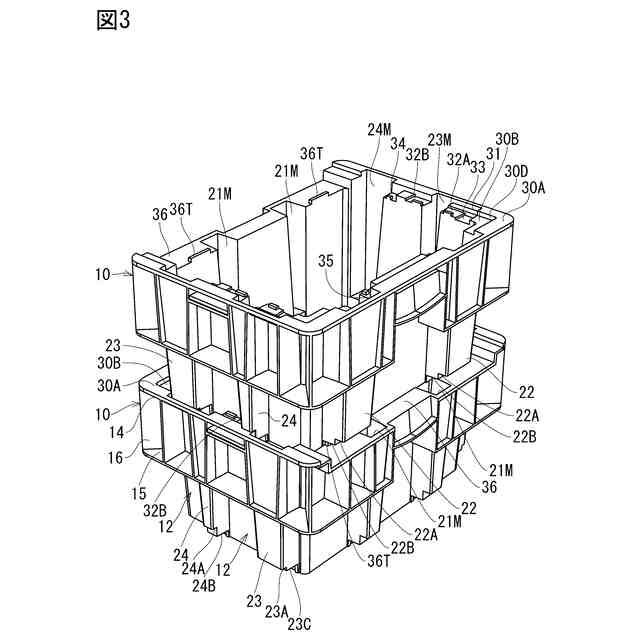
図3は、スタッキング状態にされた2つの第1の容器の斜視図
図4は、第1の容器の側断面図
図5は、第1の容器の下面側の斜視図
図6は、第1の容器の下面側の斜視図
図7は、第2の容器の上面側の斜視図
図8は、ネスティング状態にされた2つの第2の容器の斜視図
図9は、スタッキング状態にされた2つの第2の容器の斜視図
図10は、第2の容器の下面側の斜視図
図11は、第2の容器の下面側の斜視図
図12は、第2の容器上に第3の容器を積み上げた状態の斜視図
図13は、第3の容器の一部の下面側の斜視図
図14は、第1容器集合体上に第3の容器を積み上げた状態の斜視図
図15は、第1容器集合体の上面側の斜視図
図16は、第1容器集合体の下面側の斜視図
図17は、第1容器集合体上に第2の容器を積み上げた状態の斜視図
図18は、第1容器集合体上に第2の容器を積み上げた状態の平断面図
図19は、第2の容器上に第1容器集合体を積み上げた状態の斜視図
【発明を実施するための形態】
【0008】
以下、図1~図19を参照して、本開示の一実施形態に係る容器セットについて説明する。本実施形態の容器セットには、少なくとも2つの第1の容器10(図1参照)と、1つの第2の容器40(図7参照)と、1つの第3の容器70(図12参照)とが含まれる。第1の容器10の平面形状は長方形をなし、第2及び第3の容器40,70の平面形状は、第1の容器10の平面形状である長方形の短辺を略2倍にした長方形になっている。
【0009】
図1に示される第1の容器10は、一般にS/Nコンテナと呼ばれているものであり、段積みする向きにより、後述するネスティング状態(図2参照)かスタッキング状態(図3参照)かを選択可能になっている。そのために、第1の容器10は、その平面形状である長方形の1対の長辺側の側壁11(以下、「長側壁11」という)と、1対の短辺側の側壁12(以下、「短側壁12」という)とのそれぞれの一部を上下方向に延びる角溝状に屈曲させて、外側に突出する複数の脚部21~24を備え、それらの内側部分が、複数の縦溝21M~24Mになっている。また、第1の容器10は、1対の短側壁12の間の中心面である架空の短辺中心面に対して面対称でかつ非回転対称な構造になるように上記複数の脚部21~24が配置されている。
【0010】
具体的には、1対の短側壁12のそれぞれには、脚部23とそれより幅が狭い脚部24とが形成され、各短側壁12の脚部23は、一方の長側壁11側の端部に配置され、脚部24は、他方の長側壁11側の端部寄り位置に配置されている。また、その一方の長側壁11には、1対の脚部21が形成され、他方の長側壁11には、1対の脚部22が形成されている。1対の脚部21の間隔は、1対の脚部22の間隔より狭く、各脚部21の幅は、各脚部22の幅より小さくなっている。また、各脚部21~24は、下方に向かうに従って幅が徐々に狭くなっている。
(【0011】以降は省略されています)
この特許をJ-PlatPat(特許庁公式サイト)で参照する
関連特許
三甲株式会社
容器
1か月前
三甲株式会社
容器
3日前
三甲株式会社
容器
10日前
三甲株式会社
容器
3か月前
三甲株式会社
容器
1か月前
三甲株式会社
容器
3か月前
三甲株式会社
容器
3か月前
三甲株式会社
容器
2か月前
三甲株式会社
容器
1か月前
三甲株式会社
運搬具
19日前
三甲株式会社
運搬具
1か月前
三甲株式会社
緩衝材
1か月前
三甲株式会社
容器セット
3日前
三甲株式会社
蓋付き容器
2か月前
三甲株式会社
物品支持部材
1か月前
三甲株式会社
容器セットおよび容器
4日前
株式会社カインズ
容器
3日前
株式会社カインズ
容器
3日前
三甲株式会社
アタッチメント及びパレット
1か月前
三甲株式会社
容器
1か月前
三甲株式会社
容器
24日前
三甲株式会社
パレット
1か月前
三甲株式会社
パレット
3か月前
三甲株式会社
買い物カゴ
2か月前
個人
束ね具
27日前
個人
収容箱
4か月前
個人
コンベア
6か月前
個人
ゴミ収集器
8か月前
個人
段ボール箱
8か月前
個人
段ボール箱
8か月前
個人
容器
10か月前
個人
宅配システム
8か月前
個人
テープ引出機
27日前
個人
土嚢運搬器具
9か月前
個人
楽ちんハンド
6か月前
個人
角筒状構造体
6か月前
続きを見る
他の特許を見る