TOP
|
特許
|
意匠
|
商標
特許ウォッチ
Twitter
他の特許を見る
公開番号
2025159538
公報種別
公開特許公報(A)
公開日
2025-10-21
出願番号
2024062181
出願日
2024-04-08
発明の名称
現場用作業機
出願人
株式会社マキタ
代理人
名古屋国際弁理士法人
主分類
B25F
5/00 20060101AFI20251014BHJP(手工具;可搬型動力工具;手工具用の柄;作業場設備;マニプレータ)
要約
【課題】内部において、制御部を表示部へ電気的に接続することが容易な現場用作業機を提供する。
【解決手段】本開示の1つの局面の現場用作業機は、表示部と、フレキシブル基板と、制御部と、を備える。表示部は、現場用作業機において外部から視認可能な位置に配置された、少なくとも一つの面発光体を有し、現場用作業機の状態を表示する。フレキシブル基板は、少なくとも一つの面発光体に電気的に接続された配線を含む。フレキシブル基板上には、少なくとも一つの面発光体が配置されている。制御部は、配線を経由して、表示部に電気的に接続される。
【選択図】図6
特許請求の範囲
【請求項1】
現場用作業機において外部から視認可能な位置に配置された表示部であって、少なくとも一つの面発光体を有し、前記現場用作業機の状態を表示するように構成された表示部と、
前記少なくとも一つの面発光体に電気的に接続された配線を含むフレキシブル基板であって、前記フレキシブル基板上に前記少なくとも一つの面発光体が配置されている、フレキシブル基板と、
前記配線を経由して、前記表示部に電気的に接続された制御部と、を備える、
現場用作業機。
続きを表示(約 580 文字)
【請求項2】
前記制御部は、前記少なくとも一つの面発光体の点灯及び消灯を制御するように構成されている、
請求項1に記載の現場用作業機。
【請求項3】
前記少なくとも一つの面発光体は、有機エレクトロルミネッセンスである、
請求項1又は2に記載の現場用作業機。
【請求項4】
前記少なくとも一つの面発光体は、単色発光するように構成されている、
請求項1~3のいずれか1項に記載の現場用作業機。
【請求項5】
前記少なくとも一つの面発光体は、第1の単色で発光するように構成された第1面発光体と、前記第1の単色と異なる第2の単色で発光するように構成された第2面発光体と、を含む、
請求項4に記載の現場用作業機。
【請求項6】
前記フレキシブル基板は、
第1端部と、
前記第1端部と対向する第2端部と、
前記配線に接続されており、且つ、前記制御部に接続されるように構成された接続部と、を備え、
前記少なくとも一つの面発光体は、前記フレキシブル基板上において前記第1端部側に配置されており、
前記接続部は、前記フレキシブル基板上において前記第2端部側に配置されている、
請求項1~5のいずれか1項に記載の現場用作業機。
発明の詳細な説明
【技術分野】
【0001】
本開示は、表示部を備えた現場用作業機に関する。
続きを表示(約 1,500 文字)
【背景技術】
【0002】
特許文献1に記載の動力工具は、表示ディスプレイとして有機エレクトロルミネッセンス(EL)を用いる表示部を備えている。表示ディスプレイは、コントローラの電源回路からリード線を介して電源の供給を受けている。
【先行技術文献】
【特許文献】
【0003】
特開2018-8356号公報
【発明の概要】
【発明が解決しようとする課題】
【0004】
上記工具では、工具の外面に配置された表示ディスプレイから、工具の内部に配置されたコントローラへリード線を接続する必要があるが、工具内の狭い隙間をリード線で引き回すことは困難である。
【0005】
本開示の1つの局面は、内部において、制御部を表示部へ電気的に接続することが容易な現場用作業機を提供する。
【課題を解決するための手段】
【0006】
本開示の1つの局面の現場用作業機は、表示部と、フレキシブル基板と、制御部と、を備える。表示部は、現場用作業機において外部から視認可能な位置に配置された表示部であって、少なくとも一つの面発光体を有し、現場用作業機の状態を表示する。フレキシブル基板は、少なくとも一つの面発光体に電気的に接続された配線を含む。フレキシブル基板上には、少なくとも一つの面発光体が配置されている。制御部は、配線を経由して、表示部に電気的に接続される。
【0007】
本開示の現場用作業機によれば、フレキシブル基板に含まれる配線を経由して、表示部に電気的に制御部が接続される。フレキシブル基板は、薄く柔軟性があり、電気的特性を維持したまま曲げることが容易である。したがって、現場用作業機の内部で、表示部に制御部を容易に電気的に接続することができる。
【図面の簡単な説明】
【0008】
本実施形態に係る現場用作業機の外観を示す図である。
本実施形態に係る現場用作業機の電気的構成を示す図である。
本実施形態に係る現場用作業機の表示部の上面を示す図である。
本実施形態に係る現場用作業機の表示部の鉛直断面を示す図である。
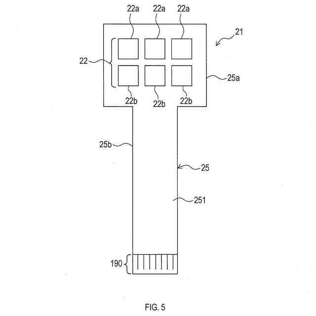
本実施形態に係る現場用作業機の表示部のフレキシブル基板及び有機ELを示す図である。
本実施形態に係る現場用作業機の表示部の配線を示す図である。
本実施形態に係る現場用作業機の表示部とコントローラとの接続を示す図である。
【発明を実施するための形態】
【0009】
[実施形態の総括]
ある実施形態は、以下の特徴1~5のうちの少なくとも一つを備えている現場用作業機を提供してもよい。
・特徴1:現場用作業機において外部から視認可能な位置に配置された表示部。
・特徴2:表示部は、少なくとも一つの面発光体を有し、現場用作業機の状態を表示する。
・特徴3:少なくとも一つの面発光体に電気的に接続された配線を含むフレキシブル基板。
・特徴4:フレキシブル基板上に少なくとも一つの面発光体が配置されている。
・特徴5:配線を経由して、表示部に電気的に接続された制御部。
【0010】
少なくとも特徴1~5を備えている現場用作業機によれば、フレキシブル基板に含まれる配線を経由して、表示部に電気的に制御部が接続される。フレキシブル基板は、薄く柔軟性があり、電気的特性を維持したまま曲げることが容易である。したがって、現場用作業機の内部で、表示部に制御部を容易に電気的に接続することができる。
(【0011】以降は省略されています)
特許ウォッチbot のツイートを見る
この特許をJ-PlatPat(特許庁公式サイト)で参照する
関連特許
株式会社マキタ
往復動工具、及び、往復動工具における電動モータの通電を保持する方法
2日前
個人
手持ち挟持具
1か月前
CKD株式会社
把持装置
2日前
トヨタ自動車株式会社
学習装置
17日前
ダイセイ株式会社
ロボット自動刻印装置
2日前
株式会社マキタ
ハンマドリル
1か月前
株式会社マキタ
ハンマドリル
1か月前
瓜生製作株式会社
電動締付工具
10日前
株式会社安川電機
ロボット
1か月前
株式会社マキタ
集塵アタッチメント
9日前
株式会社三共コーポレーション
工具保持具
1か月前
株式会社不二越
垂直多関節ロボット
17日前
トヨタ自動車株式会社
ロボットハンド
1か月前
株式会社マキタ
現場用作業機
1か月前
株式会社マキタ
作業機
1か月前
株式会社マキタ
電動工具
17日前
ニデックインスツルメンツ株式会社
産業用ロボット
1か月前
NTN株式会社
把持装置
2日前
国立大学法人東京科学大学
多自由度入力装置用制御装置
9日前
株式会社ケイズベルテック
物品定量取り分け装置
1か月前
株式会社田村製作所
エンドエフェクタ及びロボット装置
1か月前
株式会社人機一体
有脚ロボット
1か月前
ファナック株式会社
経路データセット生成
1か月前
ダイハツ工業株式会社
ロボット制御システム
2日前
積水ハウス株式会社
固定ピン保持用アタッチメント
1か月前
日本発條株式会社
ケーブルユニット及びその製造方法
1か月前
株式会社デンソー
ワーク投入装置
1か月前
泰芳機械股分有限公司
コレット収納装置
1か月前
株式会社秦製作所
ジャック差込口ナット締め用の供回り防止レンチ
18日前
パナソニック株式会社
インパクト工具
2日前
国立大学法人 東京大学
ロボット及びロボットの投入方法
9日前
トヨタ自動車株式会社
ロボットの保護カバーの挟み込み防止構造
1か月前
工機ホールディングス株式会社
作業機
1か月前
SMC株式会社
チャック装置およびチャックシステム
1か月前
パナソニック株式会社
インパクト回転工具
17日前
マクセルイズミ株式会社
電動工具
1か月前
続きを見る
他の特許を見る