TOP
|
特許
|
意匠
|
商標
特許ウォッチ
Twitter
他の特許を見る
10個以上の画像は省略されています。
公開番号
2025152807
公報種別
公開特許公報(A)
公開日
2025-10-10
出願番号
2024054905
出願日
2024-03-28
発明の名称
フレア形成装置及びフレア形成工具
出願人
株式会社マキタ
代理人
弁理士法人勇智国際特許事務所
主分類
B21D
41/02 20060101AFI20251002BHJP(本質的には材料の除去が行なわれない機械的金属加工;金属の打抜き)
要約
【課題】フレア形成装置におけるクラッチ機構に関する改善を提供する。
【解決手段】フレア形成装置のクラッチ機構は、ハウジングに収容され、固定クラッチ部材、可動クラッチ部材、押圧バネを含む。メインシャフトの第1係合部及び可動クラッチ部材の第2係合部は、送りネジ機構を構成する。可動クラッチ部材は、押圧バネの付勢力でカム面に押し付けられ、固定クラッチ部材に対して実質的に回転不能に保持される第1位置と、カム面から離間し、固定クラッチ部材に対して回転可能な第2位置との間で、固定クラッチ部材に対して前後方向に移動可能である。可動クラッチ部材は、第2位置において、メインシャフトが前方へ移動されるときの回転方向である第1方向には固定クラッチ部材に対して自由に回転可能、且つ、メインシャフトが後方へ移動されるときの回転方向である第2方向の回転は制限されるように構成されている。
【選択図】 図3
特許請求の範囲
【請求項1】
フレア形成装置であって、
ハウジングと、
前記フレア形成装置の前後方向を規定する第1の軸周りに回転可能、且つ、前記第1の軸に沿って前記前後方向に移動可能に前記ハウジングに収容され、第1係合部を有するメインシャフトと、
前記メインシャフトの前端部に、前記第1の軸に対して偏心した第2の軸周りに回転可能に支持され、パイプの端部にフレアを形成するように構成されたコーンと、
前記ハウジングに収容されたクラッチ機構とを備え、
前記クラッチ機構は、
カム面を有し、前記ハウジングに対して実質的に移動不能に前記メインシャフトの周囲に配置された固定クラッチ部材と、
前記固定クラッチ部材の後方で、前記メインシャフトの周囲に配置され、前記メインシャフトの前記第1係合部に直接的又は間接的に係合する第2係合部を有する可動クラッチ部材と、
前記可動クラッチ部材を前方へ付勢するように構成された押圧バネとを含み、
前記メインシャフトの前記第1係合部及び前記可動クラッチ部材の前記第2係合部は、前記メインシャフトと前記可動クラッチ部材とを前記前後方向に相対的に移動させる送りネジ機構を構成し、
前記可動クラッチ部材は、(i)前記押圧バネの付勢力で前記カム面に押し付けられ、前記固定クラッチ部材に対して実質的に回転不能に保持される第1位置と、(ii)前記カム面から離間し、前記固定クラッチ部材に対して回転可能な第2位置との間で、前記固定クラッチ部材に対して前記前後方向に移動可能であって、
前記可動クラッチ部材は、前記第2位置において、(i)前記メインシャフトが前方へ移動されるときの回転方向である第1方向には前記固定クラッチ部材に対して自由に回転可能、且つ、(ii)前記メインシャフトが後方へ移動されるときの回転方向である第2方向の回転は制限されるように構成されていることを特徴とするフレア形成装置。
続きを表示(約 1,400 文字)
【請求項2】
請求項1に記載のフレア形成装置であって、
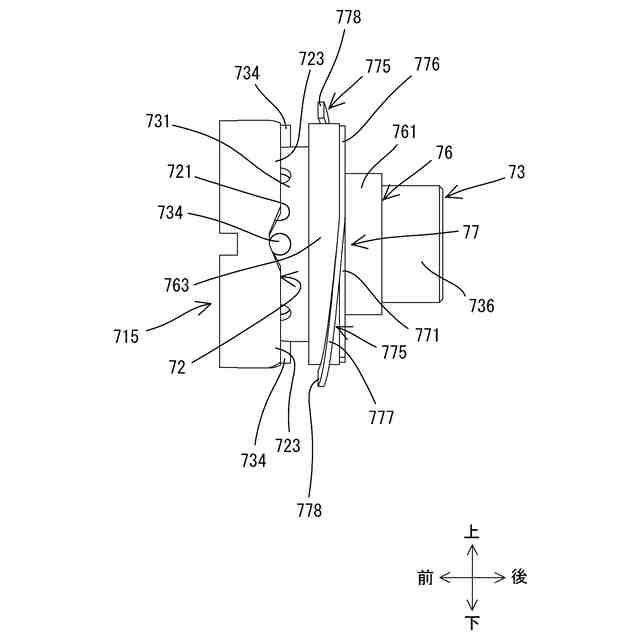
前記クラッチ機構は、前記可動クラッチ部材とは別個に形成された回転ストッパを含み、
前記回転ストッパは、(i)前記可動クラッチ部材の前記第1方向の回転を許容し、(ii)前記第2方向の回転を制限するように構成されていることを特徴とするフレア形成装置。
【請求項3】
請求項2に記載のフレア形成装置であって、
前記回転ストッパは、少なくとも部分的に弾性変形可能な部材であって、
前記回転ストッパは、(i)弾性変形によって前記可動クラッチ部材の前記第1方向の回転を許容し、(ii)前記ハウジングに対して回転不能に係止されることで、前記可動クラッチ部材の前記第2方向の回転を制限するように構成されていることを特徴とするフレア形成装置。
【請求項4】
請求項3に記載のフレア形成装置であって、
前記回転ストッパは、前記ハウジングに直接係止されることで、前記可動クラッチ部材の前記第2方向の回転を制限するように構成されていることを特徴とするフレア形成装置。
【請求項5】
請求項3又は4の何れか1つに記載のフレア形成装置であって、
前記回転ストッパは、平板状のバネ部材であることを特徴とするフレア形成装置。
【請求項6】
請求項3に従属する請求項5に記載のフレア形成装置であって、
前記回転ストッパは、前記第1の軸周りの周方向に延びる少なくとも1つのアーム部を有し、
前記少なくとも1つのアーム部は、(i)撓むことで前記可動クラッチ部材の前記第1方向の回転を許容し、(ii)前記少なくとも1つのアーム部の先端が前記ハウジングによって直接係止されることで、前記可動クラッチ部材の前記第2方向の回転を制限するように構成されていることを特徴とするフレア形成装置。
【請求項7】
請求項6に記載のフレア形成装置であって、
前記少なくとも1つのアーム部は、前記周方向に等間隔で配置された複数のアーム部を含むことを特徴とするフレア形成装置。
【請求項8】
請求項2~7の何れか1つに記載のフレア形成装置であって、
前記前後方向において、前記可動クラッチ部材と前記押圧バネとの間に配置されたスラストベアリングを更に備え、
前記回転ストッパの一部は、前記スラストベアリングと前記可動クラッチ部材との間に配置されていることを特徴とするフレア形成装置。
【請求項9】
請求項1~8の何れか1つに記載のフレア形成装置であって、
前記フレア形成装置は、最終出力シャフトを回転駆動するように構成された電動工具に選択的に取り付け可能なアタッチメントとして構成されていることを特徴とするフレア形成装置。
【請求項10】
電動式のフレア形成工具であって、
工具ハウジングと、
前記工具ハウジングに収容された請求項1~8の何れか1つに記載のフレア形成装置と、
前記工具ハウジングに収容され、前記フレア形成装置の前記メインシャフトに動作可能に連結され、前記メインシャフトを回転するように構成されたモータとを備えたフレア形成工具。
発明の詳細な説明
【技術分野】
【0001】
本開示は、フレア形成装置、及び、フレア形成装置を備えたフレア形成工具に関する。
続きを表示(約 2,000 文字)
【背景技術】
【0002】
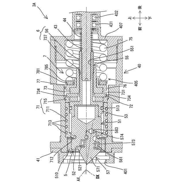
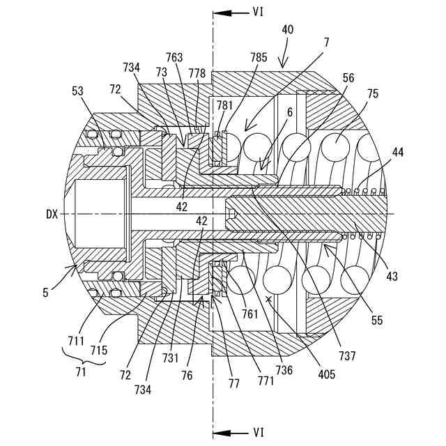
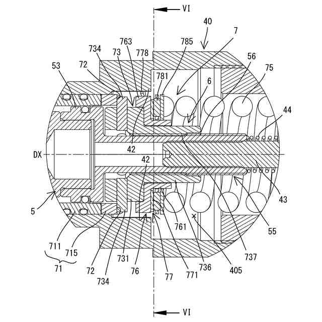
パイプ(チューブ)の端部にフレア(円錐形に拡張された部分)を形成するためのフレア形成装置が知られている。一般的なフレア形成装置は、駆動軸周りに回転しながら駆動軸に沿って前後方向に移動可能なメインシャフトと、メインシャフトの前端部に、駆動軸に対して偏心した軸周りに回転可能に支持されたコーンとを備えている。メインシャフトが初期位置から回転しながら前方へ移動するのに伴って、コーンがパイプの端部を徐々に押し広げることで、フレアを形成する。フレアの形成後に、メインシャフトは初期位置まで後方に移動する。
【0003】
例えば、特許文献1に開示されているフレア形成装置は、ホルダ内に収容され、メインシャフトと螺合するクラッチフランジを備えている。クラッチフランジのクラッチピン受け部が、付勢バネによって後方に付勢されたクラッチピンに係止されるときには、ホルダに対するクラッチフランジの回転が阻害される。このため、メインシャフトは、送りネジの作用で、ホルダ及びクラッチフランジに対して前後方向に移動される。
【先行技術文献】
【特許文献】
【0004】
特開2023-081043号公報
【発明の概要】
【発明が解決しようとする課題】
【0005】
上述のフレア形成装置では、筒状のホルダの側部に開口が形成されており、この開口内に、クラッチフランジのクラッチピン受け部と、クラッチピンと、付勢バネとが配置されている。このような構成では、ホルダの内部に配置された潤滑剤(例えば、グリス)が開口から漏出する可能性がある。また、ホルダにクラッチピンと付勢バネを保持させる必要があるため、部品数の増加や構造の複雑化というデメリットがある。
【0006】
本開示は、フレア形成装置におけるクラッチ機構に関する改善を提供することを、非限定的な1つの目的とする。
【課題を解決するための手段】
【0007】
本開示の非限定的な1つの態様によれば、ハウジングと、メインシャフトと、コーンと、クラッチ機構とを備えたフレア形成装置が提供される。メインシャフトは、フレア形成装置の前後方向を規定する第1の軸周りに回転可能、且つ、第1の軸に沿って前後方向に移動可能にハウジングに収容されている。メインシャフトは、第1係合部を有する。コーンは、メインシャフトの前端部に、第1の軸に対して偏心した第2の軸周りに回転可能に支持され、パイプの端部にフレアを形成するように構成されている。クラッチ機構は、ハウジングに収容されている。
【0008】
クラッチ機構は、固定クラッチ部材と、可動クラッチ部材と、押圧バネとを含む。固定クラッチ部材は、カム面を有する。固定クラッチ部材は、ハウジングに対して実質的に移動不能にメインシャフトの周囲に配置されている。可動クラッチ部材は、固定クラッチ部材の後方で、メインシャフトの周囲に配置されている。可動クラッチ部材は、メインシャフトの第1係合部に直接的又は間接的に係合する第2係合部を有する。押圧バネは、可動クラッチ部材を前方へ付勢するように構成されている。
【0009】
メインシャフトの第1係合部及び可動クラッチ部材の第2係合部は、メインシャフトと可動クラッチ部材とを前後方向に相対的に移動させる送りネジ機構を構成する。なお、送りネジ機構は、例えば、雄ネジ部として構成された第1係合部と、雄ネジ部と螺合する(直接係合する)雌ネジ部として構成された第2係合部とを含んでもよい。あるいは、送りネジ機構は、第1の螺旋溝を有する第1係合部と、第2の螺旋溝を有する第2係合部とが、第1の螺旋溝と第2の螺旋溝とによって規定される軌道内に転動可能に配置された複数のボールを介して係合するように構成されたボールネジ機構であってもよい。
【0010】
可動クラッチ部材は、(i)押圧バネの付勢力でカム面に押し付けられ、固定クラッチ部材に対して実質的に回転不能に保持される第1位置と、(ii)カム面から離間し、固定クラッチ部材に対して回転可能な第2位置との間で、固定クラッチ部材に対して前後方向に移動可能である。また、可動クラッチ部材は、第2位置において、(i)メインシャフトが前方へ移動されるときの回転方向である第1方向には固定クラッチ部材に対して自由に回転可能、且つ、(ii)メインシャフトが後方へ移動されるときの回転方向である第2方向の回転は制限されるように構成されている。なお、本態様でいう「制限」には、可動クラッチ部材の第2方向の回転が完全に禁止されることのみならず、ある程度の回転は許容され、それ以上の回転は禁止されることも含まれる。
(【0011】以降は省略されています)
この特許をJ-PlatPat(特許庁公式サイト)で参照する
関連特許
株式会社マキタ
作業機
1か月前
株式会社マキタ
電動工具
2か月前
株式会社マキタ
電動工具
10日前
株式会社マキタ
鉄筋結束機
1か月前
株式会社マキタ
電動作業機
1か月前
株式会社マキタ
ハンマドリル
1か月前
株式会社マキタ
ハンマドリル
1か月前
株式会社マキタ
現場用作業機
1か月前
株式会社マキタ
回転打撃工具
1か月前
株式会社マキタ
インパクト工具
1か月前
株式会社マキタ
ダイグラインダ
1か月前
株式会社マキタ
集塵アタッチメント
2日前
株式会社マキタ
スクラバードライヤー
10日前
株式会社マキタ
充電器及び充電システム
1か月前
株式会社マキタ
フレア形成装置及びフレア形成工具
1か月前
株式会社マキタ
インパクト工具及びインパクトレンチ
1か月前
株式会社マキタ
現場用機器における光学表示器の内部に回路基板を固定する技術
1か月前
個人
棒鋼連続引抜装置
8か月前
個人
鋼線の連続伸線方法
16日前
個人
ヘッダー加工機
5か月前
株式会社オプトン
曲げ加工装置
8か月前
日伸工業株式会社
プレス加工装置
5か月前
日東精工株式会社
中空軸部品の製造方法
5か月前
株式会社不二越
NC転造盤
4か月前
株式会社不二越
NC転造盤
8か月前
オムロン株式会社
導線折り曲げ治具
3か月前
株式会社西田製作所
パンチャーヘッド
6か月前
株式会社アマダ
曲げ金型
3か月前
トヨタ紡織株式会社
プレス金型
7か月前
工機ホールディングス株式会社
ニブラ
6か月前
東栄工業株式会社
ダブルデッキヘミング金型
5か月前
トヨタ紡織株式会社
プレス装置
6か月前
トヨタ紡織株式会社
プレス金型
2か月前
トヨタ紡織株式会社
プレス金型
5か月前
日産自動車株式会社
逐次成形方法
9か月前
株式会社トラバース
パンチング加工装置
7か月前
続きを見る
他の特許を見る