TOP
|
特許
|
意匠
|
商標
特許ウォッチ
Twitter
他の特許を見る
10個以上の画像は省略されています。
公開番号
2025125918
公報種別
公開特許公報(A)
公開日
2025-08-28
出願番号
2024022189
出願日
2024-02-16
発明の名称
導線折り曲げ治具
出願人
オムロン株式会社
代理人
個人
主分類
B21F
1/00 20060101AFI20250821BHJP(本質的には材料の除去が行なわれない機械的金属加工;金属の打抜き)
要約
【課題】2か所で折り曲げられた形状の導線を手作業で効率よく生成することが可能な導線折り曲げ治具を提供する。
【解決手段】本体(2)は、本体側第1面(21)に設けられる第1折り曲げ部(22)と、深さが所定の第1長さとなる孔部(24)と、本体側第1面(21)面において、第1折り曲げ部(22)から所定の第2長さの距離となる位置の第2折り曲げ部(23)と、を備え、蓋体側第2面(32)は、蓋体側第1面(31)が対向位置に配置された状態において、第2折り曲げ部(23)よりも外側において、本体側第1面(21)から本体側となる方向に延伸している。
【選択図】図1
特許請求の範囲
【請求項1】
導線を折り曲げる導線折り曲げ治具であって、
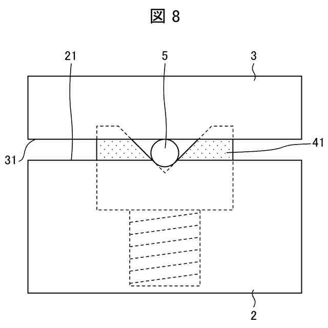
本体側第1面を有する本体と、
前記本体側第1面に対して所定の間隔離れた位置に対向可能な蓋体側第1面、および、該蓋体側第1面に対して所定の角度をなした蓋体側第2面を有する蓋体と、を備え、
前記本体は、
前記本体側第1面の所定の位置に設けられ、前記導線の一方の端部を前記本体の内部において保持する導線端部保持部と、
前記本体側第1面を含む面上の前記所定の位置に設けられた第1折り曲げ部と、
前記本体側第1面を含む面上の前記第1折り曲げ部から所定の距離離れた位置に設けられた第2折り曲げ部と、を備え、
前記蓋体側第1面が前記本体側第1面と対向した状態において、前記蓋体側第2面が前記第2折り曲げ部と所定の間隔離れている、導線折り曲げ治具。
続きを表示(約 1,000 文字)
【請求項2】
前記本体側第1面および前記蓋体側第2面は平面であり、
前記蓋体側第1面と前記蓋体側第2面とがなす角度が略90度であり、
前記導線端部保持部と前記第1折り曲げ部とを結ぶ直線と、前記本体側第1面を含む面とがなす角度が略90度である、請求項1に記載の導線折り曲げ治具。
【請求項3】
前記本体は、
前記第2折り曲げ部が形成されている箇所において、平面形状であって前記本体側第1面を含む面からの高さが前記導線端部保持部の前記本体側第1面を含む面までの深さと等しい本体側側面をさらに備える、請求項1に記載の導線折り曲げ治具。
【請求項4】
前記本体は、前記第1折り曲げ部と前記第2折り曲げ部との間の位置に、前記第1折り曲げ部と前記第2折り曲げ部とを結ぶ方向に沿った溝部を有する、請求項1に記載の導線折り曲げ治具。
【請求項5】
前記溝部は、前記第1折り曲げ部から前記第2折り曲げ部まで延伸する、請求項4に記載の導線折り曲げ治具。
【請求項6】
前記溝部は、前記本体側第1面に垂直な方向に移動可能な溝部敷設部材に設けられており、該溝部敷設部材は、当該溝部敷設部材を、前記本体側第1面を含む面から突出する方向に付勢する付勢部材を備える、請求項4に記載の導線折り曲げ治具。
【請求項7】
前記導線端部保持部は、孔部であり、
前記孔部の底面近傍の内径が前記導線の外径と同程度であり、
前記間隔が前記導線の外径と同程度である、請求項1に記載の導線折り曲げ治具。
【請求項8】
前記蓋体側第1面が前記本体側第1面と対向した状態において、前記蓋体側第2面の延伸方向の端部から突出している前記導線を切断する切断部材を備える、請求項1に記載の導線折り曲げ治具。
【請求項9】
前記切断部材は、前記第2折り曲げ部からの距離が前記導線端部保持部の前記本体側第1面を含む面からの深さと等しくなる位置で、前記導線を切断する、請求項8に記載の導線折り曲げ治具。
【請求項10】
前記導線端部保持部および前記第1折り曲げ部は、前記第1折り曲げ部と前記第2折り曲げ部とを結ぶ方向に移動可能な本体可動部に設けられている、請求項1に記載の導線折り曲げ治具。
発明の詳細な説明
【技術分野】
【0001】
本発明は、例えばジャンパー線などを作成するための導線折り曲げ治具に関する。
続きを表示(約 1,600 文字)
【背景技術】
【0002】
従来、ジャンパー線を作成するには、作業者は、導線をニッパーなどで切断した後に左右の先端をペンチによって目安で曲げていた。
【0003】
また、特許文献1には、板状で長手方向中央部から折れ曲がる蝶つがい部を有し、長手方向側面に折れ曲がる点を中心に、左右同一寸法で数か所に溝を設けた2板のブロックと、前記ブロックの一部分より2板のブロックを定角度に曲げた時に固定するための固定金具とを含むリード線折り曲げ治具が開示されている。
【先行技術文献】
【特許文献】
【0004】
実開昭63-114100号公報
【発明の概要】
【発明が解決しようとする課題】
【0005】
作業者がニッパーやペンチなどで手作業でジャンパー線を作成する場合、作業者によって切断する長さ、曲げる長さ、方向、角度にばらつきが生じる。よって、ジャンパー線を配線基板などに取り付ける際に、適切に取り付けることができないなどの不具合が発生することがある。
【0006】
また、特許文献1に開示された治具を利用したとしても、リード線を折り曲げた後の端部の切断は作業者の目安で切断されるため、リード線の折り曲げ端部の長さにばらつきが生じる。また、特許文献1に開示された治具では、リード線の2つの端部の折り曲げの方向が異なった状態となる可能性があり、所望の形状に成形することが困難である。
【0007】
本発明の一態様は、2か所で折り曲げられた形状の導線を手作業で効率よく生成することが可能な導線折り曲げ治具を提供することを目的とする。
【課題を解決するための手段】
【0008】
上記の課題を解決するために、本発明に係る導線折り曲げ治具は、導線を折り曲げる導線折り曲げ治具であって、本体側第1面を有する本体と、前記本体側第1面に対して所定の間隔離れた位置に対向可能な蓋体側第1面、および、該蓋体側第1面に対して所定の角度をなした蓋体側第2面を有する蓋体と、を備え、前記本体は、前記本体側第1面の所定の位置に設けられ、前記導線の一方の端部を前記本体の内部において保持する導線端部保持部と、前記本体側第1面を含む面上の前記所定の位置に設けられた第1折り曲げ部と、前記本体側第1面を含む面上の前記第1折り曲げ部から所定の距離離れた位置に設けられた第2折り曲げ部と、を備え、前記蓋体側第1面が前記本体側第1面と対向した状態において、前記蓋体側第2面が前記第2折り曲げ部と所定の間隔離れている構成である。
【0009】
上記の構成において、導線端部保持部によって端部が保持された導線は、まずユーザによって本体の第1折り曲げ部で折り曲げられる。その後、蓋体が対向位置に配置されることにより、導線は蓋体側第1面および蓋体側第2面に押されて第2折り曲げ部で折り曲げられる。すなわち、上記の構成によれば、導線を、該導線の一方の端部から第1長さとなる位置、および、該第1長さの位置から第2長さとなる位置の2か所で所定の方向および所定の角度で折り曲げることができる。よって、ジャンパー線などの2か所で折り曲げられた形状の導線を手作業で効率よく生成することが可能な導線折り曲げ治具を提供することができる。
【0010】
また、本発明に係る導線折り曲げ治具は、上記の構成において、前記本体側第1面および前記蓋体側第2面は平面であり、前記蓋体側第1面と前記蓋体側第2面とがなす角度が略90度であり、前記導線端部保持部と前記第1折り曲げ部とを結ぶ直線と、前記本体側第1面を含む面とがなす角度が略90度である構成としてもよい。
(【0011】以降は省略されています)
この特許をJ-PlatPat(特許庁公式サイト)で参照する
関連特許
オムロン株式会社
電磁継電器
24日前
オムロン株式会社
発光エンブレム
16日前
オムロン株式会社
センサシステム
5日前
オムロン株式会社
サーボドライバ
16日前
オムロン株式会社
センサシステム
5日前
オムロン株式会社
センサシステム
5日前
オムロン株式会社
システム及び方法
5日前
オムロン株式会社
システム及び方法
5日前
オムロン株式会社
パワーコンディショナ
26日前
オムロン株式会社
電力システム及び制御装置
26日前
オムロン株式会社
保護継電器及び電力制御装置
1か月前
オムロン株式会社
電力供給システム及び電力制御装置
1か月前
オムロン株式会社
監視装置、監視方法及びプログラム
9日前
オムロン株式会社
情報処理システムおよび情報処理方法
23日前
オムロン株式会社
制御装置、制御方法、及び制御プログラム
23日前
オムロン株式会社
監視システム、警報方法、及びプログラム
1か月前
オムロン株式会社
画像処理装置、画像処理方法及びプログラム
23日前
オムロン株式会社
処理装置、処理方法、および処理プログラム
19日前
オムロン株式会社
処理装置、処理方法、および処理プログラム
19日前
オムロン株式会社
管理システム、管理方法及び管理プログラム
9日前
オムロン株式会社
モデル生成方法、推論プログラム及び推論装置
16日前
オムロン株式会社
監視システム、点灯制御方法、及びプログラム
1か月前
オムロン株式会社
開閉装置、及び開閉装置を備える蓄電池システム
1か月前
オムロン株式会社
制御装置、情報処理方法および情報処理プログラム
23日前
オムロン株式会社
感震センサおよび地震検知方法、地震検知プログラム
11日前
オムロン株式会社
情報処理装置、情報処理方法及び情報処理プログラム
5日前
オムロン株式会社
感震センサおよび地震検知方法、地震検知プログラム
5日前
オムロン株式会社
情報処理装置、情報処理方法及び情報処理プログラム
5日前
オムロン株式会社
感震センサおよび地震検知方法、地震検知プログラム
6日前
オムロン株式会社
物体検出装置、物体検出方法、および制御プログラム
16日前
オムロン株式会社
感震センサおよび地震検知方法、地震検知プログラム
5日前
オムロン株式会社
感震センサおよび地震検知方法、地震検知プログラム
5日前
オムロン株式会社
オドメトリパラメータ較正装置、方法、及びプログラム
23日前
オムロン株式会社
表示制御装置、表示制御方法および表示制御プログラム
18日前
オムロン株式会社
走行制御装置、走行制御方法、及び走行制御プログラム
1か月前
オムロン株式会社
雨滴検出装置、雨滴検出方法および雨滴検出プログラム
1か月前
続きを見る
他の特許を見る