TOP
|
特許
|
意匠
|
商標
特許ウォッチ
Twitter
他の特許を見る
公開番号
2025140941
公報種別
公開特許公報(A)
公開日
2025-09-29
出願番号
2024040598
出願日
2024-03-15
発明の名称
スレーブ装置
出願人
オムロン株式会社
代理人
個人
主分類
G05B
19/05 20060101AFI20250919BHJP(制御;調整)
要約
【課題】高い応答性能をもった安全制御を、高い専門知識がなくとも、機器の配線とアプリケーションの選択を行うだけで行うことができるスレーブ装置を実現。
【解決手段】スレーブ装置(20)は、安全入力回路(25)と、安全出力回路(26)と、安全制御アプリケーションを複数記憶した記憶部(23)と、記憶部に記憶されたいずれかの安全制御アプリケーションを指定し得る安全制御アプリケーション指定部(24)と、制御部(21)と、を備える。制御部は、安全制御アプリケーション指定部により前記記憶部に記憶された安全制御アプリケーションが指定された場合に、記憶部から当該安全制御アプリケーションをロードして実行し、安全出力回路を動作させる。
【選択図】図2
特許請求の範囲
【請求項1】
安全制御のためのネットワークに接続し、マスタ装置と通信を行うスレーブ装置であって、
前記ネットワークを介した通信を行うための通信部と、
入力用デバイスからの入力信号を受信する入力用ポートを複数有する安全入力回路と、
出力用デバイスへの出力信号を出力する出力用ポートを複数有する安全出力回路と、
前記入力信号が示す入力情報に基づいて前記出力信号を決定するアルゴリズムを含む安全制御アプリケーションを複数記憶した記憶部と、
前記記憶部に記憶された複数の前記安全制御アプリケーションのうちのいずれかを指定し得る安全制御アプリケーション指定部と、
制御部と、を備え、
前記制御部は、
前記安全制御アプリケーション指定部により前記記憶部に記憶された安全制御アプリケーションが指定された場合に、前記記憶部から当該安全制御アプリケーションをロードして実行し、前記安全出力回路を動作させる、スレーブ装置。
続きを表示(約 930 文字)
【請求項2】
前記制御部は、
前記通信部を介して前記マスタ装置から、前記記憶部に記憶されたいずれかの前記安全制御アプリケーションを指定する旨の指示を受け取ると、
前記マスタ装置により指定された前記安全制御アプリケーションと、前記安全制御アプリケーション指定部により指定された前記安全制御アプリケーションとが一致しているか否かを判断し、
一致していない場合には、前記安全出力回路を制御して前記出力信号の出力を停止させる、請求項1に記載のスレーブ装置。
【請求項3】
前記制御部は、
前記安全制御アプリケーション指定部が前記記憶部に記憶されたいずれの前記安全制御アプリケーションも指定していない場合には、
前記入力情報を前記通信部を介して前記マスタ装置に送信するとともに、前記マスタ装置からの指示に従って、前記安全出力回路を動作させる、請求項1に記載のスレーブ装置。
【請求項4】
前記制御部は、
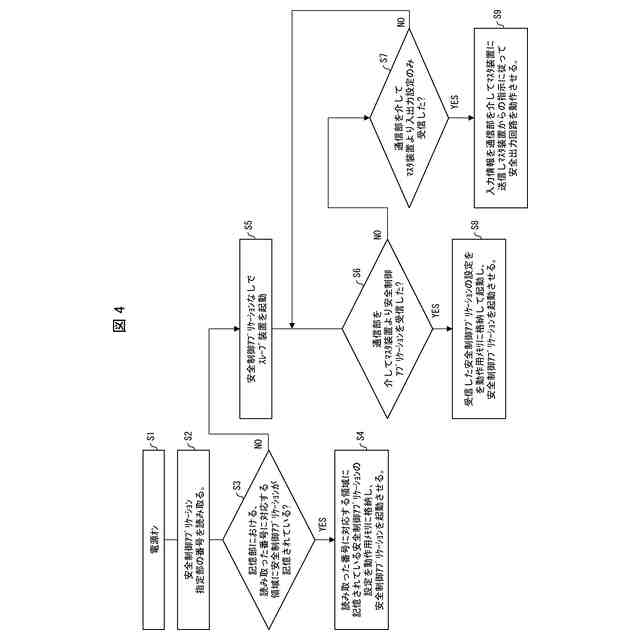
前記スレーブ装置が起動したときに、前記安全制御アプリケーション指定部が前記記憶部に記憶されたいずれの前記安全制御アプリケーションも指定していない場合には、
前記通信部を介して前記マスタ装置から受信した前記安全制御アプリケーションをロードして実行し、前記安全出力回路を動作させる、請求項1に記載のスレーブ装置。
【請求項5】
前記記憶部は、複数の前記安全制御アプリケーションを記憶する脱着可能な記憶媒体を含んで構成されている、請求項1から4のいずれか1項に記載のスレーブ装置。
【請求項6】
前記安全制御アプリケーション指定部は、機械スイッチから構成されている、請求項1から4のいずれか1項に記載のスレーブ装置。
【請求項7】
前記安全制御アプリケーション指定部は、当該スレーブ装置の動作モードを指定するように構成されている、請求項6に記載のスレーブ装置。
【請求項8】
前記スレーブ装置の各部が、結合可能な複数の筐体にまたがって配置されて構成されている、請求項1から4のいずれか1項に記載のスレーブ装置。
発明の詳細な説明
【技術分野】
【0001】
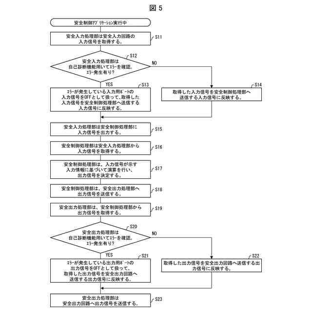
本発明は、スレーブ装置に関する。
続きを表示(約 1,600 文字)
【背景技術】
【0002】
ファクトリーオートメーション(Factory Automation:FA)の分野において安全制御を実現するための安全ネットワークシステムが知られている(例えば、特許文献1)。安全入出力装置は、安全に係わるデバイスとの間で信号の入出力を実行する、安全ネットワークシステムにおけるスレーブ装置である。スレーブ装置であるゆえ、安全入出力装置を使って安全制御を行う場合もマスタ装置である安全制御装置側で制御を行っている。
【先行技術文献】
【特許文献】
【0003】
特許第7292558号公報
【発明の概要】
【発明が解決しようとする課題】
【0004】
しかしながら、安全制御装置側での安全制御のための設定は、一般的に専用のPCソフトなどを使って行なうことが多く、システムを構築するまでに様々な工程が必要で、高い専門知識が必要になる。また、安全入出力装置は、安全制御装置からの制御をまって出力を制御するため、高い応答性能を得ることができない。
【0005】
本発明の一態様は、高い応答性能をもった安全制御を、高い専門知識がなくとも、機器の配線とアプリケーションの選択を行うだけで行うことができるスレーブ装置を実現することを目的とする。
【課題を解決するための手段】
【0006】
上記の課題を解決するために、本発明の一態様に係るスレーブ装置は、安全制御のためのネットワークに接続し、マスタ装置と通信を行うスレーブ装置であって、前記ネットワークを介した通信を行うための通信部と、入力用デバイスからの入力信号を受信する入力用ポートを複数有する安全入力回路と、出力用デバイスへの出力信号を出力する出力用ポートを複数有する安全出力回路と、前記入力信号が示す入力情報に基づいて前記出力信号を決定するアルゴリズムを含む安全制御アプリケーションを複数記憶した記憶部と、前記記憶部に記憶された複数の前記安全制御アプリケーションのうちのいずれかを指定し得る安全制御アプリケーション指定部と、制御部と、を備え、前記制御部は、前記安全制御アプリケーション指定部により前記記憶部に記憶された安全制御アプリケーションが指定された場合に、前記記憶部から当該安全制御アプリケーションをロードして実行し、前記安全出力回路を動作させる。
【0007】
上記構成によれば、高い応答性能をもった安全制御を、高い専門知識がなくとも、機器の配線とアプリケーションの選択を行うだけで実現できる。
【0008】
前記スレーブ装置において、前記制御部は、前記通信部を介して前記マスタ装置から、前記記憶部に記憶されたいずれかの前記安全制御アプリケーションを指定する旨の指示を受け取ると、前記マスタ装置により指定された前記安全制御アプリケーションと、前記安全制御アプリケーション指定部により指定された前記安全制御アプリケーションとが一致しているか否かを判断し、一致していない場合には、前記安全出力回路を制御して前記出力信号の出力を停止させてもよい。
【0009】
上記構成によれば、スレーブ装置による記憶部に記憶されている複数の安全制御アプリケーションを使用した安全制御動作が、マスタ装置による監視下で行われることとなり、安全性をより高めることができる。
【0010】
前記スレーブ装置において、前記制御部は、前記安全制御アプリケーション指定部が前記記憶部に記憶されたいずれの前記安全制御アプリケーションも指定していない場合には、前記入力情報を前記通信部を介して前記マスタ装置に送信するとともに、前記マスタ装置からの指示に従って、前記安全出力回路を動作させてもよい。
(【0011】以降は省略されています)
この特許をJ-PlatPat(特許庁公式サイト)で参照する
関連特許
オムロン株式会社
センサシステム
12日前
オムロン株式会社
センサシステム
12日前
オムロン株式会社
サーボドライバ
23日前
オムロン株式会社
センサシステム
12日前
オムロン株式会社
発光エンブレム
23日前
オムロン株式会社
システム及び方法
12日前
オムロン株式会社
システム及び方法
12日前
オムロン株式会社
監視装置、監視方法及びプログラム
16日前
オムロン株式会社
制御装置、制御方法、及び制御プログラム
1か月前
オムロン株式会社
管理システム、管理方法及び管理プログラム
16日前
オムロン株式会社
画像処理装置、画像処理方法及びプログラム
1か月前
オムロン株式会社
処理装置、処理方法、および処理プログラム
26日前
オムロン株式会社
処理装置、処理方法、および処理プログラム
26日前
オムロン株式会社
モデル生成方法、推論プログラム及び推論装置
23日前
オムロン株式会社
変換装置、変換方法、および、変換プログラム
2日前
オムロン株式会社
感震センサおよび地震検知方法、地震検知プログラム
18日前
オムロン株式会社
感震センサおよび地震検知方法、地震検知プログラム
13日前
オムロン株式会社
情報処理装置、情報処理方法及び情報処理プログラム
12日前
オムロン株式会社
物体検出装置、物体検出方法、および制御プログラム
23日前
オムロン株式会社
感震センサおよび地震検知方法、地震検知プログラム
12日前
オムロン株式会社
情報処理装置、情報処理方法及び情報処理プログラム
12日前
オムロン株式会社
感震センサおよび地震検知方法、地震検知プログラム
12日前
オムロン株式会社
感震センサおよび地震検知方法、地震検知プログラム
12日前
オムロン株式会社
表示制御装置、表示制御方法および表示制御プログラム
25日前
オムロン株式会社
オドメトリパラメータ較正装置、方法、及びプログラム
1か月前
オムロン株式会社
混雑制御システム、混雑制御方法及び混雑制御プログラム
13日前
オムロン株式会社
信頼度マップ作成方法、自己位置決定方法、装置、及びプログラム
1か月前
オムロン株式会社
分析支援装置、分析支援方法、分析支援プログラムおよび分析支援端末
1か月前
オムロン株式会社
旅客流動混雑予測装置、旅客流動混雑予測方法及び旅客流動混雑予測プログラム
16日前
オムロン株式会社
ロボット制御装置、代表物体情報生成装置、操作情報付与装置、方法、及びプログラム
1か月前
オムロン株式会社
制御装置、リーダライタ、および制御方法
12日前
個人
生産早送り装置
2か月前
株式会社豊田自動織機
産業車両
2か月前
株式会社カネカ
製造システム
2か月前
オムロン株式会社
スレーブ装置
1か月前
株式会社熊谷組
障害物の検出方法
1か月前
続きを見る
他の特許を見る