TOP
|
特許
|
意匠
|
商標
特許ウォッチ
Twitter
他の特許を見る
10個以上の画像は省略されています。
公開番号
2025161519
公報種別
公開特許公報(A)
公開日
2025-10-24
出願番号
2024064781
出願日
2024-04-12
発明の名称
監視装置、監視方法及びプログラム
出願人
オムロン株式会社
代理人
弁理士法人秀和特許事務所
主分類
H04N
7/18 20060101AFI20251017BHJP(電気通信技術)
要約
【課題】遠隔操作における安全性を確保する。
【解決手段】監視装置は、所定領域を撮像した撮像画像から人候補を検出する検出部と、前記人候補の検出が誤検出であるか否かを判定する判定部と、前記人候補の検出が誤検出ではない場合、遠隔操作可能な操作対象機器に対する遠隔操作を規制する制御部と、を備える。
【選択図】図1
特許請求の範囲
【請求項1】
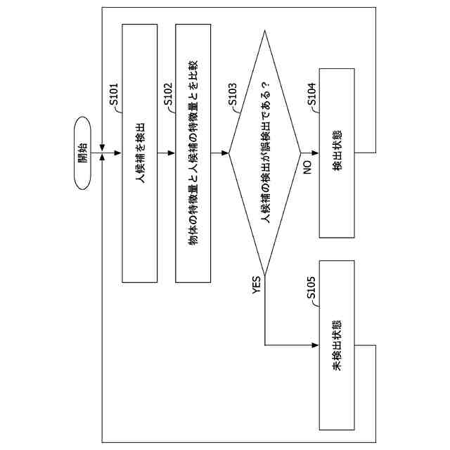
所定領域を撮像した撮像画像から人候補を検出する検出部と、
前記人候補の検出が誤検出であるか否かを判定する判定部と、
前記人候補の検出が誤検出ではない場合、遠隔操作可能な操作対象機器に対する遠隔操作を規制する制御部と、
を備える監視装置。
続きを表示(約 1,100 文字)
【請求項2】
前記所定領域内における人以外の物体の画像を保持する保持部を備え、
前記判定部は、前記物体の特徴量と、前記人候補の特徴量とに基づいて、前記人候補の検出が誤検出であるか否かを判定する、
請求項1に記載の監視装置。
【請求項3】
前記判定部は、前記物体の前記特徴量と、前記人候補の前記特徴量とに基づいて、前記物体と前記人候補との相違度を判定し、前記相違度に基づいて、前記人候補の検出が誤検出であるか否かを判定する、
請求項2に記載の監視装置。
【請求項4】
前記判定部は、前記人候補の検出が誤検出である場合、前記人候補の画像を前記物体の前記画像であると決定し、前記物体の前記画像を前記保持部に格納する、
請求項2に記載の監視装置。
【請求項5】
前記判定部は、前記物体の前記画像における前記物体を含む矩形領域と前記人候補の画像における前記人候補を含む矩形領域との重なり領域についての前記物体の前記特徴量と、前記重なり領域についての前記人候補の前記特徴量とに基づいて、前記人候補の検出が誤検出であるか否かを判定する、
請求項2に記載の監視装置。
【請求項6】
前記物体の前記特徴量は、前記物体の前記画像の画素値から計算された値又は前記物体の前記画像における前記物体を含む矩形領域の画素値から計算された値であり、
前記人候補の前記特徴量は、前記人候補の画像の画素値から計算された値又は前記人候補の前記画像における前記人候補を含む矩形領域の画素値から計算された値である、
請求項2に記載の監視装置。
【請求項7】
前記検出部は、予め設定された所定サイズ以下の前記人候補を除外して、前記撮像画像から前記人候補を検出する、
請求項1に記載の監視装置。
【請求項8】
前記検出部は、前記撮像画像における予め設定された所定範囲内の前記人候補を除外して、前記撮像画像から前記人候補を検出する、
請求項1に記載の監視装置。
【請求項9】
前記検出部は、可視光カメラ、TOFカメラ及びサーマルカメラのうちの少なくとも一つによって撮像された前記撮像画像から前記人候補を検出する、
請求項1に記載の監視装置。
【請求項10】
前記判定部は、複数のフレームについて、前記人候補の検出が誤検出か否かを判定し、
前記制御部は、前記複数のフレームのうちの所定数以上のフレームについて、前記人候補の検出が誤検出ではない場合、前記操作対象機器に対する前記遠隔操作を規制する、
請求項1から9の何れか一項に記載の監視装置。
(【請求項11】以降は省略されています)
発明の詳細な説明
【技術分野】
【0001】
本発明は、監視装置、監視方法及びプログラムに関する。
続きを表示(約 1,200 文字)
【背景技術】
【0002】
ネットワークの進化により、ネットワークを介して機器を遠隔で操作することが行われている。特許文献1には、ネットワーク上に存在する複数の機器を遠隔操作するシステムが開示されている。
【先行技術文献】
【特許文献】
【0003】
特開2007-195111号公報
【発明の概要】
【発明が解決しようとする課題】
【0004】
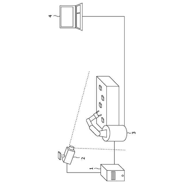
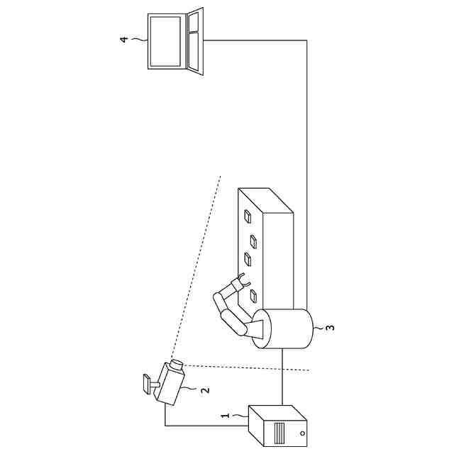
機器の遠隔操作を行う操作者は、遠隔先の環境が見えない場合がある。そのため、例えば、遠隔操作されている機器の近くに人が存在する場合、遠隔操作によって機器が動作することで、人が危険に晒される可能性がある。
【0005】
本発明は上記課題に鑑みてなされたものであって、その目的とするところは、遠隔操作における安全性を確保することである。
【課題を解決するための手段】
【0006】
本発明の一観点に係る監視装置は、所定領域を撮像した撮像画像から人候補を検出する検出部と、前記人候補の検出が誤検出であるか否かを判定する判定部と、前記人候補の検出が誤検出ではない場合、遠隔操作可能な操作対象機器に対する遠隔操作を規制する制御部と、を備える。
【0007】
例えば、人が操作対象機器に対するメンテナンス作業を行う場合がある。人が操作対象機器に対するメンテナンス作業を行っている間において、操作対象機器が遠隔操作されることで、操作対象機器が動作すると、人が危険に晒される可能性がある。人候補の検出が誤検出ではない場合、すなわち、所定領域内に人が検出された場合、操作対象機器に対する遠隔操作を規制することで、操作対象機器が遠隔操作によって動作することがないため、人の安全性を確保することができる。
【0008】
上記監視装置は、前記所定領域内における人以外の物体の画像を保持する保持部を備え、前記判定部は、前記物体の特徴量と、前記人候補の特徴量とに基づいて、前記人候補の検出が誤検出であるか否かを判定する。物体の特徴量及び人候補の特徴量に基づいて、人候補の検出が誤検出であるか否かを判定することで、判定精度が向上する。
【0009】
前記判定部は、前記物体の前記特徴量と、前記人候補の前記特徴量とに基づいて、前記物体と前記人候補との相違度を判定し、前記相違度に基づいて、前記人候補の検出が誤検出であるか否かを判定する。物体と人候補との相違度に基づいて、人候補の検出が誤検出であるか否かを判定することで、判定精度が向上する。
【0010】
前記判定部は、前記人候補の検出が誤検出である場合、前記人候補の画像を前記物体の前記画像であると決定し、前記物体の前記画像を前記保持部に格納する。これにより、人候補の検出が誤検出である場合における人候補の画像を物体の画像として、保持部に格納
することができる。
(【0011】以降は省略されています)
この特許をJ-PlatPat(特許庁公式サイト)で参照する
関連特許
オムロン株式会社
電磁継電器
1か月前
オムロン株式会社
サーボドライバ
1か月前
オムロン株式会社
センサシステム
21日前
オムロン株式会社
センサシステム
21日前
オムロン株式会社
発光エンブレム
1か月前
オムロン株式会社
センサシステム
21日前
オムロン株式会社
システム及び方法
21日前
オムロン株式会社
システム及び方法
21日前
オムロン株式会社
パワーコンディショナ
1か月前
オムロン株式会社
電力システム及び制御装置
1か月前
オムロン株式会社
監視装置、監視方法及びプログラム
25日前
オムロン株式会社
情報処理システムおよび情報処理方法
1か月前
オムロン株式会社
制御装置、制御方法、及び制御プログラム
1か月前
オムロン株式会社
画像処理装置、画像処理方法及びプログラム
1か月前
オムロン株式会社
管理システム、管理方法及び管理プログラム
25日前
オムロン株式会社
処理装置、処理方法、および処理プログラム
1か月前
オムロン株式会社
処理装置、処理方法、および処理プログラム
1か月前
オムロン株式会社
変換装置、変換方法、および、変換プログラム
11日前
オムロン株式会社
モデル生成方法、推論プログラム及び推論装置
1か月前
オムロン株式会社
制御装置、情報処理方法および情報処理プログラム
1か月前
オムロン株式会社
感震センサおよび地震検知方法、地震検知プログラム
21日前
オムロン株式会社
情報処理装置、情報処理方法及び情報処理プログラム
21日前
オムロン株式会社
感震センサおよび地震検知方法、地震検知プログラム
21日前
オムロン株式会社
感震センサおよび地震検知方法、地震検知プログラム
21日前
オムロン株式会社
感震センサおよび地震検知方法、地震検知プログラム
27日前
オムロン株式会社
情報処理装置、情報処理方法及び情報処理プログラム
21日前
オムロン株式会社
感震センサおよび地震検知方法、地震検知プログラム
22日前
オムロン株式会社
物体検出装置、物体検出方法、および制御プログラム
1か月前
オムロン株式会社
表示制御装置、表示制御方法および表示制御プログラム
1か月前
オムロン株式会社
オドメトリパラメータ較正装置、方法、及びプログラム
1か月前
オムロン株式会社
設計支援方法、設計支援装置、プログラム、及び記録媒体
1か月前
オムロン株式会社
混雑制御システム、混雑制御方法及び混雑制御プログラム
22日前
オムロン株式会社
入出場管理システム、入出場管理方法、及び入出場管理プログラム
1か月前
オムロン株式会社
信頼度マップ作成方法、自己位置決定方法、装置、及びプログラム
1か月前
オムロン株式会社
機器テスト処理装置、機器テスト処理方法、機器テスト処理プログラム
1か月前
オムロン株式会社
分析支援装置、分析支援方法、分析支援プログラムおよび分析支援端末
1か月前
続きを見る
他の特許を見る