TOP
|
特許
|
意匠
|
商標
特許ウォッチ
Twitter
他の特許を見る
公開番号
2025175170
公報種別
公開特許公報(A)
公開日
2025-11-28
出願番号
2025158929,2023185160
出願日
2025-09-25,2016-12-22
発明の名称
シールバー及び熱シール装置
出願人
オムロン株式会社
代理人
弁理士法人 楓国際特許事務所
主分類
B65B
51/10 20060101AFI20251120BHJP(運搬;包装;貯蔵;薄板状または線条材料の取扱い)
要約
【課題】シール条件等に影響されることなく、シール面の温度を精度良く検出する技術を提供する。
【解決手段】長辺方向の長さと短辺方向の高さを持つシール面が形成されたシールバーであって、シールバーの内部に長辺方向に延びて設けられ、シール面に熱を伝えるヒータと、シールバーの内部に設けられ、ヒータからシール面に伝わる熱が通る位置に配置された温度センサと、を備え、シール面からほぼ同じ距離の位置にヒータが2つあり、2つのヒータのうち一方のみのヒータに対して1つの温度センサが設けられている。
【選択図】図2
特許請求の範囲
【請求項1】
長辺方向の長さと短辺方向の高さを持つシール面が形成されたシールバーであって、
前記シールバーの内部に前記長辺方向に延びて設けられ、前記シール面に熱を伝えるヒータと、
前記シールバーの内部に設けられ、前記ヒータから前記シール面に伝わる熱が通る位置に配置された温度センサと、を備え、
前記シール面からほぼ同じ距離の位置にヒータが2つあり、2つのヒータのうち一方のみのヒータに対して1つの温度センサが設けられた、シールバー。
続きを表示(約 270 文字)
【請求項2】
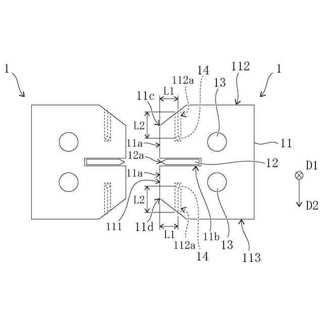
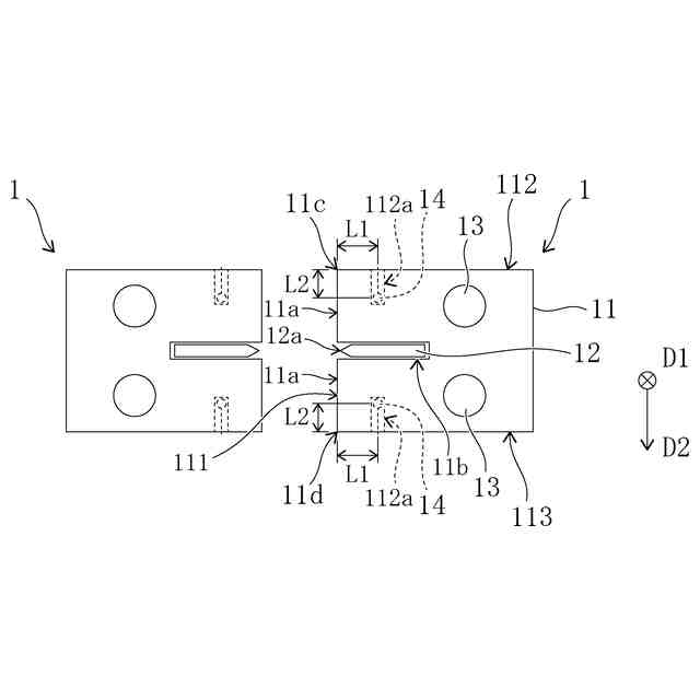
前記温度センサは、前記シール面の位置と前記ヒータの位置との中心付近に配置される、請求項1に記載のシールバー。
【請求項3】
前記温度センサは、前記シール面の高さ方向における中心付近に配置され、または前記シール面の高さ方向における1/2の中心線と1/4の補助線の間の位置に配置されている、請求項1、または2に記載のシールバー。
【請求項4】
請求項1~3のいずれかに記載のシールバーと、
前記温度センサの検出温度に基づいて前記ヒータを制御する制御部と、
を備えた、熱シール装置。
発明の詳細な説明
【技術分野】
【0001】
本発明は、包装材等をシールする技術に関する。
続きを表示(約 1,400 文字)
【背景技術】
【0002】
例えば包装機において、菓子袋等の包装体を形成する際の包装材の熱圧着(シール)には、熱圧着用のシール面が形成されたシールバーが用いられる。包装材における熱圧着箇所において良好なシール状態を得るためには、シール面の温度を、温度センサで直接的に検出して制御することが好ましい。しかし、そのために温度センサをシール面に設けると、シール面の平滑性が低下し、延いては包装材のシール状態に悪影響が及ぶ。
【0003】
従って、従来、シール面の温度制御では、シール面の温度を直接的に検出するのではなく、シールバーにおけるシール面とは異なる面の温度を検出していた(例えば、特許文献1)。或いは、温度センサをシール面の短辺に交わる側面からシールバーの内部に挿入し、シールバーの内部の温度を検出していた。具体的には、ヒータが、シールバーの延在方向に延びた状態でシールバーの内部に設けられ、温度センサは、シールバーに対し、ヒータの延在方向と同方向に挿入されていた。
【先行技術文献】
【特許文献】
【0004】
特許第5423078号公報
【発明の概要】
【発明が解決しようとする課題】
【0005】
しかし、シール面上の位置とは異なる位置で温度を検出した場合、検出温度とシール面の実際の温度との差が、シール条件(シールバーの構造や、シール(熱圧着)の反復速度、周囲温度など)に応じて変動する。このため、単にオフセット値を設けて、温度センサによる検出温度を補正するだけでは、シール面の温度制御が適正に行えない。
【0006】
そこで本発明の目的は、シール条件等に影響されることなく、シール面の温度を精度良く検出する技術を提供することである。
【課題を解決するための手段】
【0007】
本発明は、例えば、長辺方向の長さと短辺方向の高さを持つシール面が形成されたシールバーであって、シールバーの内部に長辺方向に延びて設けられ、シール面に熱を伝えるヒータと、シールバーの内部に設けられ、ヒータからシール面に伝わる熱が通る位置に配置された温度センサと、を備え、シール面からほぼ同じ距離の位置にヒータが2つあり、2つのヒータのうち一方のみのヒータに対して1つの温度センサが設けられた構成である。この構成によれば、シール条件等に影響されることなく、シール面の温度を精度良く検出することができる。
【発明の効果】
【0008】
本発明によれば、シール条件等に影響されることなく、シール面の温度を精度良く検出することが可能になる。
【図面の簡単な説明】
【0009】
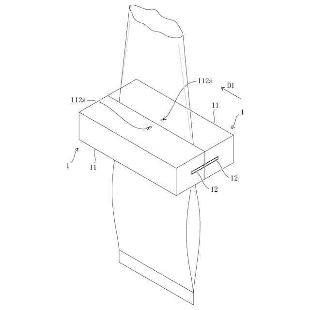
第1実施形態に係る熱シール装置を概念的に示した斜視図である。
熱シール装置を概念的に示した側面図である。
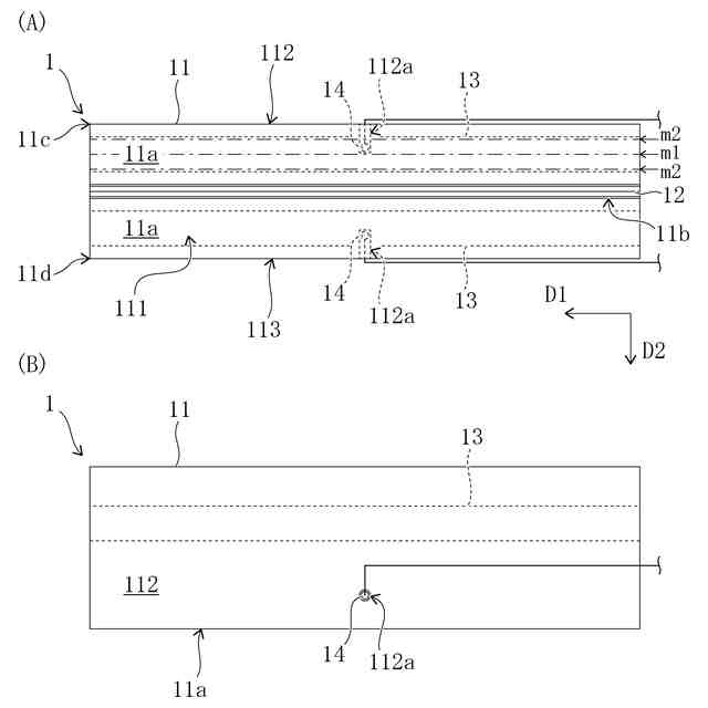
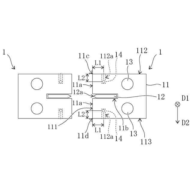
(A)熱シール装置が備えるシールバーをシール面側から平面視した図、及び(B)当該シールバーを上端面側から平面視した図である。
本発明者らが取得したデータをグラフ化した図である。
熱シール装置の構成を概念的に示したブロック図である。
第2実施形態に係る熱シール装置を概念的に示した側面図である。
【発明を実施するための形態】
【0010】
以下、包装機等が備える熱シール装置に本発明を適用した実施形態について、図面に沿って具体的に説明する。
(【0011】以降は省略されています)
この特許をJ-PlatPat(特許庁公式サイト)で参照する
関連特許
オムロン株式会社
電磁継電器
1か月前
オムロン株式会社
発光エンブレム
1か月前
オムロン株式会社
サーボドライバ
1か月前
オムロン株式会社
センサシステム
1か月前
オムロン株式会社
センサシステム
1か月前
オムロン株式会社
センサシステム
1か月前
オムロン株式会社
システム及び方法
1か月前
オムロン株式会社
システム及び方法
1か月前
オムロン株式会社
パワーコンディショナ
1日前
オムロン株式会社
検出システム及び検出方法
1日前
オムロン株式会社
監視装置、監視方法及びプログラム
1か月前
オムロン株式会社
情報処理システムおよび情報処理方法
1か月前
オムロン株式会社
制御装置、制御方法、及び制御プログラム
1か月前
オムロン株式会社
画像処理装置、画像処理方法及びプログラム
1か月前
オムロン株式会社
処理装置、処理方法、および処理プログラム
1か月前
オムロン株式会社
処理装置、処理方法、および処理プログラム
1か月前
オムロン株式会社
管理システム、管理方法及び管理プログラム
1か月前
オムロン株式会社
サポート装置、サポート方法およびプログラム
1日前
オムロン株式会社
サポート装置、サポート方法およびプログラム
1日前
オムロン株式会社
変換装置、変換方法、および、変換プログラム
22日前
オムロン株式会社
モデル生成方法、推論プログラム及び推論装置
1か月前
オムロン株式会社
制御装置、情報処理方法および情報処理プログラム
1か月前
オムロン株式会社
感震センサおよび地震検知方法、地震検知プログラム
1か月前
オムロン株式会社
物体検出装置、物体検出方法、および制御プログラム
1か月前
オムロン株式会社
感震センサおよび地震検知方法、地震検知プログラム
1か月前
オムロン株式会社
情報処理装置、情報処理方法及び情報処理プログラム
1か月前
オムロン株式会社
感震センサおよび地震検知方法、地震検知プログラム
1か月前
オムロン株式会社
情報処理装置、情報処理方法及び情報処理プログラム
1か月前
オムロン株式会社
感震センサおよび地震検知方法、地震検知プログラム
1か月前
オムロン株式会社
感震センサおよび地震検知方法、地震検知プログラム
1か月前
オムロン株式会社
オドメトリパラメータ較正装置、方法、及びプログラム
1か月前
オムロン株式会社
表示制御装置、表示制御方法および表示制御プログラム
1か月前
オムロン株式会社
設計支援方法、設計支援装置、プログラム、及び記録媒体
1か月前
オムロン株式会社
混雑制御システム、混雑制御方法及び混雑制御プログラム
1か月前
オムロン株式会社
入出場管理システム、入出場管理方法、及び入出場管理プログラム
1か月前
オムロン株式会社
信頼度マップ作成方法、自己位置決定方法、装置、及びプログラム
1か月前
続きを見る
他の特許を見る