TOP
|
特許
|
意匠
|
商標
特許ウォッチ
Twitter
他の特許を見る
10個以上の画像は省略されています。
公開番号
2025174110
公報種別
公開特許公報(A)
公開日
2025-11-28
出願番号
2024080180
出願日
2024-05-16
発明の名称
サポート装置、サポート方法およびプログラム
出願人
オムロン株式会社
代理人
弁理士法人深見特許事務所
主分類
G05B
19/05 20060101AFI20251120BHJP(制御;調整)
要約
【課題】プロジェクトを構成する複数のファイルをユーザが区別しやすい環境を提供する。
【解決手段】サポート装置は、フォルダを指定したインポート指示を受けたことに応じて、フォルダに対応するプロジェクトをインポートすることを実行するインポート部を備える。プロジェクトをインポートすることは、フォルダの中から、ルールに従った複数のサブフォルダを抽出することと、複数のサブフォルダに含まれる複数のファイルを統合することにより、プロジェクトを生成することとを含む。複数のサブフォルダを抽出することは、フォルダ内の、ルールに従わないサブフォルダを無視することを含む。
【選択図】図1
特許請求の範囲
【請求項1】
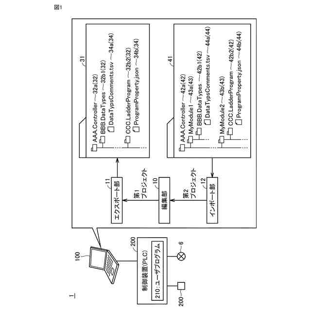
制御装置で実行されるユーザプログラムの開発環境を提供するサポート装置であって、
前記ユーザプログラムおよび前記制御装置の設定情報に関するデータの集合であるプロジェクトを編集する編集部と、
第1プロジェクトのエクスポート指示を受けたことに応じて、前記第1プロジェクトに対応する第1フォルダを生成することを実行するエクスポート部と、
第2フォルダを指定したインポート指示を受けたことに応じて、前記第2フォルダに対応する第2プロジェクトをインポートすることを実行するインポート部とを備え、
前記第1フォルダを生成することは、
前記第1プロジェクトを、汎用アプリケーションによって編集可能な複数の第1ファイルに分割することと、
前記第1フォルダ内に、階層構造およびフォルダ名を定義するルールに従った複数の第1サブフォルダを生成することと、
前記複数の第1ファイルの各々を、前記複数の第1サブフォルダのいずれかに配置することとを含み、
前記第2プロジェクトをインポートすることは、
前記第2フォルダの中から、前記ルールに従った複数の第2サブフォルダを抽出することと、
前記複数の第2サブフォルダに含まれる複数の第2ファイルを統合することにより、前記第2プロジェクトを生成することとを含み、
前記複数の第2サブフォルダを抽出することは、前記第2フォルダ内の、前記ルールに従わない第3サブフォルダを無視することを含む、サポート装置。
続きを表示(約 1,700 文字)
【請求項2】
前記第2プロジェクトを生成することは、前記第3サブフォルダに直接含まれる第3ファイルを無視することを含む、請求項1に記載のサポート装置。
【請求項3】
前記第2プロジェクトを生成することは、
前記集合と前記複数の第2ファイルとの差分である欠損部分を特定することと、
前記欠損部分のデフォルトデータを前記複数の第2ファイルに追加することとを含む、請求項1または2に記載のサポート装置。
【請求項4】
前記第2プロジェクトを生成することは、
前記複数の第2ファイルがデータペアを構成する第1データを含み、かつ、前記複数の第2ファイルが前記データペアを構成する第2データを含まないことに応じて、前記第1データに基づいて前記第2データを生成することと、
前記第2データを前記複数の第2ファイルに追加することとを含む、請求項1または2に記載のサポート装置。
【請求項5】
制御装置で実行されるユーザプログラムの開発をサポートするサポート方法であって、
プロセッサが、前記ユーザプログラムおよび前記制御装置の設定情報に関するデータの集合であるプロジェクトを編集することと、
前記プロセッサが、第1プロジェクトのエクスポート指示を受けたことに応じて、前記第1プロジェクトに対応する第1フォルダを生成することと、
前記プロセッサが、第2フォルダを指定したインポート指示を受けたことに応じて、前記第2フォルダに対応する第2プロジェクトをインポートすることとを備え、
前記第1フォルダを生成することは、
前記第1プロジェクトを、汎用アプリケーションによって編集可能な複数の第1ファイルに分割することと、
前記第1フォルダ内に、階層構造およびフォルダ名を定義するルールに従った複数の第1サブフォルダを生成することと、
前記複数の第1ファイルの各々を、前記複数の第1サブフォルダのいずれかに配置することとを含み、
前記第2プロジェクトをインポートすることは、
前記第2フォルダの中から、前記ルールに従った複数の第2サブフォルダを抽出することと、
前記複数の第2サブフォルダに含まれる複数の第2ファイルを統合することにより、前記第2プロジェクトを生成することとを含み、
前記複数の第2サブフォルダを抽出することは、前記第2フォルダ内の、前記ルールに従わない第3サブフォルダを無視することを含む、サポート方法。
【請求項6】
制御装置で実行されるユーザプログラムの開発をサポートするサポート方法をコンピュータに実行させるプログラムであって、
前記サポート方法は、
前記ユーザプログラムおよび前記制御装置の設定情報に関するデータの集合であるプロジェクトを編集することと、
第1プロジェクトのエクスポート指示を受けたことに応じて、前記第1プロジェクトに対応する第1フォルダを生成することと、
第2フォルダを指定したインポート指示を受けたことに応じて、前記第2フォルダに対応する第2プロジェクトをインポートすることとを備え、
前記第1フォルダを生成することは、
前記第1プロジェクトを、汎用アプリケーションによって編集可能な複数の第1ファイルに分割することと、
前記第1フォルダ内に、階層構造およびフォルダ名を定義するルールに従った複数の第1サブフォルダを生成することと、
前記複数の第1ファイルの各々を、前記複数の第1サブフォルダのいずれかに配置することとを含み、
前記第2プロジェクトをインポートすることは、
前記第2フォルダの中から、前記ルールに従った複数の第2サブフォルダを抽出することと、
前記複数の第2サブフォルダに含まれる複数の第2ファイルを統合することにより、前記第2プロジェクトを生成することとを含み、
前記複数の第2サブフォルダを抽出することは、前記第2フォルダ内の、前記ルールに従わない第3サブフォルダを無視することを含む、プログラム。
発明の詳細な説明
【技術分野】
【0001】
本開示は、サポート装置、サポート方法およびプログラムに関する。
続きを表示(約 2,000 文字)
【背景技術】
【0002】
様々な生産現場において、生産工程を自動化するFA(Factory Automation)システムが普及している。FAシステムは、種々の産業用の機器と、当該機器を制御する制御装置とを含む。従来、制御装置で実行されるユーザプログラムの開発を支援するサポート装置が知られている。サポート装置は、ユーザプログラムおよび制御装置の設定情報に関するデータの集合であるプロジェクトを管理する。例えば、特開2016-224557号公報(特許文献1)は、プロジェクトを1つの統合ファイルとして管理する、あるいは、プロジェクトを複数のファイルに分割して管理するサポート装置を開示している。プロジェクトを複数のファイルに分割して管理する場合、複数のファイルは、汎用のテキストエディタで編集可能なテキストファイルを含む。これにより、ユーザは、プロジェクトを編集するための専用ツールではなく、汎用のテキストエディタを用いて、プロジェクトを構成するテキストファイルを編集できる。
【先行技術文献】
【特許文献】
【0003】
特開2016-224557号公報
【発明の概要】
【発明が解決しようとする課題】
【0004】
プロジェクトが1つの統合ファイルとして管理される場合、統合ファイルは、専用のツールを用いてのみ編集可能である。そのため、サポート装置のユーザは、汎用のアプリケーションを用いて統合ファイルを編集できない。
【0005】
一方、プロジェクトを複数のファイルに分割して管理する場合、サポート装置のユーザは、汎用のアプリケーションを用いてファイルを編集できる。ただし、プロジェクトを構成する複数のファイルの各々は、通常、サポート装置の開発者によって定義された独自のフォルダ構成を有する複数のフォルダのいずれかに配置される。そのため、サポート装置のユーザは、任意のフォルダによって複数のファイルを分類できず、複数のファイルを区別しづらい。
【0006】
本開示は、上記の問題に鑑みてなされたものであり、その目的は、プロジェクトを構成する複数のファイルをユーザが区別しやすい環境を提供可能なサポート装置、サポート方法およびプログラムを提供することである。
【課題を解決するための手段】
【0007】
本開示の一例によれば、サポート装置は、制御装置で実行されるユーザプログラムの開発環境を提供する。サポート装置は、ユーザプログラムおよび制御装置の設定情報に関するデータの集合であるプロジェクトを編集する編集部と、第1プロジェクトのエクスポート指示を受けたことに応じて、第1プロジェクトに対応する第1フォルダを生成することを実行するエクスポート部と、第2フォルダを指定したインポート指示を受けたことに応じて、第2フォルダに対応する第2プロジェクトをインポートすることを実行するインポート部とを備える。第1フォルダを生成することは、第1プロジェクトを、汎用アプリケーションによって編集可能な複数の第1ファイルに分割することと、第1フォルダ内に、階層構造およびフォルダ名を定義するルールに従った複数の第1サブフォルダを生成することと、複数の第1ファイルの各々を、複数の第1サブフォルダのいずれかに配置することとを含む。第2プロジェクトをインポートすることは、第2フォルダの中から、ルールに従った複数の第2サブフォルダを抽出することと、複数の第2サブフォルダに含まれる複数の第2ファイルを統合することにより、第2プロジェクトを生成することとを含む。複数の第2サブフォルダを抽出することは、第2フォルダ内の、ルールに従わない第3サブフォルダを無視することを含む。
【0008】
この開示によれば、ユーザは、第2フォルダ内に、ルールに従わないサブフォルダを挿入できる。これにより、ユーザは、挿入したサブフォルダを用いて、第2フォルダ内の複数の第2ファイルを区別しやすくなる。このように、サポート装置は、プロジェクトを構成する複数のファイルをユーザが区別しやすい環境を提供できる。
【0009】
上述の開示において、第2プロジェクトを生成することは、第3サブフォルダに直接含まれる第3ファイルを無視することを含む。
【0010】
この開示によれば、ユーザは、第2フォルダの第3サブフォルダに任意のファイルを配置できる。例えば、ユーザは、編集作業に有用なコメント等を記述したファイルを挿入できる。あるいは、ユーザは、参考情報として別のプロジェクトを構成するファイルを第3サブフォルダに配置してもよい。その結果、ユーザは、編集作業を効率的に進めることができる。
(【0011】以降は省略されています)
この特許をJ-PlatPat(特許庁公式サイト)で参照する
関連特許
オムロン株式会社
電磁継電器
1か月前
オムロン株式会社
センサシステム
1か月前
オムロン株式会社
センサシステム
1か月前
オムロン株式会社
発光エンブレム
1か月前
オムロン株式会社
センサシステム
1か月前
オムロン株式会社
サーボドライバ
1か月前
オムロン株式会社
システム及び方法
1か月前
オムロン株式会社
システム及び方法
1か月前
オムロン株式会社
パワーコンディショナ
1か月前
オムロン株式会社
パワーコンディショナ
今日
オムロン株式会社
電力システム及び制御装置
1か月前
オムロン株式会社
検出システム及び検出方法
今日
オムロン株式会社
監視装置、監視方法及びプログラム
1か月前
オムロン株式会社
情報処理システムおよび情報処理方法
1か月前
オムロン株式会社
制御装置、制御方法、及び制御プログラム
1か月前
オムロン株式会社
処理装置、処理方法、および処理プログラム
1か月前
オムロン株式会社
管理システム、管理方法及び管理プログラム
1か月前
オムロン株式会社
処理装置、処理方法、および処理プログラム
1か月前
オムロン株式会社
画像処理装置、画像処理方法及びプログラム
1か月前
オムロン株式会社
モデル生成方法、推論プログラム及び推論装置
1か月前
オムロン株式会社
サポート装置、サポート方法およびプログラム
今日
オムロン株式会社
サポート装置、サポート方法およびプログラム
今日
オムロン株式会社
変換装置、変換方法、および、変換プログラム
21日前
オムロン株式会社
制御装置、情報処理方法および情報処理プログラム
1か月前
オムロン株式会社
物体検出装置、物体検出方法、および制御プログラム
1か月前
オムロン株式会社
感震センサおよび地震検知方法、地震検知プログラム
1か月前
オムロン株式会社
感震センサおよび地震検知方法、地震検知プログラム
1か月前
オムロン株式会社
情報処理装置、情報処理方法及び情報処理プログラム
1か月前
オムロン株式会社
感震センサおよび地震検知方法、地震検知プログラム
1か月前
オムロン株式会社
情報処理装置、情報処理方法及び情報処理プログラム
1か月前
オムロン株式会社
感震センサおよび地震検知方法、地震検知プログラム
1か月前
オムロン株式会社
感震センサおよび地震検知方法、地震検知プログラム
1か月前
オムロン株式会社
表示制御装置、表示制御方法および表示制御プログラム
1か月前
オムロン株式会社
オドメトリパラメータ較正装置、方法、及びプログラム
1か月前
オムロン株式会社
設計支援方法、設計支援装置、プログラム、及び記録媒体
1か月前
オムロン株式会社
混雑制御システム、混雑制御方法及び混雑制御プログラム
1か月前
続きを見る
他の特許を見る