TOP
|
特許
|
意匠
|
商標
特許ウォッチ
Twitter
他の特許を見る
10個以上の画像は省略されています。
公開番号
2025162777
公報種別
公開特許公報(A)
公開日
2025-10-28
出願番号
2024066195
出願日
2024-04-16
発明の名称
センサシステム
出願人
オムロン株式会社
代理人
個人
,
個人
,
個人
主分類
G08C
15/06 20060101AFI20251021BHJP(信号)
要約
【課題】複数のセンサユニットにおいて適切な測定タイミングでの測定データを適切に処理可能なセンサシステムを提供することである。
【解決手段】センサシステム1は、複数のセンサユニット30と通信ユニット20と、を備え、複数のセンサユニット30は、当該複数のセンサユニット30間で共通の第1周期を有する同期信号に基づいて位相調整された、センサユニット固有の第2周期を有する同期信号に基づいて測定することにより得られた測定値をメモリに格納し、複数のセンサユニット30、通信ユニット20、情報処理装置10及び制御装置のうち、少なくとも1つの装置は、複数のセンサユニット30のうち少なくとも2つ以上のセンサユニット30がメモリに格納した測定値を読み出して演算することにより演算値を生成する。
【選択図】図12
特許請求の範囲
【請求項1】
複数のセンサユニットと、前記複数のセンサユニットに信号伝達可能に接続され、各々のセンサユニットから受信した情報を情報処理装置又は制御装置に向けて送信する通信ユニットと、を備えるセンサシステムであって、
前記複数のセンサユニットは、
当該複数のセンサユニット間で共通の第1周期を有する同期信号に基づいて位相調整された、センサユニット固有の第2周期を有する同期信号に基づいて測定することにより得られた測定値をメモリに格納し、
前記複数のセンサユニット、前記通信ユニット、前記情報処理装置及び前記制御装置のうち、少なくとも1つの装置は、
前記複数のセンサユニットのうち少なくとも2つ以上のセンサユニットが前記メモリに格納した前記測定値を読み出して演算することにより演算値を生成する、
センサシステム。
続きを表示(約 530 文字)
【請求項2】
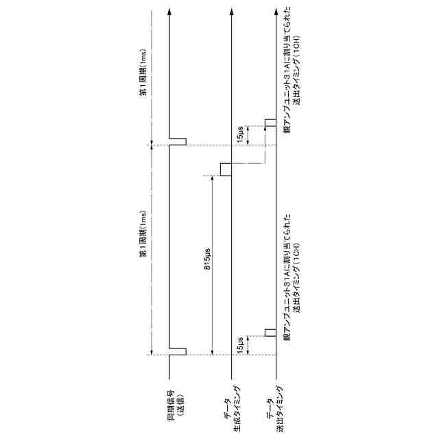
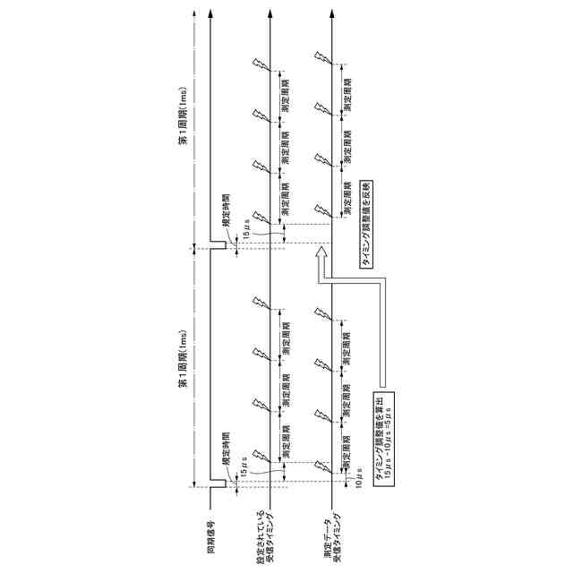
前記複数のセンサユニットは、前記第2周期を有する同期信号について、前記測定値を受信したタイミングと、予め設定されている受信タイミングとに基づいて位相調整する、
請求項1に記載のセンサシステム。
【請求項3】
前記複数のセンサユニットは、次の前記第1周期を有する同期信号が送受信されるタイミングで、前記第2周期を有する同期信号の前記位相調整を反映する、
請求項2に記載のセンサシステム。
【請求項4】
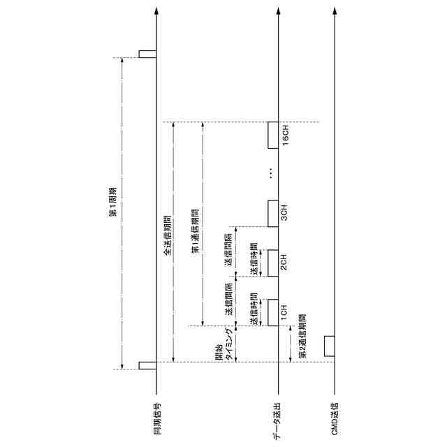
前記複数のセンサユニットのうち少なくとも1つのセンサユニットは、他のセンサユニットが前記メモリに格納した測定値を取得し、自身の測定値との間で演算することにより演算値を生成し、
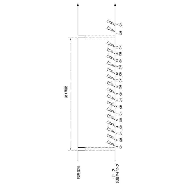
前記測定と、前記測定値の取得と、前記演算値の生成とが、前記同期信号によって区分されるサイクルにおいて、パイプラインで処理される、
請求項1に記載のセンサシステム。
【請求項5】
前記複数のセンサユニットのうち少なくとも1つのセンサユニットは、前記複数のセンサユニットにおいて同じタイミングで測定された測定値を演算することにより演算値を生成する、
請求項4に記載のセンサシステム。
発明の詳細な説明
【技術分野】
【0001】
本発明は、センサシステムに関する。
続きを表示(約 1,500 文字)
【背景技術】
【0002】
従来、複数のセンサユニットで構成されるセンサシステムが普及している。複数のアンプユニットと、それらにそれぞれ対応するセンサヘッドとで構成される複数のセンサユニットで構成されるセンサシステムでは、各センサユニットによって取得された測定データに基づいて対象物の状態を監視している。
【0003】
例えば、特許文献1では、通信速度を向上させるために、各センサユニットは、同期信号を起点としてセンサユニット毎に定められる待機時間が経過してから通信装置に検出情報を送信するセンサシステムに関する技術が開示されている。
【0004】
また、特許文献2では、同一種別間での相互干渉を防止するために、各センサユニットは、同期信号を起点として、各々の識別番号に応じて定められる遅延時間が経過してから動作するように構成されたセンサシステムに関する技術が開示されている。
【先行技術文献】
【特許文献】
【0005】
特開2014-96036号公報
特開2014-96697号公報
【発明の概要】
【発明が解決しようとする課題】
【0006】
ところで、上記のようなセンサシステムでは、複数のセンサユニットで測定された各測定データを適切に処理することによって、より高精度な測定が求められている。
【0007】
そこで、本発明は、複数のセンサユニットにおいて適切な測定タイミングでの測定データを適切に処理可能なセンサシステムを提供することを目的とする。
【課題を解決するための手段】
【0008】
本発明の一態様に係るセンサシステムは、複数のセンサユニットと、複数のセンサユニットに信号伝達可能に接続され、各々のセンサユニットから受信した情報を情報処理装置又は制御装置に向けて送信する通信ユニットと、を備えるセンサシステムであって、複数のセンサユニットは、当該複数のセンサユニット間で共通の第1周期を有する同期信号に基づいて位相調整された、センサユニット固有の第2周期を有する同期信号に基づいて測定することにより得られた測定値をメモリに格納し、複数のセンサユニット、通信ユニット、情報処理装置及び制御装置のうち、少なくとも1つの装置は、複数のセンサユニットのうち少なくとも2つ以上のセンサユニットがメモリに格納した測定値を読み出して演算することにより演算値を生成する。
【0009】
この態様によれば、複数のセンサユニットは、当該複数のセンサユニット間で共通の第1周期を有する同期信号に基づいて位相調整された、センサユニット固有の第2周期を有する同期信号に基づいて測定する。そして、複数のセンサユニットは、当該測定によりそれぞれ得られた測定値をメモリに格納し、複数のセンサユニット、通信ユニット、情報処理装置及び制御装置のうち、少なくとも1つの装置は、複数のセンサユニットのうち少なくとも2つ以上のセンサユニットがメモリに格納した測定値を読み出して演算することにより演算値を生成する。これにより、複数のセンサユニットにおいて適切な測定タイミングでの測定値に基づいて演算値が生成されるため、適切な測定タイミングでの測定値を用いて適切に処理することができる。
【0010】
上記態様において、複数のセンサユニットは、第2周期を有する同期信号について、測定値を受信したタイミングと、予め設定されている受信タイミングとに基づいて位相調整してもよい。
(【0011】以降は省略されています)
この特許をJ-PlatPat(特許庁公式サイト)で参照する
関連特許
オムロン株式会社
電磁継電器
1か月前
オムロン株式会社
センサシステム
24日前
オムロン株式会社
発光エンブレム
1か月前
オムロン株式会社
センサシステム
24日前
オムロン株式会社
センサシステム
24日前
オムロン株式会社
サーボドライバ
1か月前
オムロン株式会社
システム及び方法
24日前
オムロン株式会社
システム及び方法
24日前
オムロン株式会社
監視装置、監視方法及びプログラム
28日前
オムロン株式会社
情報処理システムおよび情報処理方法
1か月前
オムロン株式会社
制御装置、制御方法、及び制御プログラム
1か月前
オムロン株式会社
処理装置、処理方法、および処理プログラム
1か月前
オムロン株式会社
処理装置、処理方法、および処理プログラム
1か月前
オムロン株式会社
管理システム、管理方法及び管理プログラム
28日前
オムロン株式会社
画像処理装置、画像処理方法及びプログラム
1か月前
オムロン株式会社
モデル生成方法、推論プログラム及び推論装置
1か月前
オムロン株式会社
変換装置、変換方法、および、変換プログラム
14日前
オムロン株式会社
制御装置、情報処理方法および情報処理プログラム
1か月前
オムロン株式会社
物体検出装置、物体検出方法、および制御プログラム
1か月前
オムロン株式会社
感震センサおよび地震検知方法、地震検知プログラム
1か月前
オムロン株式会社
情報処理装置、情報処理方法及び情報処理プログラム
24日前
オムロン株式会社
感震センサおよび地震検知方法、地震検知プログラム
24日前
オムロン株式会社
情報処理装置、情報処理方法及び情報処理プログラム
24日前
オムロン株式会社
感震センサおよび地震検知方法、地震検知プログラム
24日前
オムロン株式会社
感震センサおよび地震検知方法、地震検知プログラム
24日前
オムロン株式会社
感震センサおよび地震検知方法、地震検知プログラム
25日前
オムロン株式会社
表示制御装置、表示制御方法および表示制御プログラム
1か月前
オムロン株式会社
オドメトリパラメータ較正装置、方法、及びプログラム
1か月前
オムロン株式会社
設計支援方法、設計支援装置、プログラム、及び記録媒体
1か月前
オムロン株式会社
混雑制御システム、混雑制御方法及び混雑制御プログラム
25日前
オムロン株式会社
入出場管理システム、入出場管理方法、及び入出場管理プログラム
1か月前
オムロン株式会社
信頼度マップ作成方法、自己位置決定方法、装置、及びプログラム
1か月前
オムロン株式会社
分析支援装置、分析支援方法、分析支援プログラムおよび分析支援端末
1か月前
オムロン株式会社
施設情報提示システム、施設情報提示方法、及び施設情報提示プログラム
2日前
オムロン株式会社
旅客流動混雑予測装置、旅客流動混雑予測方法及び旅客流動混雑予測プログラム
28日前
オムロン株式会社
ロボット制御装置、代表物体情報生成装置、操作情報付与装置、方法、及びプログラム
1か月前
続きを見る
他の特許を見る