TOP
|
特許
|
意匠
|
商標
特許ウォッチ
Twitter
他の特許を見る
10個以上の画像は省略されています。
公開番号
2025153474
公報種別
公開特許公報(A)
公開日
2025-10-10
出願番号
2024055972
出願日
2024-03-29
発明の名称
分析支援装置、分析支援方法、分析支援プログラムおよび分析支援端末
出願人
オムロン株式会社
代理人
個人
,
個人
,
個人
主分類
G16H
10/40 20180101AFI20251002BHJP(特定の用途分野に特に適合した情報通信技術)
要約
【課題】利用者が特定のICF項目に対して関連するICF項目を適切に認識することができる分析支援装置等を提供する。
【解決手段】分析支援装置は、それぞれがICFで分類される健康状態、心身機能・身体構造、活動、参加、環境因子、個人因子の6つのカテゴリーのうちの一つに属する複数のICF項目から少なくとも一つの第1項目の指定を受け付ける受付部と、予め策定された複数のICF項目間の相互関係に基づいて、複数のICF項目から第1項目に関連する少なくとも1つの第2項目を抽出する抽出部と、第1項目と第2項目を関連付けて表示部に表示させる表示制御部とを備える。
【選択図】図9
特許請求の範囲
【請求項1】
それぞれがICF(International Classification of Functioning, Disability and Health)で分類される健康状態、心身機能・身体構造、活動、参加、環境因子、個人因子の6つのカテゴリーのうちの一つに属する複数のICF項目から少なくとも一つの第1項目の指定を受け付ける受付部と、
予め策定された前記複数のICF項目間の相互関係に基づいて、前記複数のICF項目から前記第1項目に関連する少なくとも1つの第2項目を抽出する抽出部と、
前記第1項目と前記第2項目を関連付けて表示部に表示させる表示制御部と
を備える分析支援装置。
続きを表示(約 1,200 文字)
【請求項2】
前記表示制御部は、前記相互関係として規定された関連度に応じて前記第1項目と前記第2項目の関連性を表示させる請求項1に記載の分析支援装置。
【請求項3】
前記抽出部は、前記第2項目を前記6つのカテゴリーのうち前記第1項目が属する第1カテゴリーとは異なるカテゴリーに属する前記複数のICF項目から抽出する請求項1に記載の分析支援装置。
【請求項4】
前記表示制御部は、前記第1項目と前記第2項目を、それぞれが属するカテゴリーと共に表示部に表示させる請求項1に記載の分析支援装置。
【請求項5】
前記抽出部は、被検者に対して実施されたアセスメントの結果に基づいて付与された前記被検者の前記第1項目に対する第1付与スコアを加味して前記第2項目を抽出する請求項1に記載の分析支援装置。
【請求項6】
前記抽出部は、前記相互関係として規定された関連度と前記第1付与スコアとに基づいて前記第2項目の候補に対して第2算出スコアを算出し、前記第2算出スコアに基づいて前記第2項目を抽出する請求項5に記載の分析支援装置。
【請求項7】
前記表示制御部は、前記第2算出スコアと、前記アセスメントの結果に基づいて付与された前記被検者の前記第2項目に対する第2付与スコアとの間に、予め設定された閾値以上の差異が存在する場合には注意喚起を表示させる請求項6に記載の分析支援装置。
【請求項8】
前記抽出部は、抽出された前記第2項目のうち、前記アセスメントの結果に基づいて付与された前記被検者の前記第2項目に対する第2付与スコアが予め設定された基準よりも劣った劣位項目を更に抽出し、
前記表示制御部は、前記劣位項目を他の前記第2項目とは区別された態様で、または他の前記第2項目を省略して表示させる請求項6に記載の分析支援装置。
【請求項9】
前記抽出部は、抽出された前記第2項目のうち、前記アセスメントの結果に基づいて付与された前記被検者の前記第2項目に対する第2付与スコアが予め設定された基準よりも優れた優位項目を更に抽出し、
前記表示制御部は、前記優位項目を他の前記第2項目とは区別された態様で、または他の前記第2項目を省略して表示させる請求項6に記載の分析支援装置。
【請求項10】
前記抽出部は、抽出された前記第2項目のうち、前記アセスメントの結果に基づいて付与された前記被検者の前記第2項目に対する第2付与スコアが関連付けられていない未付与項目を更に抽出し、
前記表示制御部は、前記未付与項目を他の前記第2項目とは区別された態様で、または他の前記第2項目を省略して表示させる請求項6に記載の分析支援装置。
(【請求項11】以降は省略されています)
発明の詳細な説明
【技術分野】
【0001】
本発明は、分析支援装置、分析支援方法、分析支援プログラムおよび分析支援端末に関する。
続きを表示(約 2,400 文字)
【背景技術】
【0002】
高齢者等の対象者が自立して日常生活を営むことができるように、介護支援者が対象者と面談し、生活状況を分析して、生活行為に関する課題を抽出したり、当該課題を克服するためのアドバイスをしたりすることが行われている。また、特許文献1に開示された介護サービス支援装置は、支援を必要とする要支援者に関する情報の入力に基づいて、要支援者のニーズを満たすサービス提供者の情報を提供する。
【0003】
アセスメントにおいて、ヒアリング等を通じて収集された回答から対象者である被検者の状態を客観的かつ体系的に顕在化させる手法として、ICF(International Classification of Functioning, Disability and Health)の生活機能モデルによる分類が知られている。ICFは2001年にWHO(World Health Organization)によって採択された人の健康状態、健康に影響する因子を理解するための概念であり、具体的には人の状態を6つカテゴリー(健康状態、心身機能・身体構造、活動、参加、環境因子、個人因子)に分類している。ICFによる分類を利用するにあたり、アセスメントを行う検査者の知識や経験によってばらつきが生じないように、ICFの各カテゴリーへ分類する作業等を支援する分析支援装置なども開発されつつある(例えば、特許文献2)。
【先行技術文献】
【特許文献】
【0004】
特開平11-53455号公報
特開2022-170117号公報
【発明の概要】
【発明が解決しようとする課題】
【0005】
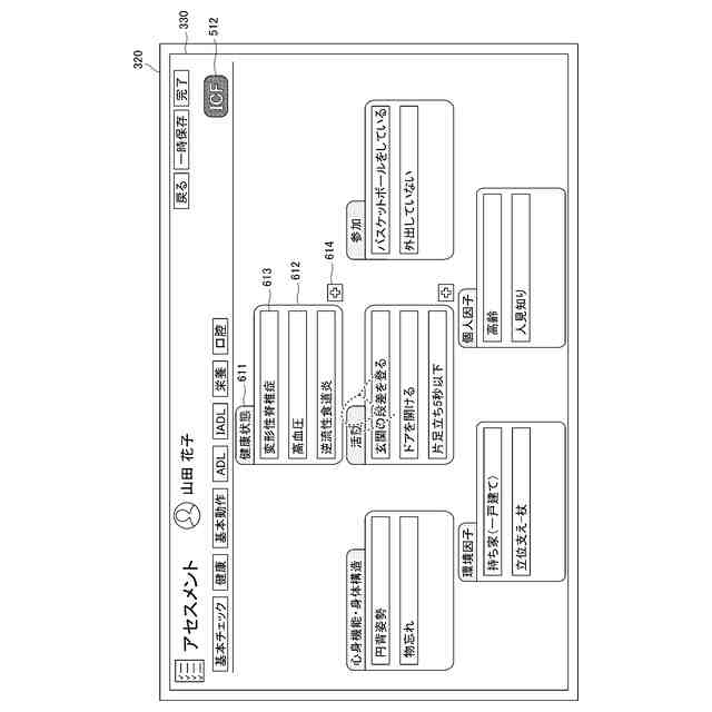
ICFは6つのカテゴリーに分類されているが、それぞれのカテゴリーには、多岐にわたる多数の項目(以下、「ICF項目」と称する)が体系的に用意されている。ICF項目は、被検者の状態やその状態に影響を与える因子を細分化した事項であり、心身障害のような直接的な事項の他にも、間接的な因子となり得る趣味趣向や住宅環境といった事項も含む。それぞれのICF項目は、他のICF項目と関連性を有するものも多く、その関連性は、例えば被検者のある状態に対して原因となり得るものもあれば、結果として顕在化するものもある。このようなICF項目間の関連性の有無、さらにはその関連性の強さは、アセスメントを行う検査者に限らずICFの分類を利用する他の利用者にとっても、正確に把握して応用することが難しかった。特に、ICF項目間の関連性の有無やその関連性の強さは、経験的に暗黙知として蓄積される性質を有することから、利用者が体系的かつ客観的に認識することも難しかった。
【0006】
本発明は、このような問題を解決するためになされたものであり、利用者が特定のICF項目に対して関連するICF項目を適切に認識することができる分析支援装置等を提供するものである。
【課題を解決するための手段】
【0007】
本発明の第1の態様における分析支援装置は、それぞれがICFで分類される健康状態、心身機能・身体構造、活動、参加、環境因子、個人因子の6つのカテゴリーのうちの一つに属する複数のICF項目から少なくとも一つの第1項目の指定を受け付ける受付部と、予め策定された複数のICF項目間の相互関係に基づいて、複数のICF項目から第1項目に関連する少なくとも1つの第2項目を抽出する抽出部と、第1項目と第2項目を関連付けて表示部に表示させる表示制御部とを備える。
【0008】
このように、利用者が指定するICF項目に関連する他のICF項目を互いに関連付けて表示部に表示するので、例えば介護経験の浅い利用者であっても被検者にヒアリングすべき事項を適切に把握できたり、被検者の回答の妥当性を判断したりすることができる。そして、ICF項目間の関連性を理解することにより、被検者の状態を全体的に俯瞰してその良否を適切に見極めることができる。例えば、介護経験の浅い利用者であっても、被検者の状態に課題を発生させる阻害因子や、逆に課題の改善や障害の軽減に繋がる促進因子などの分析において新たな示唆を与えることが期待でき、被検者の状態の見極めを支援することができる。また、ICF項目間の相互関係は、例えば検査者が所属する組織等が体系的に蓄積したICF項目間の相互関係を集約して策定したデータベース等によって規定されていることから、客観性が担保されると共に、当該組織等の経験の積み重ねによって更新されて、その正確性が経時的に向上することも期待できる。
【0009】
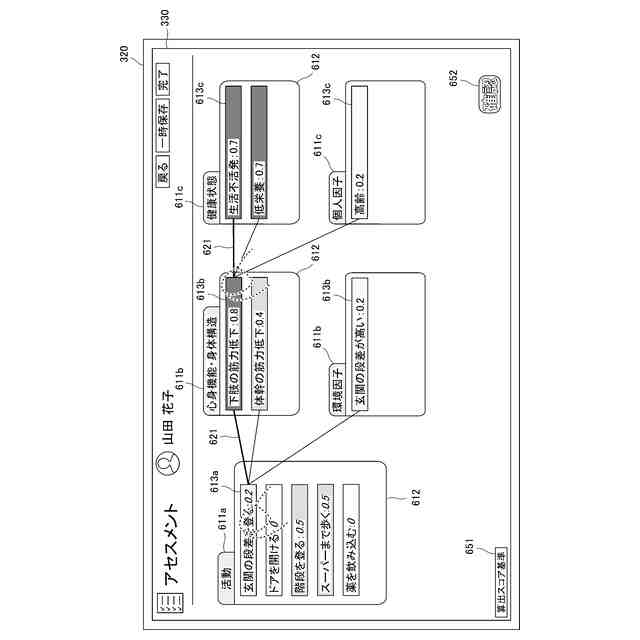
上記の分析支援装置において、表示制御部は、相互関係として規定された関連度に応じて第1項目と第2項目の関連性を表示させてもよい。このように表示することにより、利用者は、抽出されたICF項目間の関連の強さも認識することができる。
【0010】
また、抽出部は、第2項目を6つのカテゴリーのうち第1項目が属する第1カテゴリーとは異なるカテゴリーに属する複数のICF項目から抽出するようにしてもよい。あるICF項目と、異なるカテゴリーに属するICF項目との関連性は、利用者にとって特に把握が難しいので、抽出部によるこのような制限は、利用者の様々な要望に応えるものとなり得る。例えば、被検者が高齢者である場合に、身体の機能障害のような直接的なICF項目と、間接的な因子となり得る趣味趣向や住宅環境のICF項目がどのように関係しているのかを、より直感的に理解することができる。また、表示制御部は、第1項目と第2項目を、それぞれが属するカテゴリーと共に表示部に表示させてもよい。カテゴリーも併せて表示すれば、利用者による把握を促進することが期待できる。
(【0011】以降は省略されています)
この特許をJ-PlatPat(特許庁公式サイト)で参照する
関連特許
オムロン株式会社
電磁継電器
26日前
オムロン株式会社
発光エンブレム
18日前
オムロン株式会社
センサシステム
7日前
オムロン株式会社
センサシステム
7日前
オムロン株式会社
センサシステム
7日前
オムロン株式会社
サーボドライバ
18日前
オムロン株式会社
システム及び方法
7日前
オムロン株式会社
システム及び方法
7日前
オムロン株式会社
パワーコンディショナ
28日前
オムロン株式会社
電力システム及び制御装置
28日前
オムロン株式会社
監視装置、監視方法及びプログラム
11日前
オムロン株式会社
情報処理システムおよび情報処理方法
25日前
オムロン株式会社
制御装置、制御方法、及び制御プログラム
25日前
オムロン株式会社
画像処理装置、画像処理方法及びプログラム
25日前
オムロン株式会社
処理装置、処理方法、および処理プログラム
21日前
オムロン株式会社
処理装置、処理方法、および処理プログラム
21日前
オムロン株式会社
管理システム、管理方法及び管理プログラム
11日前
オムロン株式会社
モデル生成方法、推論プログラム及び推論装置
18日前
オムロン株式会社
制御装置、情報処理方法および情報処理プログラム
25日前
オムロン株式会社
感震センサおよび地震検知方法、地震検知プログラム
13日前
オムロン株式会社
物体検出装置、物体検出方法、および制御プログラム
18日前
オムロン株式会社
感震センサおよび地震検知方法、地震検知プログラム
7日前
オムロン株式会社
感震センサおよび地震検知方法、地震検知プログラム
8日前
オムロン株式会社
情報処理装置、情報処理方法及び情報処理プログラム
7日前
オムロン株式会社
感震センサおよび地震検知方法、地震検知プログラム
7日前
オムロン株式会社
情報処理装置、情報処理方法及び情報処理プログラム
7日前
オムロン株式会社
感震センサおよび地震検知方法、地震検知プログラム
7日前
オムロン株式会社
雨滴検出装置、雨滴検出方法および雨滴検出プログラム
1か月前
オムロン株式会社
走行制御装置、走行制御方法、及び走行制御プログラム
1か月前
オムロン株式会社
表示制御装置、表示制御方法および表示制御プログラム
20日前
オムロン株式会社
オドメトリパラメータ較正装置、方法、及びプログラム
25日前
オムロン株式会社
設計支援方法、設計支援装置、プログラム、及び記録媒体
26日前
オムロン株式会社
混雑制御システム、混雑制御方法及び混雑制御プログラム
8日前
オムロン株式会社
信頼度マップ作成方法、自己位置決定方法、装置、及びプログラム
25日前
オムロン株式会社
入出場管理システム、入出場管理方法、及び入出場管理プログラム
26日前
オムロン株式会社
分析支援装置、分析支援方法、分析支援プログラムおよび分析支援端末
25日前
続きを見る
他の特許を見る