TOP
|
特許
|
意匠
|
商標
特許ウォッチ
Twitter
他の特許を見る
10個以上の画像は省略されています。
公開番号
2025137868
公報種別
公開特許公報(A)
公開日
2025-09-22
出願番号
2024036415
出願日
2024-03-09
発明の名称
情報処理装置及びプログラム
出願人
有限会社ひなたぼっこ さと
代理人
個人
主分類
G16H
50/00 20180101AFI20250912BHJP(特定の用途分野に特に適合した情報通信技術)
要約
【課題】既存のビデオ通話サービスと他の既存のサービスを用いて、それらのサービスを統合した、使いやすいシステムを提供すること。
【解決手段】第一情報処理装置、第二情報処理装置及び第三情報処理装置と通信し、第一情報処理装置、第二情報処理装置及び第三情報処理装置へのログイン動作を自動的に行う、自動認証手段を有し、主領域と切り替え部とを備える表示領域を表示手段に表示する情報処理装置であって、第一情報処理装置はビデオ通話を提供し、主領域は、第一領域、第二領域又は第三領域であり、切り替え部は、第一タブ、第二タブ及び第三タブを備え、第一タブ、第二タブ及び第三タブのうち、いずれか1のタブが選択されることにより、選択されたタブに対応する第一領域、第二領域又は第三領域を主領域とすることを特徴とする、情報処理装置。
【選択図】図5
特許請求の範囲
【請求項1】
第一情報処理装置、第二情報処理装置及び第三情報処理装置と通信し、
前記第一情報処理装置、前記第二情報処理装置及び前記第三情報処理装置へのログイン動作を自動的に行う、自動認証手段を有し、
主領域と切り替え部とを備える表示領域を表示手段に表示する情報処理装置であって、
前記第一情報処理装置はビデオ通話を提供し、
前記主領域は、第一領域、第二領域又は第三領域であり、
前記切り替え部は、第一タブ、第二タブ及び第三タブを備え、
前記第一タブは、前記第一領域に対応し、
前記第二タブは、前記第二領域に対応し、
前記第三タブは、前記第三領域に対応し、
前記第一領域は、前記第一情報処理装置との通信内容を表し、
前記第二領域は、前記第二情報処理装置との通信内容を表し、
前記第三領域は、前記第三情報処理装置との通信内容を表し、
前記第一タブ、前記第二タブ及び前記第三タブのうち、いずれか1のタブが選択されることにより、選択されたタブに対応する領域を前記主領域とすることを特徴とする、
情報処理装置。
続きを表示(約 900 文字)
【請求項2】
前記第二情報処理装置は前記ビデオ通話の音声を文字に変換し、
前記第三情報処理装置は少なくとも以下の(1)から(3)のうちいずれか一つであり、
(1)前記第三情報処理装置を介してクラウド上の電子帳票へのデータの入力をするために用いられる、
(2)クラウド上の電子帳票へのデータの入力をする、
(3)クラウド上の電子帳票へのデータの入力を支援する、
前記第一領域は前記ビデオ通話に用いられ、通話相手の映像を表示し、
前記第二領域は前記ビデオ通話の前記音声を文字に変換したものを表示し、
前記第三領域は前記電子帳票への前記データの入力のために用いられる、
ことを特徴とする請求項1に記載の情報処理装置。
【請求項3】
第一情報処理装置、第二情報処理装置及び第三情報処理装置と通信する機能と、
前記第一情報処理装置、前記第二情報処理装置及び前記第三情報処理装置へのログイン動作を自動的に行う機能と、
主領域と切り替え部とを備える表示領域を表示手段に表示する機能と、を
情報処理装置に実現させることを特徴とするプログラムであって、
前記第一情報処理装置はビデオ通話を提供し、
前記主領域は、第一領域、第二領域又は第三領域であり、
前記切り替え部は、第一タブ、第二タブ及び第三タブを備え、
前記第一タブは、前記第一領域に対応し、
前記第二タブは、前記第二領域に対応し、
前記第三タブは、前記第三領域に対応し、
前記第一領域は、前記第一情報処理装置との通信内容を表し、
前記第二領域は、前記第二情報処理装置との通信内容を表し、
前記第三領域は、前記第三情報処理装置との通信内容を表し、
前記第一タブ、前記第二タブ及び前記第三タブのうち、いずれか1のタブが選択されることにより、
選択されたタブに対応する領域を前記主領域とする機能を前記情報処理装置に実現させることを特徴とする、
プログラム。
発明の詳細な説明
【技術分野】
【0001】
本発明は、情報処理装置及びプログラムに係るものである。
続きを表示(約 2,500 文字)
【背景技術】
【0002】
高齢化社会に伴い効率的な看護の仕組みが求められている。しかし、特許文献1記載の技術では看護師が患者宅を訪問することを前提としており、看護師の負担が高い。ビデオ通話やITを使って、看護師が在宅で対応できる仕組みの提供が望まれる。
【先行技術文献】
【特許文献】
【0003】
特開2016-057716公報
【発明の概要】
【発明が解決しようとする課題】
【0004】
既存のビデオ通話サービスと他の既存のサービスを用いて、それらのサービスを統合した、使いやすいシステムを提供することを目的とする。
【課題を解決するための手段】
【0005】
本発明の課題は、
[1]第一情報処理装置(200)、第二情報処理装置(300)及び第三情報処理装置(400)と通信し、第一情報処理装置(200)、第二情報処理装置(300)及び第三情報処理装置(400)へのログイン動作を自動的に行う、自動認証手段(1)を有し、主領域(21)と切り替え部(22)とを備える表示領域(2)を表示手段(101)に表示する情報処理装置(100)であって、第一情報処理装置(200)はビデオ通話を提供し、主領域(21)は、第一領域(211)、第二領域(212)又は第三領域(213)であり、切り替え部(22)は、第一タブ(221)、第二タブ(222)及び第三タブ(223)を備え、第一タブ(221)は、第一領域(211)に対応し、第二タブ(222)は、第二領域(212)に対応し、第三タブ(223)は、第三領域(213)に対応し、第一領域(211)は、第一情報処理装置(200)との通信内容を表し、第二領域(212)は、第二情報処理装置(300)との通信内容を表し、第三領域(213)は、第三情報処理装置との通信内容(2131)を表し、第一タブ(221)、第二タブ(222)及び第三タブ(223)のうち、いずれか1のタブが選択されることにより、選択されたタブ(224)に対応する領域を主領域(21)とすることを特徴とする、情報処理装置(100);
【0006】
[2]第一情報処理装置(200)、第二情報処理装置(300)及び第三情報処理装置(400)と通信する機能と、第一情報処理装置(200)、第二情報処理装置(300)及び第三情報処理装置(400)へのログイン動作を自動的に行う機能と、主領域(21)と切り替え部(22)とを備える表示領域(2)を表示手段(101)に表示する機能と、を情報処理装置(100)に実現させることを特徴とするプログラムであって、第一情報処理装置(200)はビデオ通話を提供し、主領域(21)は、第一領域(211)、第二領域(212)又は第三領域(213)であり、切り替え部(22)は、第一タブ(221)、第二タブ(222)及び第三タブ(223)を備え、第一タブ(221)は、第一領域(211)に対応し、第二タブ(222)は、第二領域(212)に対応し、第三タブ(223)は、第三領域(213)に対応し、第一領域(211)は、第一情報処理装置(200)との通信内容を表し、第二領域(212)は、第二情報処理装置(300)との通信内容を表し、第三領域(213)は、第三情報処理装置との通信内容(2131)を表し、第一タブ(221)、第二タブ(222)及び第三タブ(223)のうち、いずれか1のタブが選択されることにより、選択されたタブ(224)に対応する領域を主領域(21)とする機能を情報処理装置(100)に実現させることを特徴とする、プログラム;
により解決することができる。
【発明の効果】
【0007】
既存のビデオ通話サービスと他の既存のサービスを用いて、それらのサービスを統合した、使いやすいシステムを提供することができる。
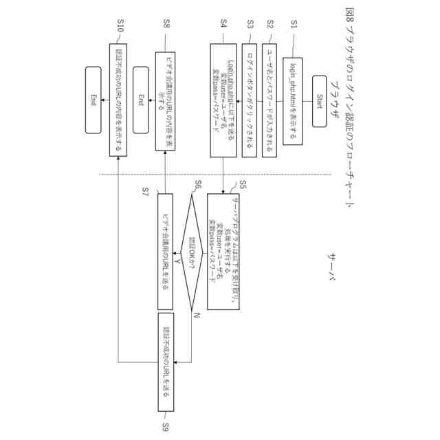
【図面の簡単な説明】
【0008】
全体フロー
独自開発システム ソフトウェア作業フロー
従来の問題点
独自開発 ホームDEナース ソフトウェア
システム概要
表示領域
ログイン画面
ブラウザのログイン認証のフローチャート
アプリケーションのログイン認証のフローチャート
【発明を実施するための形態】
【0009】
以下、本発明の情報処理装置100及びプログラムにおける好適な実施の形態について、図1から図9を参照して詳細に説明する。
(1)実施形態の概要
図1から図4を参照して説明する。
名称:ホームDEナース システム
背景:
図1は全体フローである。
日本初、完全オンラインで専属看護師がご利用者様が抱える健康上の不安や疑問に対して、日常生活の中で実践できる具体的なアドバイスを提供している。
図3は従来の問題点である。
従来:
オンライン形式で、ビデオチャットツールを使いながら、健康相談のほかにアセスメントシート(健康管理記録表)の作成、議事録を作成している。
【0010】
問題点:
(a)在宅でご利用者様にアドバイスするしくみが使いづらい
画面が重なってしまい、ビデオチャットツール上でご利用者様のご様子を見ながら議事録を記入することが困難
(b)ブラウザを誤って閉じてしまう恐れ
複数ブラウザがあるため、画面遷移するときに誤ってブラウザを閉じてしまい
セッションに支障をきたす恐れがある
(c)3つのクラウドサービスを毎回立ち上げるのが大変
ビデオチャットツール、電子帳票、文字起こしツール(議事録用)の3つの
サービスを毎回立ち上げてから作業しているため、作業が煩雑になっている
(【0011】以降は省略されています)
特許ウォッチbot のツイートを見る
この特許をJ-PlatPat(特許庁公式サイト)で参照する
関連特許
個人
医療のAI化
2か月前
個人
通知ぬいぐるみAIシステム
2か月前
キラル株式会社
ヘルスケアシステム
29日前
キラル株式会社
ヘルスケアシステム
29日前
株式会社タカゾノ
薬剤秤量装置
21日前
株式会社リコー
投薬管理システム
2か月前
TOTO株式会社
健康管理システム
1か月前
個人
診療の管理装置及び診療システム
3か月前
株式会社イシダ
受付端末装置
22日前
株式会社ユニオン
健康関連情報管理装置
1日前
ギジン株式会社
情報分析装置および情報分析方法
8日前
大和ハウス工業株式会社
服薬推定システム
1か月前
歯っぴー株式会社
口内状態の画像診断方法
3か月前
キラル株式会社
プログラムの提供システムおよびその方法
1か月前
株式会社SECRET MEDICINE
管理装置
2か月前
株式会社サンクスネット
健康医療情報管理システム
3か月前
キラル株式会社
心理療法を提供するシステムおよびその方法
29日前
キラル株式会社
心理療法を提供するシステムおよびその方法
29日前
大和ハウス工業株式会社
健康リスク推定システム
2か月前
公立大学法人横浜市立大学
プログラム及び情報処理装置
3か月前
富士通株式会社
異常予測方法および異常予測プログラム
2か月前
有限会社ひなたぼっこ さと
情報処理装置及びプログラム
1か月前
アイシンクメディカル株式会社
測定機器監視システム
1か月前
株式会社日立製作所
受診支援装置および方法
2か月前
花王株式会社
情報処理システム
2か月前
TOTO株式会社
トイレシステム
1か月前
花王株式会社
情報処理システム
2か月前
NeoX株式会社
調剤書類監査装置
3か月前
株式会社明治
機能推定装置
2か月前
株式会社ヴァイタス
情報処理装置
2か月前
株式会社トプコン
眼科システム及び端末装置
2か月前
TOTO株式会社
健康管理システム
1か月前
KDDI株式会社
情報処理装置及び情報処理方法
1か月前
住友ゴム工業株式会社
モデリング方法
1か月前
個人
医療機関と医療従事者とのマッチングのための情報処理システム
1か月前
横浜ゴム株式会社
化学計算モデル分子の作成方法
1か月前
続きを見る
他の特許を見る