TOP
|
特許
|
意匠
|
商標
特許ウォッチ
Twitter
他の特許を見る
公開番号
2025170466
公報種別
公開特許公報(A)
公開日
2025-11-19
出願番号
2024075042
出願日
2024-05-07
発明の名称
健康関連情報管理装置
出願人
株式会社ユニオン
代理人
個人
,
個人
主分類
G16H
50/30 20180101AFI20251112BHJP(特定の用途分野に特に適合した情報通信技術)
要約
【課題】常日頃に自分の健康に関する様々な情報を収集することができる健康関連情報管理装置を提供する。
【解決手段】
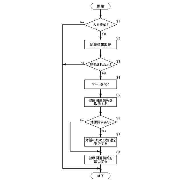
健康関連情報管理装置は、自動開閉可能であり、施設内部と外部とを仕切る仕切手段10と、仕切手段10を介し施設等の内部に出入りする人の視覚的特徴を示す認証情報を非接触にて取得する認証情報取得手段20と、取得された認証情報によって示される視覚的特徴が、予め登録されている視覚的特徴と一致するとき、開くように仕切手段10に指示を発する制御手段30と、仕切手段10を介し施設等の内部に出入りする人の健康状態に関する健康関連情報を非接触にて取得する健康関連情報取得手段40と、一定の期間にわたって健康関連情報取得手段によって取得される健康関連情報を蓄積する蓄積手段50と、蓄積手段50によって蓄積される健康関連情報を出力する出力手段60とを具備する。
【選択図】図1
特許請求の範囲
【請求項1】
自動開閉可能であり、施設等の内部と外部とを仕切る仕切手段(10)と、
前記仕切手段(10)を介し前記施設等の内部に出入りする人の視覚的特徴を示す認証情報を非接触にて取得する認証情報取得手段(20)と、
前記取得された前記認証情報によって示される前記視覚的特徴が、予め登録されている視覚的特徴と一致するとき、開くように前記仕切手段(10)に指示を発する制御手段(30)と、
前記仕切手段(10)を介し前記施設等の内部に出入りする前記人の健康状態に関する健康関連情報を非接触にて取得する健康関連情報取得手段(40)と、
一定の期間にわたって前記健康関連情報取得手段によって取得される前記健康関連情報を蓄積する蓄積手段(50)と、
前記蓄積手段(50)によって蓄積される前記健康関連情報を出力する出力手段(60)
とを具備する健康管理装置。
続きを表示(約 140 文字)
【請求項2】
前記出力手段(60)は、前記蓄積手段(50)によって蓄積される前記健康関連情報をグラフ、又は表として出力する、請求項1に記載の健康管理装置。
【請求項3】
前記制御手段(30)は、対話型AIを含む、請求項1又は請求項2に記載の健康管理装置。
発明の詳細な説明
【技術分野】
【0001】
本発明は、健康関連情報管理装置に関し、例えば、建物の出入口に設置され、建物に出入りする人の健康に関する情報を収集し、管理する健康関連情報管理装置に関する。
続きを表示(約 1,500 文字)
【背景技術】
【0002】
例えば建物の出入口に設置され、人の健康に関する情報を収集する装置として、特許文献1には、建物の出入口において体温測定を行うとともに、個人認証を行い、登録された個人であり、且つ所定の体温以下の人にだけ建物に入ることを許可する認証装置が記載されている。特許文献1に記載の認証装置によれば、発熱を伴うような感染症に感染した疑いのある人を例えば建物に入れないようにすることができる。
【先行技術文献】
【特許文献】
【0003】
特開2012-219539号公報
【発明の概要】
【発明が解決しようとする課題】
【0004】
近年、いわゆる平均寿命とともに、健康寿命が注目を集めている。健康寿命は、「健康上の問題で日常生活が制限されることなく生活できる期間」と定義されるものであり、日本人の平均寿命と健康寿命との差異は10年前後とされる。平均寿命と健康寿命との差異が小さければ小さいほど、人生において健康体のままで生活できる期間は長くなり、平均寿命だけではなく健康寿命を長くするための取り組みが推奨される所以となっている。
【0005】
健康は、日常の生活習慣によって形成されるものであり、体を健康に保つことは健康寿命を延ばす上で重要である。また、疾病の罹患および重症化は、日常生活に支障をきたし、健康寿命を縮める原因ともなり得る。従って、年に一回程度の健康診断だけではなく、常日頃に自分の健康に関する様々な情報を収集できるようにすることは、健康寿命を長くするために有効である。
【0006】
本発明は、上記課題に鑑みてなされたものであり、その目的は、常日頃に自分の健康に関する様々な情報を収集することができる健康関連情報管理装置を提供することにある。
【課題を解決するための手段】
【0007】
本願に開示する健康関連情報管理装置は、仕切手段(10)と、認証情報取得手段(20)と、制御手段(30)と、健康関連情報取得手段(40)と、蓄積手段(50)と、出力手段(60)とを具備する。前記仕切手段(10)は、自動開閉可能であり、施設等の内部と外部とを仕切る。前記認証情報取得手段(20)は、前記仕切手段(10)を介し前記施設内部に出入りする人の視覚的特徴を示す認証情報を非接触にて取得する。前記制御手段(30)は、前記取得された前記認証情報によって示される前記視覚的特徴が、予め登録されている視覚的特徴と一致するとき、開くように前記仕切手段(10)に指示を発する。前記健康関連情報取得手段(40)は、前記仕切手段(10)を介し前記施設等の内部に出入りする前記人の健康状態に関する健康関連情報を非接触にて取得する。前記蓄積手段(50)は、一定の期間にわたって前記健康関連情報取得手段によって取得される前記健康関連情報を蓄積する。前記出力手段(60)は、前記蓄積手段(50)によって蓄積される前記健康関連情報を出力する。
【0008】
本願に開示する健康関連情報管理装置において、前記出力手段(60)は、前記蓄積手段(50)によって蓄積される前記健康関連情報をグラフ化、又は表にして出力する。
【0009】
本願に開示する健康関連情報管理装置において、前記制御手段(30)は、対話型AIを含む。
【発明の効果】
【0010】
本発明に係る健康関連情報管理装置によれば、常日頃に自分の健康に関する様々な情報を収集することができる。
【図面の簡単な説明】
(【0011】以降は省略されています)
この特許をJ-PlatPat(特許庁公式サイト)で参照する
関連特許
個人
医療のAI化
3か月前
個人
支援システム
6か月前
個人
管理装置
6か月前
個人
対話システム
6か月前
個人
通知ぬいぐるみAIシステム
3か月前
キラル株式会社
ヘルスケアシステム
1か月前
キラル株式会社
ヘルスケアシステム
1か月前
株式会社タカゾノ
薬剤秤量装置
4か月前
株式会社タカゾノ
薬剤秤量装置
4か月前
キヤノン株式会社
情報処理装置
21日前
株式会社タカゾノ
薬剤秤量装置
4か月前
株式会社タカゾノ
薬剤秤量装置
6か月前
株式会社タカゾノ
薬剤秤量装置
1か月前
株式会社タカゾノ
薬剤秤量装置
4か月前
株式会社タカゾノ
情報処理装置
13日前
株式会社タカゾノ
情報処理装置
13日前
株式会社タカゾノ
薬剤秤量装置
4か月前
株式会社リコー
投薬管理システム
3か月前
TOTO株式会社
健康管理システム
2か月前
ゾーン株式会社
コンピュータシステム
7か月前
株式会社ケアコム
看護必要度分析装置
21日前
個人
診療の管理装置及び診療システム
4か月前
株式会社M-INT
情報処理システム
7か月前
株式会社サンクスネット
情報提供システム
6か月前
株式会社CureApp
プログラム
5か月前
有限会社ビルケ
問診システム及び問診用端末
8日前
株式会社サンクスネット
アンケートシステム
13日前
株式会社イシダ
受付端末装置
1か月前
株式会社ミラボ
情報処理装置、及びプログラム
4か月前
株式会社 137
健康観察管理システム
6か月前
株式会社ユニオン
健康関連情報管理装置
22日前
株式会社エフアンドエフ
団体健康管理システム
今日
ギジン株式会社
情報分析装置および情報分析方法
29日前
株式会社タカゾノ
薬剤秤量装置及び調剤システム
6か月前
西川株式会社
サービス出力システム
6か月前
大和ハウス工業株式会社
服薬推定システム
2か月前
続きを見る
他の特許を見る