TOP
|
特許
|
意匠
|
商標
特許ウォッチ
Twitter
他の特許を見る
10個以上の画像は省略されています。
公開番号
2025174479
公報種別
公開特許公報(A)
公開日
2025-11-28
出願番号
2024080879
出願日
2024-05-17
発明の名称
情報処理装置
出願人
株式会社タカゾノ
代理人
個人
主分類
G16H
40/00 20180101AFI20251120BHJP(特定の用途分野に特に適合した情報通信技術)
要約
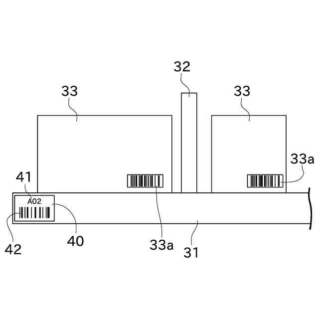
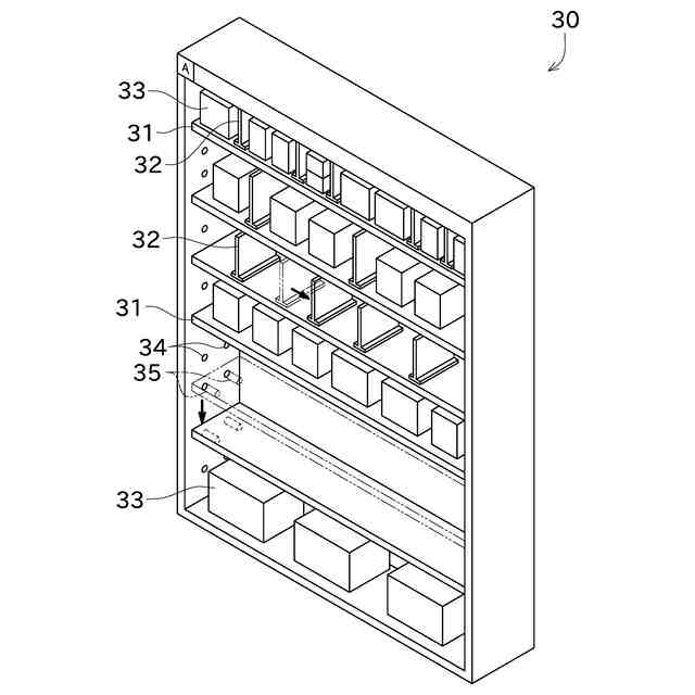
【課題】薬剤の位置に関する情報と薬剤を特定する情報とを表示する表示体を、コンパクトかつ取扱い性が良好な態様で作成可能な情報処理装置を提供する。
【解決手段】位置登録システム1において、情報処理装置は、情報を表示する表示体を作成する作成装置である印刷装置に接続される。情報処理装置は、登録部と、作成指示部と、を備える。登録部は、薬剤の種類を特定するための薬剤特定情報と、薬剤の保管位置を示す薬剤位置情報と、を対応付けた薬剤位置データベースを作成又は更新する。作成指示部は、登録部によって薬剤位置データベースの薬剤位置情報が登録された場合に、登録された薬剤位置情報と、当該薬剤位置情報に対応する薬剤特定情報と、の両方を表示する薬剤表示体の作成を作成装置に指示して、当該薬剤表示体を作成装置に作成させる。
【選択図】図1
特許請求の範囲
【請求項1】
情報を表示する表示体を作成する作成装置に接続される情報処理装置において、
薬剤の種類を特定するための薬剤特定情報と、前記薬剤の保管位置を示す薬剤位置情報と、を対応付けた薬剤位置データベースを作成又は更新する登録部と、
前記登録部によって前記薬剤位置データベースの前記薬剤位置情報が登録された場合に、登録された前記薬剤位置情報と、当該薬剤位置情報に対応する前記薬剤特定情報と、の両方を表示する薬剤表示体の作成を前記作成装置に指示して、当該薬剤表示体を前記作成装置に作成させる作成指示部と、
を備えることを特徴とする情報処理装置。
続きを表示(約 560 文字)
【請求項2】
請求項1に記載の情報処理装置であって、
前記作成指示部は、前記登録部によって前記薬剤位置情報が前記薬剤位置データベースに登録された場合に、前記薬剤位置情報が登録された薬剤に関して登録記録情報を記憶し、
前記作成指示部は、前記登録記録情報に基づいて、前記薬剤表示体を前記作成装置に作成させることを特徴とする情報処理装置。
【請求項3】
請求項1に記載の情報処理装置であって、
前記作成指示部は、前記登録部によって前記薬剤位置情報が前記薬剤位置データベースに登録された場合に、前記薬剤位置情報が登録された薬剤に関して登録記録情報を記憶し、
前記作成指示部は、前記薬剤位置情報が前記薬剤位置データベースから削除された場合に、前記薬剤位置情報が削除された薬剤に関して前記登録記録情報を削除し、
前記作成指示部は、前記登録記録情報に基づいて、前記薬剤表示体を前記作成装置に作成させることを特徴とする情報処理装置。
【請求項4】
請求項2又は3に記載の情報処理装置であって、
前記作成指示部は、前記薬剤表示体を前記作成装置に作成させた場合に、前記薬剤表示体が作成された薬剤に関して前記登録記録情報を削除することを特徴とする情報処理装置。
発明の詳細な説明
【技術分野】
【0001】
本発明は、主として、薬剤に関する情報を表示する表示体を作成する作成装置に接続される情報処理装置に関する。
続きを表示(約 1,500 文字)
【背景技術】
【0002】
特許文献1は、コードリーダと端末装置を備える医薬品入庫業務支援システムを開示する。コードリーダは、医薬品の包装に付されているコードを読み取る。端末装置は、医薬品の収納場所の候補を提示して、ユーザの操作を受け付ける。端末装置は、ユーザの操作により選択された収納場所と医薬品とを関連付けてデータベースを登録する。
【先行技術文献】
【特許文献】
【0003】
特開2022-98543号公報
【発明の概要】
【発明が解決しようとする課題】
【0004】
特許文献1における収納場所は、薬剤(医薬品)を保管する位置であるため、保管位置に相当する。データベースを登録することにより、例えば調剤時において所定の薬剤が指定された場合に、所定の薬剤の保管位置を把握できる。しかし、データベース上に登録された保管位置が示されるだけでは、調剤作業者は実際の保管位置を容易に特定できない可能性がある。仮に、薬剤の位置に関する情報を表示する表示体と、薬剤を特定する情報を表示する表示体と、を個別に作成してそれぞれ保管位置に個別に設ける場合、表示体を設けるスペースが足りなかったり、表示体の取扱いが手間になったりする可能性がある。
【0005】
本発明は以上の事情に鑑みてされたものであり、その主要な目的は、薬剤の位置に関する情報と薬剤を特定する情報とを表示する表示体を、コンパクトかつ取扱い性が良好な態様で作成可能な情報処理装置を提供することにある。
【発明の概要】
課題を解決するための手段及び効果
【0006】
本発明の解決しようとする課題は以上の如くであり、次にこの課題を解決するための手段とその効果を説明する。
【0007】
本発明の観点によれば、以下の構成の情報処理装置が提供される。即ち、情報処理装置は、情報を表示する表示体を作成する作成装置に接続される。情報処理装置は、登録部と、作成指示部と、を備える。前記登録部は、薬剤の種類を特定するための薬剤特定情報と、前記薬剤の保管位置を示す薬剤位置情報と、を対応付けた薬剤位置データベースを作成又は更新する。前記作成指示部は、前記登録部によって前記薬剤位置データベースの前記薬剤位置情報が登録された場合に、登録された前記薬剤位置情報と、当該薬剤位置情報に対応する前記薬剤特定情報と、の両方を表示する薬剤表示体の作成を前記作成装置に指示して、当該薬剤表示体を前記作成装置に作成させる。
【0008】
これにより、薬剤位置情報と薬剤特定情報の両方を表示する薬剤表示体を作成できるので、これらの情報を表示する表示体を個別に作成する場合と比較して、薬剤表示体がコンパクトになり易く、薬剤表示体の取扱いが容易になり易い。
【0009】
前記の情報処理装置においては、以下の構成とすることが好ましい。即ち、前記作成指示部は、前記登録部によって前記薬剤位置情報が前記薬剤位置データベースに登録された場合に、前記薬剤位置情報が登録された薬剤に関して登録記録情報を記憶する。前記作成指示部は、前記登録記録情報に基づいて、前記薬剤表示体を前記作成装置に作成させる。
【0010】
これにより、薬剤位置情報が登録された薬剤に関して登録記録情報を記憶しておけるので、薬剤位置情報が登録された薬剤の薬剤表示体を後からまとめて作成できる。
(【0011】以降は省略されています)
この特許をJ-PlatPat(特許庁公式サイト)で参照する
関連特許
株式会社タカゾノ
情報処理装置
今日
株式会社タカゾノ
情報処理装置
今日
株式会社タカゾノ
薬剤秤量装置
29日前
株式会社タカゾノ
位置登録システム及び位置登録方法
今日
株式会社タカゾノ
薬剤包装装置
1か月前
株式会社タカゾノ
薬剤供給装置
1か月前
株式会社タカゾノ
薬剤供給システム
1か月前
個人
医療のAI化
2か月前
個人
支援システム
6か月前
個人
管理装置
5か月前
個人
対話システム
5か月前
個人
通知ぬいぐるみAIシステム
2か月前
キラル株式会社
ヘルスケアシステム
1か月前
キラル株式会社
ヘルスケアシステム
1か月前
株式会社タカゾノ
薬剤秤量装置
5か月前
キヤノン株式会社
情報処理装置
8日前
株式会社タカゾノ
薬剤秤量装置
4か月前
株式会社タカゾノ
薬剤秤量装置
4か月前
株式会社タカゾノ
薬剤秤量装置
4か月前
株式会社タカゾノ
薬剤秤量装置
4か月前
株式会社タカゾノ
薬剤秤量装置
4か月前
株式会社タカゾノ
薬剤秤量装置
29日前
株式会社タカゾノ
情報処理装置
今日
株式会社タカゾノ
情報処理装置
今日
株式会社リコー
投薬管理システム
2か月前
TOTO株式会社
健康管理システム
1か月前
株式会社ケアコム
看護必要度分析装置
8日前
個人
診療の管理装置及び診療システム
4か月前
ゾーン株式会社
コンピュータシステム
7か月前
株式会社M-INT
情報処理システム
7か月前
株式会社CureApp
プログラム
4か月前
株式会社サンクスネット
情報提供システム
6か月前
株式会社サンクスネット
アンケートシステム
今日
株式会社ユニオン
健康関連情報管理装置
9日前
株式会社ミラボ
情報処理装置、及びプログラム
4か月前
株式会社 137
健康観察管理システム
6か月前
続きを見る
他の特許を見る