TOP
|
特許
|
意匠
|
商標
特許ウォッチ
Twitter
他の特許を見る
10個以上の画像は省略されています。
公開番号
2025080965
公報種別
公開特許公報(A)
公開日
2025-05-27
出願番号
2023194388
出願日
2023-11-15
発明の名称
健康観察管理システム
出願人
株式会社 137
代理人
個人
,
個人
主分類
G16H
50/30 20180101AFI20250520BHJP(特定の用途分野に特に適合した情報通信技術)
要約
【課題】管理者が管理対象者の感情情報を任意に取得し、より正確な管理対象者の感情状態を可視化して管理対象者の心の健康観察を行う健康観察管理システムを提供する。
【解決手段】健康観察管理システム100は、ユーザ端末から、管理対象者ID及び音声データを含む管理対象者情報を受信する情報受信部と、前記音声データを分析サーバに対して送信する音声データ送信部と、感情情報を分析サーバから受信する感情情報受信部と、前記感情情報を管理対象者IDに対応づけて記憶する感情情報記憶部と、管理者端末から、感情情報を表示する第一表示情報の送信要求を前記管理対象者IDと共に受信する第一送信要求受信部と、送信要求と共に受信した前記管理対象者IDと対応づけて記憶された感情情報を表示するための第一表示情報を管理者端末に送信する第一表示情報送信部と、を備える。感情情報は、複数の項目で構成されている。
【選択図】図2
特許請求の範囲
【請求項1】
複数の管理対象者が所属する組織において、前記複数の管理対象者を管理する管理者が前記管理対象者の感情状態を把握するための健康観察管理システムであって、
前記健康観察管理システムは、
前記管理対象者のユーザ端末から、前記組織に所属する複数の管理対象者から特定の管理対象者を識別するための管理対象者ID及び前記管理対象者の発声に基づいて生成された音声データを含む管理対象者情報を受信する情報受信部と、
前記音声データから前記管理対象者の感情情報を生成するための分析サーバに対して、前記ユーザ端末から受信した前記音声データを送信する音声データ送信部と、
前記分析サーバに送信された前記音声データに基づいて生成された前記感情情報を前記分析サーバから受信する感情情報受信部と、
前記情報受信部により前記管理対象者情報を受信した日付と関連づけて、前記分析サーバから受信した前記感情情報を前記管理対象者情報に含まれる前記管理対象者IDに対応づけて記憶する感情情報記憶部と、
前記管理者の管理者端末から、特定の前記管理対象者の前記感情情報を表示するための第一表示情報の送信要求を前記管理対象者IDと共に受信する第一送信要求受信部と、
前記感情情報記憶部に記憶された前記管理対象者IDと前記感情情報との対応づけを参照し、前記送信要求と共に受信した前記管理対象者IDと対応づけて記憶された前記感情情報を表示するための前記第一表示情報を前記管理者端末に送信する第一表示情報送信部と、
を備え、
前記感情情報は、複数の項目で構成されていることを特徴とする健康観察管理システム。
続きを表示(約 2,100 文字)
【請求項2】
前記第一表示情報は、所定期間における各日付に対応した夫々の感情情報を並列的に表示することを特徴とする請求項1記載の健康観察管理システム。
【請求項3】
前記感情情報は、各項目に値が設定されていることを特徴とする請求項1記載の健康観察管理システム。
【請求項4】
前記第一表示情報は、前記感情情報をグラフィック表示することを特徴とする請求項3記載の健康観察管理システム。
【請求項5】
前記感情情報記憶部には、特定の前記管理対象者IDと各日付に対応した複数の感情情報とが対応づけて記憶されており、
前記第一表示情報は、各日付に対応した複数の感情情報を同時に表示することを特徴とする請求項1~4のいずれかに記載の健康観察管理システム。
【請求項6】
前記感情情報記憶部は、前記管理対象者IDと複数の前記管理対象者が属するグループのグループIDとの対応づけを記憶しており、
前記健康観察管理システムは、
前記複数の項目及び前記グループIDと紐づいた複数の前記管理対象者IDと対応づけて記憶された各項目の複数の値の合計値を含む前記グループごとの特定集計情報を表示する第二表示情報の送信要求を前記グループIDと共に前記管理者端末から受信する第二送信要求受信部と、
前記第二送信要求受信部による前記送信要求の受信を契機として、前記第二送信要求受信部が受信した前記グループIDに基づいて、前記感情情報記憶部に記憶された前記グループIDと対応づけて記憶された複数の前記管理対象者IDの感情情報を参照して前記特定集計情報を生成し、前記第二表示情報を前記管理者端末に送信する第二表示情報送信部と、
を更に有していることを特徴とする請求項3記載の健康観察管理システム。
【請求項7】
前記感情情報記憶部は、前記管理対象者IDと複数の前記管理対象者が属するグループのグループIDとの対応づけを記憶しており、
前記健康観察管理システムは、
前記複数の項目及び前記グループIDと紐づいた複数の前記管理対象者IDと対応づけて記憶されたにおける各項目の複数の値の合計値を含む前記グループごとの特定集計情報を前記組織で管理される複数のグループ別に表示するグループ別集計情報を表示する第三表示情報の送信要求を前記管理者端末から受信する第三送信要求受信部と、
前記感情情報記憶部に記憶された前記グループIDと対応づけて記憶された複数の前記管理対象者IDの感情情報を参照してグループ別集計情報を生成し、前記第三表示情報を前記管理者端末に送信する第三表示情報送信部と、
を更に有していることを特徴とする請求項3記載の健康観察管理システム。
【請求項8】
複数の前記項目及び複数の前記管理対象者IDに対応づけて記憶された各項目の複数の値の合計値を含む組織別集計情報を表示する第四表示情報の送信要求を受信する第四送信要求受信部と、
前記第四送信要求受信部による前記送信要求の受信を契機として、前記感情情報記憶部に記憶された前記管理対象者IDと前記感情情報との対応づけを参照して前記第四表示情報を生成し、前記第四表示情報を前記管理者端末に送信する第四表示情報送信部と、
を更に有することを特徴とする請求項3記載の健康観察管理システム。
【請求項9】
前記第四表示情報は、所定期間における複数の前記組織別集計情報を同時に表示することを特徴とする請求項8記載の健康観察管理システム。
【請求項10】
複数の管理対象者が所属する組織において、前記複数の管理対象者を管理する管理者が前記管理対象者の感情状態を把握するための健康観察管理システムであって、
前記健康観察管理システムは、
前記管理対象者のユーザ端末から、前記組織に所属する複数の管理対象者から特定の管理対象者を識別するための管理対象者ID及び前記管理対象者の発声に基づいて生成された音声データを含む管理対象者情報を受信する情報受信部と、
前記情報受信部による前記管理対象者情報の受信に起因して、前記管理対象者情報に含まれる前記音声データから前記管理対象者の感情情報を生成する感情分析部と、
前記情報受信部により前記管理対象者情報を受信した日付と関連づけて、前記解析部により生成された前記感情情報を前記管理対象者情報に含まれる前記管理対象者IDに対応づけて記憶する感情情報記憶部と、
前記管理者の管理者端末から、前記感情情報を表示するための表示情報の送信要求を前記管理対象者IDと共に受信する送信要求受信部と、
前記感情情報記憶部に記憶された前記管理対象者IDと前記感情情報との対応づけを参照し、前記送信要求と共に受信した前記管理対象者IDと対応づけて記憶された前記感情情報を表示するための前記表示情報を前記管理者端末に送信する表示情報送信部と、
を備えることを特徴とする健康観察管理システム。
発明の詳細な説明
【技術分野】
【0001】
本発明は、管理対象者の感情状態を把握するための健康観察管理システムに関する。
続きを表示(約 3,100 文字)
【背景技術】
【0002】
近年、災害やパンデミックとなるような感染症の増加などをはじめ、社会環境や生活環境の急激な変化に伴い、学校等において体調不良による欠席者が増加している。前記体調不良は必ずしも風邪等の身体的な不調を指すものとはいえず、前記体調不良の原因を解明すべく学校や会社等の組織に所属する個人の感情状態が重要視されている。前記感情状態は、児童生徒の学校生活や会社に属する従業員の職場生活に対して影響を与える場合がある。学校に通う児童生徒の場合は、同級生や他学年の児童生徒との人間関係や家庭環境等によって感情状態に悪影響を与える場合がある。また、会社に属する従業員の場合は、顧客対応、職務環境、職場内の人間関係やパワーハラスメント等によって感情状態に悪影響を与える場合がある。このように、組織に属する個人が抱える悩みによって感情状態に問題が発生する例は存在し、学校や職場等におけるトラブルを未然に防ぐべく、個人の感情状態を第三者が把握し、個人が抱える悩み等を早期に発見することが求められている。このような見地から、音声によって対象者の感情を把握して、その分析結果を会社の職務等に活かす発明が開示されている(特許文献1)。
【0003】
特許文献1に開示された発明は、音声による感情の把握を容易にすることができる音声感情認識システムである。音声感情認識システムは、保守作業を行う保守者が用いる保守者端末から指示音声を受け付けて、当該指示音声から保守者の感情を推定することができる。指示音声は一つの保守作業における複数の作業ごとに入力され、各作業別の感情情報が記憶される。前記音声感情認識システムは、発話者の感情情報を推定した後、当該感情情報の数値が閾値を超えている場合は管理者端末に対して異常状態にある発話者を特定する報知情報を送信する。これにより、保守者の感情情報を管理者に知らせることができる。また、管理サーバにおいては、保守作業状況一覧画面を表示することができる。当該保守作業状況一覧画面では、管理サーバが管理している複数の従業員の感情情報の一覧が表示されている。これにより、管理者は、会社に所属する従業員の感情情報を容易に把握することができる。
【先行技術文献】
【特許文献】
【0004】
特開2020-160246
【発明の概要】
【発明が解決しようとする課題】
【0005】
このように、対象者の発声から感情を読み取って、それを社会に活かすという思想はあるものの、人間が抱く感情は単一のものではなく、様々な要素の感情がある。そのため、組織に属する複数の個人の管理者は、各個人が抱く感情をより細分化された情報として把握できることが好ましく、その結果としてトラブルの未然防止を期待することができる。また、組織には複数の個人が所属することから、組織の中でグルーピングされた集団単位での感情情報の把握がトラブルの未然防止に役立つ場合もあり、管理者は様々な形で管理対象者の感情状態を把握することが求められている。
【課題を解決するための手段】
【0006】
本発明はこのような課題に鑑みなされたものであり、その目的とするところは、複数の管理対象者を管理する管理者が前記管理対象者の感情状態を把握するための健康観察管理システムであって、前記管理者が前記管理対象者の細分化された感情情報を任意に取得することができ、より正確な前記管理対象者の感情状態を可視化して前記管理対象者の心の健康観察を行うことができる健康観察管理システムを提供することにある。
【0007】
すなわち、本発明は、複数の管理対象者が所属する組織において、前記複数の管理対象者を管理する管理者が前記管理対象者の感情状態を把握するための健康観察管理システムであって、前記健康観察管理システムは、前記管理対象者のユーザ端末から、前記組織に所属する複数の管理対象者から特定の管理対象者を識別するための管理対象者ID及び前記管理対象者の発声に基づいて生成された音声データを含む管理対象者情報を受信する情報受信部と、前記音声データから前記管理対象者の感情情報を生成するための分析サーバに対して、前記ユーザ端末から受信した前記音声データを送信する音声データ送信部と、前記分析サーバに送信された前記音声データに基づいて生成された前記感情情報を前記分析サーバから受信する感情情報受信部と、前記情報受信部により前記管理対象者情報を受信した日付と関連づけて、前記分析サーバから受信した前記感情情報を前記管理対象者情報に含まれる前記管理対象者IDに対応づけて記憶する感情情報記憶部と、前記管理者の管理者端末から、特定の前記管理対象者の前記感情情報を表示するための第一表示情報の送信要求を前記管理対象者IDと共に受信する第一送信要求受信部と、前記感情情報記憶部に記憶された前記管理対象者IDと前記感情情報との対応づけを参照し、前記送信要求と共に受信した前記管理対象者IDと対応づけて記憶された前記感情情報を表示するための前記第一表示情報を前記管理者端末に送信する第一表示情報送信部と、を備え、前記感情情報は、複数の項目で構成されている。
【発明の効果】
【0008】
本発明の健康観察管理システムによれば、ユーザ端末から受信した音声データに基づいて管理対象者の感情情報が生成され、当該感情情報を感情情報記憶部に記憶することができる。管理者は、前記管理者端末を操作することで、前記健康観察管理システムに対して特定の管理対象者の感情情報を表示するための第一表示情報の送信要求を行うことができる。健康観察管理システムは、前記送信要求に応じて複数の項目から構成される感情情報を表示した第一表示情報を管理者端末に送信することができる。これにより、前記管理者は、特定の管理対象者の細分化された感情情報を表示した第一表示情報を取得することができ、前記管理対象者の感情状態を把握することができる。そのため、前記健康観察管理システムは、前記管理対象者の音声を解析して前記感情状態を可視化することができ、前記管理対象者の心の健康観察を行うことができる。
【図面の簡単な説明】
【0009】
本発明の第一実施形態にかかる健康観察管理システムを示す概略図である。
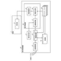
本発明の第一実施形態にかかる健康観察管理システムの構成を示す図である。
特定の日付の感情情報を示す第一表示情報の一例を示す図である。
所定期間における感情情報を示す第一表示情報の一例を示す図である。
特定集計情報が表示される第二表示情報の一例を示す図である。
複数の特定集計情報が表示される第三表示情報の一例を示す図である。
組織別集計情報を表示する第四表示情報の一例を示す図である。
本発明の第一実施形態にかかる健康観察管理システムのデータ処理の流れを示す図である。
本発明の第二実施形態にかかる健康観察管理システムを示す概略図である。
本発明の第二実施形態にかかる健康観察管理システムの構成を示す図である。
本発明の第二実施形態にかかる健康観察管理システムのデータ処理の流れを示す図である。
【発明を実施するための形態】
【0010】
以下、添付図面を用いて本発明の健康観察管理システムを詳細に説明する。
(【0011】以降は省略されています)
この特許をJ-PlatPat(特許庁公式サイト)で参照する
関連特許
コスモ石油株式会社
ガソリン組成物およびガソリン組成物の製造方法
4日前
株式会社豊田自動織機
燃料電池システム
14日前
第一工業製薬株式会社
水系分散体、並びにそれを用いたポリエステル基材用離型コート剤、離型シート及び積層体
14日前
東レ株式会社
耐炎化繊維束および炭素繊維束の製造方法
4日前
パナソニックオートモーティブシステムズ株式会社
表示制御装置、表示制御方法、およびプログラム
14日前
東芝エレベータ株式会社
エレベータシステム
14日前
東レ株式会社
半透膜の処理方法、半透膜の製造方法及び半透膜エレメントの製造方法
4日前
コスモ石油株式会社
ガソリン組成物およびガソリン組成物の製造方法
4日前
株式会社豊田自動織機
燃料電池システム
14日前
株式会社豊田自動織機
燃料電池モジュール、及び発電システム
14日前
東レ株式会社
交換可能型プレフィルタおよびそれを有するエアフィルタユニット
4日前
株式会社リコー
液体吐出装置、及び液体吐出方法
14日前
パナソニックIPマネジメント株式会社
基板押圧装置および基板押圧方法
14日前
清水建設株式会社
情報処理装置、情報処理システム、情報処理方法、および、プログラム
4日前
コスモ石油株式会社
航空燃料油
4日前
株式会社カネカ
水蒸気透過率測定装置および水蒸気透過率測定方法
4日前
株式会社豊田自動織機
燃料電池システム
14日前
株式会社カネカ
透湿度測定用封止装置
4日前
セイコーウオッチ株式会社
時計
4日前
コニカミノルタ株式会社
静電荷像現像用トナー、及びその製造方法、並びにそれを用いた画像形成方法及び画像形成装置
11日前
キヤノン株式会社
映像表示装置及び制御方法
12日前
豊田合成株式会社
カーテンエアバッグ装置
4日前
栗田工業株式会社
畜糞造粒物の製造方法
5日前
株式会社ニッケンビルド
逆ネスティングラックに用いる中間・連結兼用棚、および位置決め治具、ならびに逆ネスティングラックの連結構造及び連結方法
3日前
富士フイルムビジネスイノベーション株式会社
画像形成装置、及びプロセスカートリッジ
6日前
サミー株式会社
遊技機
7日前
トヨタ自動車株式会社
車両
3日前
住友電設株式会社
鉄塔作業監視システムおよび鉄塔作業監視方法
10日前
ZACROS株式会社
シーラントフィルムおよび積層フィルム
14日前
キヤノン株式会社
情報処理装置、処理方法およびプログラム
10日前
株式会社三共
遊技機
13日前
マツダ株式会社
インバータ装置
4日前
住友電気工業株式会社
受光素子、および受光素子の製造方法
14日前
株式会社NTTドコモ
端末、無線通信方法及び基地局
5日前
能美防災株式会社
ベース装置、化粧板ユニット、火災感知器及び火災感知システム
14日前
株式会社バンダイナムコエンターテインメント
ゲームシステム、プログラム及び情報処理装置
4日前
続きを見る
他の特許を見る