TOP
|
特許
|
意匠
|
商標
特許ウォッチ
Twitter
他の特許を見る
10個以上の画像は省略されています。
公開番号
2025113769
公報種別
公開特許公報(A)
公開日
2025-08-04
出願番号
2024008092
出願日
2024-01-23
発明の名称
積層セラミック電子部品およびその製造方法
出願人
太陽誘電株式会社
代理人
個人
主分類
H01G
4/224 20060101AFI20250728BHJP(基本的電気素子)
要約
【課題】小型化が可能な積層セラミック電子部品を提供する。
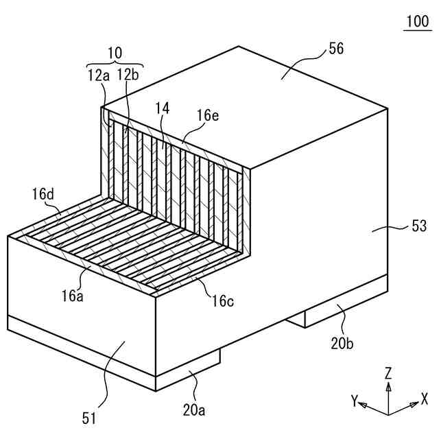
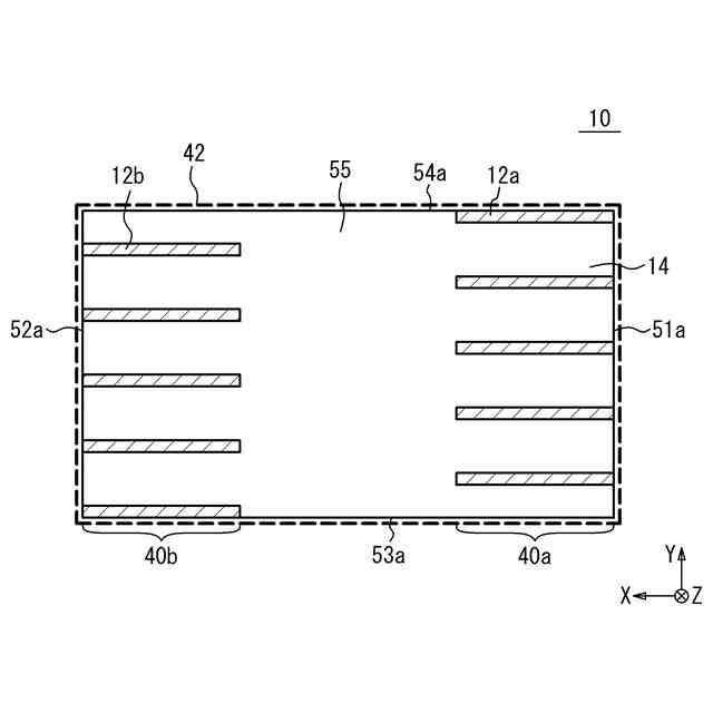
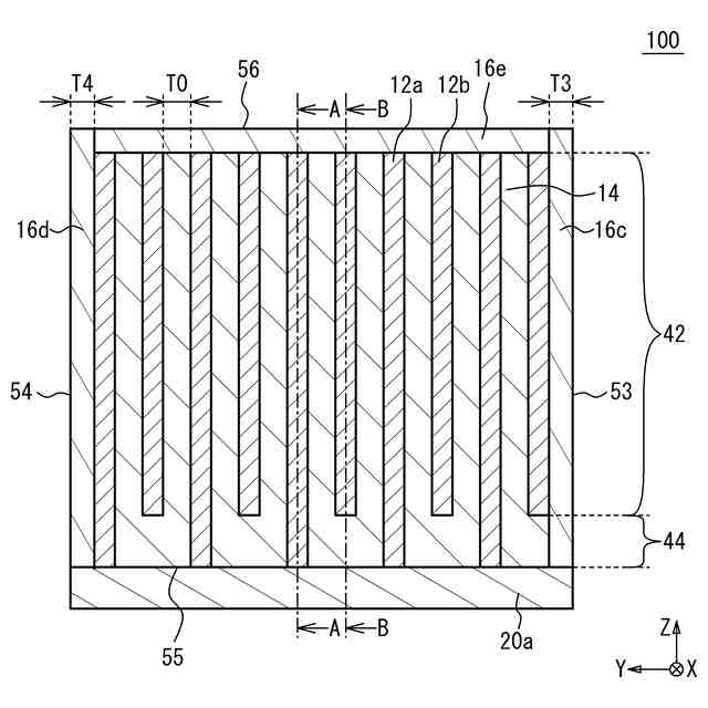
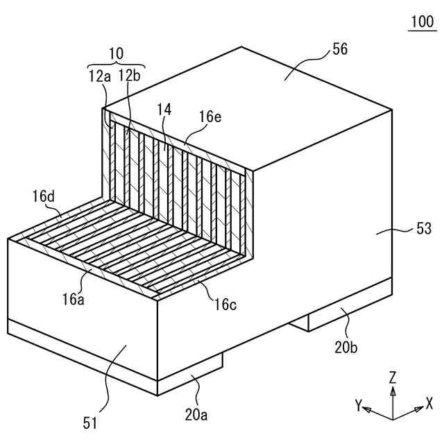
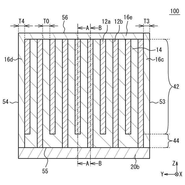
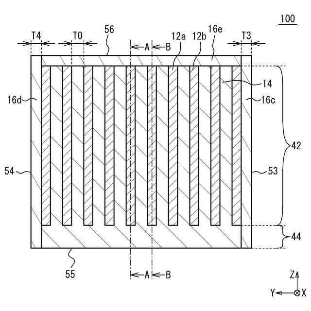
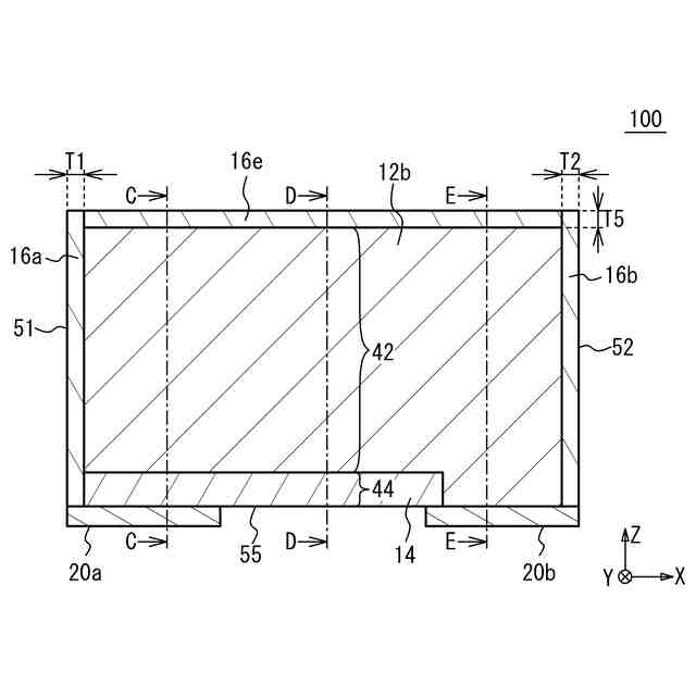
【解決手段】内部電極と誘電体層とが交互に第1方向に積層され、第1方向において内部電極は第1内部電極と第2内部電極とが交互に設けられ、第1方向において対向する一対の側面、第2方向において対向する一対の端面、および第3方向において対向する上面および下面を有し、第2方向における下面の第1端部において第1内部電極が露出しかつ第2内部電極が露出せず、第2方向における下面の第2端部において第2内部電極が露出し第1内部電極が露出せず、容量領域における第1内部電極と第2内部電極とが一対の端面および上面から露出する素体と、一対の側面に設けられた第1絶縁体層と、一対の端面および上面に設けられた第2絶縁体層と、第1端部および第2端部からそれぞれ露出する第1内部電極および第2内部電極に、それぞれ接触する一対の外部電極と、を備える。
【選択図】図1
特許請求の範囲
【請求項1】
複数の内部電極とセラミックを主成分とする複数の誘電体層とが交互に第1方向に積層され、前記第1方向において前記複数の内部電極は第1内部電極と第2内部電極とが交互に設けられ、前記第1方向において対向する一対の側面、第2方向において対向する一対の端面、および第3方向において対向する上面および下面を有し、前記第2方向における前記下面の第1端部において前記第1内部電極が露出しかつ前記第2内部電極が露出せず、前記第2方向における前記下面の第2端部において前記第2内部電極が露出し前記第1内部電極が露出せず、前記第1内部電極と前記第2内部電極とが前記第1方向において対向する容量領域における前記第1内部電極と前記第2内部電極とが前記一対の端面および前記上面から露出する素体と、
前記一対の側面に設けられ前記セラミックと異なる材料を主成分とする第1絶縁体層と、
前記一対の端面および前記上面に設けられ前記セラミックと異なる材料を主成分とする第2絶縁体層と、
前記第1端部および前記第2端部からそれぞれ露出する前記第1内部電極および前記第2内部電極に、それぞれ接触する一対の外部電極と、
を備える積層セラミック電子部品。
続きを表示(約 810 文字)
【請求項2】
前記第1絶縁体層および前記第2絶縁体層の誘電率は前記複数の誘電体層の1/2倍以下である請求項1に記載の積層セラミック電子部品。
【請求項3】
前記第1絶縁体層および前記第2絶縁体層の厚さは前記複数の誘電体層の内の少なくとも1つの厚さの2倍以下である請求項2に記載の積層セラミック電子部品。
【請求項4】
前記第1絶縁体層および前記第2絶縁体層のうち最大厚さおよび最小厚さをそれぞれTmaxおよびTminとしたとき、(Tmax-Tmin)/(Tmax+Tmin)<0.5である請求項3に記載の積層セラミック電子部品。
【請求項5】
前記第1絶縁体層の主成分と前記第2絶縁体層の主成分は異なる請求項1から3のいずれか一項に記載の積層セラミック電子部品。
【請求項6】
前記第1絶縁体層の靭性は前記第2絶縁体層の靭性より高い請求項1から3のいずれか一項に記載の積層セラミック電子部品。
【請求項7】
前記第2絶縁体層の熱伝導率は前記第1絶縁体層の熱伝導率より高い請求項6に記載の積層セラミック電子部品。
【請求項8】
前記第2絶縁体層の抵抗率は前記第1絶縁体層の抵抗率より高い請求項6に記載の積層セラミック電子部品。
【請求項9】
前記第1絶縁体層の厚さは、前記第2絶縁体層の厚さより大きい請求項1から3のいずれか一項に記載の積層セラミック電子部品。
【請求項10】
前記第1絶縁体層および前記第2絶縁体層は、酸化アルミニウム、窒化アルミニウム、窒化シリコン、炭化シリコン、酸化ジルコニウム、酸化イットリウム、フォルステライトまたはダイヤモンドライクカーボンを主成分とする請求項1から3のいずれか一項に記載の積層セラミック電子部品。
(【請求項11】以降は省略されています)
発明の詳細な説明
【技術分野】
【0001】
本発明は、積層セラミック電子部品およびその製造方法に関する。
続きを表示(約 1,200 文字)
【背景技術】
【0002】
内部電極と誘電体層を積層した積層セラミックコンデンサなどの積層セラミック電子部品において、サイドマージン領域を、誘電体シートを貼り付けることにより形成することが知られている(例えば、特許文献1)。
【先行技術文献】
【特許文献】
【0003】
特開2022-133459号公報
【発明の概要】
【発明が解決しようとする課題】
【0004】
しかしながら、誘電体シートを貼り付ける面は2面であり、小型化が難しい。
【0005】
本発明は、上記課題に鑑みなされたものであり、小型化が可能な積層セラミック電子部品およびその製造方法を提供することを目的とする。
【課題を解決するための手段】
【0006】
本発明は、複数の内部電極とセラミックを主成分とする複数の誘電体層とが交互に第1方向に積層され、前記第1方向において前記複数の内部電極は第1内部電極と第2内部電極とが交互に設けられ、前記第1方向において対向する一対の側面、第2方向において対向する一対の端面、および第3方向において対向する上面および下面を有し、前記第2方向における前記下面の第1端部において前記第1内部電極が露出しかつ前記第2内部電極が露出せず、前記第2方向における前記下面の第2端部において前記第2内部電極が露出し前記第1内部電極が露出せず、前記第1内部電極と前記第2内部電極とが前記第1方向において対向する容量領域における前記第1内部電極と前記第2内部電極とが前記一対の端面および前記上面から露出する素体と、前記一対の側面に設けられ前記セラミックと異なる材料を主成分とする第1絶縁体層と、前記一対の端面および前記上面に設けられ前記セラミックと異なる材料を主成分とする第2絶縁体層と、前記第1端部および前記第2端部からそれぞれ露出する前記第1内部電極および前記第2内部電極に、それぞれ接触する一対の外部電極と、を備える積層セラミック電子部品である。
【0007】
上記構成において、前記第1絶縁体層および前記第2絶縁体層の誘電率は前記複数の誘電体層の1/2倍以下である構成とすることができる。
【0008】
上記構成において、前記第1絶縁体層および前記第2絶縁体層の厚さは前記複数の誘電体層の内の少なくとも1つの厚さの2倍以下である構成とすることができる。
【0009】
上記構成において、前記第1絶縁体層および前記第2絶縁体層のうち最大厚さおよび最小厚さをそれぞれTmaxおよびTminとしたとき、(Tmax-Tmin)/(Tmax+Tmin)<0.5である構成とすることができる。
【0010】
前記第1絶縁体層の主成分と前記第2絶縁体層の主成分は異なる構成とすることができる。
(【0011】以降は省略されています)
この特許をJ-PlatPat(特許庁公式サイト)で参照する
関連特許
太陽誘電株式会社
コイル部品
1日前
太陽誘電株式会社
コイル部品
1日前
太陽誘電株式会社
コイル部品
2日前
太陽誘電株式会社
全固体電池
8日前
太陽誘電株式会社
導波路装置
8日前
太陽誘電株式会社
生体情報測定装置
1日前
太陽誘電株式会社
感覚提示システム
1か月前
太陽誘電株式会社
セラミック電子部品
1日前
太陽誘電株式会社
積層セラミック電子部品
3日前
太陽誘電株式会社
グルコース濃度推定装置
2日前
太陽誘電株式会社
積層セラミック電子部品
1か月前
太陽誘電株式会社
積層セラミック電子部品
1日前
太陽誘電株式会社
積層セラミックコンデンサ
2日前
太陽誘電株式会社
電動アシスト車の制御装置
1か月前
太陽誘電株式会社
センサ装置および取付方法
2日前
太陽誘電株式会社
コイル部品および実装基板
2日前
太陽誘電株式会社
フィルタ及びマルチプレクサ
3日前
太陽誘電株式会社
導波路装置およびレーダ装置
8日前
太陽誘電株式会社
血圧測定装置および血圧測定方法
2日前
太陽誘電株式会社
コイル部品、コイル部品の製造方法
1日前
太陽誘電株式会社
バッテリパック及び車両の制御装置
8日前
太陽誘電株式会社
コイル部品、コイル部品の製造方法
1日前
太陽誘電株式会社
コイル部品及びコイル部品の製造方法
1日前
太陽誘電株式会社
特徴量取得装置および特徴量取得方法
22日前
太陽誘電株式会社
積層セラミックコンデンサ及び回路基板
4日前
太陽誘電株式会社
積層セラミックコンデンサ及び回路基板
1か月前
太陽誘電株式会社
積層セラミックコンデンサ及び回路基板
12日前
太陽誘電株式会社
積層セラミックコンデンサ及び回路基板
2日前
太陽誘電株式会社
積層セラミックコンデンサ及び回路基板
15日前
太陽誘電株式会社
積層セラミックコンデンサ及び回路基板
12日前
太陽誘電株式会社
積層セラミック電子部品及びその製造方法
1か月前
太陽誘電株式会社
圧電トランスデューサおよび電気音響装置
10日前
太陽誘電株式会社
磁性基体及び磁性基体を備えるコイル部品
1日前
太陽誘電株式会社
積層セラミック電子部品及びその製造方法
1日前
太陽誘電株式会社
積層セラミック電子部品およびその製造方法
2日前
太陽誘電株式会社
積層セラミック電子部品およびその製造方法
1日前
続きを見る
他の特許を見る