TOP
|
特許
|
意匠
|
商標
特許ウォッチ
Twitter
他の特許を見る
10個以上の画像は省略されています。
公開番号
2025123920
公報種別
公開特許公報(A)
公開日
2025-08-25
出願番号
2024019706
出願日
2024-02-13
発明の名称
積層セラミック電子部品
出願人
太陽誘電株式会社
代理人
個人
主分類
H01G
4/30 20060101AFI20250818BHJP(基本的電気素子)
要約
【課題】 構造欠陥の発生を抑制することができる積層セラミック電子部品を提供する。
【解決手段】 積層セラミック電子部品は、複数の誘電体層と、前記複数の誘電体層を介して設けられ、互いに対向する2端面に交互に引き出された複数の内部電極層と、を有する素体と、前記複数の内部電極層が対向する第1方向と、前記2端面が対向する第2方向とに直交する第3方向において前記素体を挟む1対のサイドマージンと、を備え、前記複数の誘電体層のうち少なくとも1層は、隣接する一方の内部電極層側の表面に第1領域を備え、他方の内部電極層側の表面に第2領域を備え、前記第1領域と前記第2領域との間に、前記第1領域および前記第2領域のそれぞれの平均グレイン径よりも大きい平均グレイン径を有する第3領域を備え、前記第1領域および前記第2領域の平均グレイン径は、前記サイドマージンにおける平均グレイン径よりも小さい。
【選択図】 図6
特許請求の範囲
【請求項1】
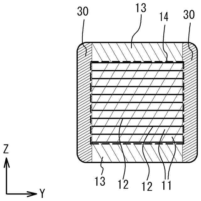
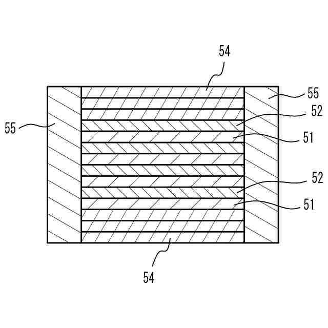
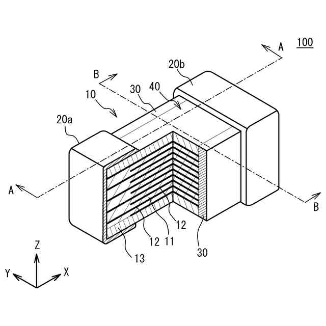
複数の誘電体層と、前記複数の誘電体層を介して設けられ、互いに対向する2端面に交互に引き出された複数の内部電極層と、を有する素体と、
前記複数の内部電極層が対向する第1方向と、前記2端面が対向する第2方向とに直交する第3方向において前記素体を挟む1対のサイドマージンと、を備え、
前記複数の誘電体層のうち少なくとも1層は、隣接する一方の内部電極層側の表面に第1領域を備え、他方の内部電極層側の表面に第2領域を備え、前記第1領域と前記第2領域との間に、前記第1領域および前記第2領域のそれぞれの平均グレイン径よりも大きい平均グレイン径を有する第3領域を備え、
前記第1領域および前記第2領域の平均グレイン径は、前記サイドマージンにおける平均グレイン径よりも小さい、積層セラミック電子部品。
続きを表示(約 730 文字)
【請求項2】
前記素体において、前記第1領域、前記第2領域、および前記第3領域を備える誘電体層の層数は、前記素体に含まれる誘電体層の総数の40%以上である、請求項1に記載の積層セラミック電子部品。
【請求項3】
前記第1領域および前記第2領域における平均グレイン径は、100nm以下である、請求項1に記載の積層セラミック電子部品。
【請求項4】
前記第1領域および前記第2領域における平均グレイン径は、30nm以上である、請求項1に記載の積層セラミック電子部品。
【請求項5】
前記第3領域における平均グレイン径は、100nm以上である、請求項1に記載の積層セラミック電子部品。
【請求項6】
前記第3領域における平均グレイン径は、500nm以下である、請求項1に記載の積層セラミック電子部品。
【請求項7】
前記サイドマージンにおける平均グレイン径は、100nm以上である、請求項1に記載の積層セラミック電子部品。
【請求項8】
前記サイドマージンにおける平均グレイン径は、500nm以下である、請求項1に記載の積層セラミック電子部品。
【請求項9】
前記第1領域および前記第2領域における平均グレイン径は、前記第3領域における平均グレイン径の0.5倍以下である、請求項1に記載の積層セラミック電子部品。
【請求項10】
前記第1領域および前記第2領域における平均グレイン径は、前記第3領域における平均グレイン径の0.1倍以上である、請求項1に記載の積層セラミック電子部品。
(【請求項11】以降は省略されています)
発明の詳細な説明
【技術分野】
【0001】
本発明は、積層セラミック電子部品に関する。
続きを表示(約 1,100 文字)
【背景技術】
【0002】
携帯電話を代表とする高周波通信用システムなどにおいて、積層セラミックコンデンサ(MLCC:Multi-Layer ceramic capacitor)などの積層セラミック電子部品が用いられている(例えば、特許文献1参照)。
【先行技術文献】
【特許文献】
【0003】
特開2014-53584号公報
【発明の概要】
【発明が解決しようとする課題】
【0004】
誘電体層に電圧を印加すると電歪現象(逆圧電現象)が生じる。電歪現象は、電界の印加方向の膨張によって機械的変位が生じる現象である。電歪現象が生じると、機械的強度の低い領域でクラックなどの構造欠陥が発生する可能性がある。構造欠陥が発生することで、破壊電圧や耐電圧の低下を招いてしまうという問題がある。
【0005】
本発明は、上記課題に鑑みなされたものであり、構造欠陥の発生を抑制することができる積層セラミック電子部品を提供することを目的とする。
【課題を解決するための手段】
【0006】
本発明に係る積層セラミック電子部品は、複数の誘電体層と、前記複数の誘電体層を介して設けられ、互いに対向する2端面に交互に引き出された複数の内部電極層と、を有する素体と、前記複数の内部電極層が対向する第1方向と、前記2端面が対向する第2方向とに直交する第3方向において前記素体を挟む1対のサイドマージンと、を備え、前記複数の誘電体層のうち少なくとも1層は、隣接する一方の内部電極層側の表面に第1領域を備え、他方の内部電極層側の表面に第2領域を備え、前記第1領域と前記第2領域との間に、前記第1領域および前記第2領域のそれぞれの平均グレイン径よりも大きい平均グレイン径を有する第3領域を備え、前記第1領域および前記第2領域の平均グレイン径は、前記サイドマージンにおける平均グレイン径よりも小さい。
【0007】
上記積層セラミック電子部品の前記素体において、前記第1領域、前記第2領域、および前記第3領域を備える誘電体層の層数は、前記素体に含まれる誘電体層の総数の40%以上であってもよい。
【0008】
上記積層セラミック電子部品において、前記第1領域および前記第2領域における平均グレイン径は、100nm以下であってもよい。
【0009】
上記積層セラミック電子部品において、前記第1領域および前記第2領域における平均グレイン径は、30nm以上であってもよい。
【0010】
上記積層セラミック電子部品の前記第3領域における平均グレイン径は、100nm以上であってもよい。
(【0011】以降は省略されています)
この特許をJ-PlatPat(特許庁公式サイト)で参照する
関連特許
太陽誘電株式会社
導波路装置
4日前
太陽誘電株式会社
全固体電池
4日前
太陽誘電株式会社
感覚提示システム
1か月前
太陽誘電株式会社
積層セラミック電子部品
1か月前
太陽誘電株式会社
電動アシスト車の制御装置
1か月前
太陽誘電株式会社
フィルタ及びマルチプレクサ
1か月前
太陽誘電株式会社
導波路装置およびレーダ装置
4日前
太陽誘電株式会社
バッテリパック及び車両の制御装置
4日前
太陽誘電株式会社
特徴量取得装置および特徴量取得方法
18日前
太陽誘電株式会社
積層セラミックコンデンサ及び回路基板
11日前
太陽誘電株式会社
積層セラミックコンデンサ及び回路基板
1か月前
太陽誘電株式会社
積層セラミックコンデンサ及び回路基板
今日
太陽誘電株式会社
積層セラミックコンデンサ及び回路基板
8日前
太陽誘電株式会社
積層セラミックコンデンサ及び回路基板
8日前
太陽誘電株式会社
積層セラミック電子部品及びその製造方法
27日前
太陽誘電株式会社
積層セラミック電子部品及びその製造方法
2か月前
太陽誘電株式会社
積層セラミック電子部品及びその製造方法
1か月前
太陽誘電株式会社
圧電トランスデューサおよび電気音響装置
6日前
太陽誘電株式会社
電子部品の検査方法および電子部品の製造方法
8日前
太陽誘電株式会社
弾性波デバイス、フィルタ、及びマルチプレクサ
4日前
太陽誘電株式会社
積層セラミック電子部品および誘電体磁器組成物
2か月前
太陽誘電株式会社
存在検知システム、存在判定装置および存在判定方法
18日前
太陽誘電株式会社
多重モード型フィルタ、フィルタ、及びマルチプレクサ
4日前
太陽誘電株式会社
測位システム、測位装置、測位方法、および測位プログラム
27日前
太陽誘電株式会社
測位システム、測位装置、測位方法、および測位プログラム
27日前
太陽誘電株式会社
弾性波デバイス、フィルタ、及び弾性波デバイスの製造方法
18日前
太陽誘電株式会社
積層セラミック電子部品、及び積層セラミック電子部品の製造方法
4日前
太陽誘電株式会社
セラミック電子部品
7日前
太陽誘電株式会社
弾性波デバイス、フィルタ、マルチプレクサ、及び弾性波デバイスの製造方法
1か月前
太陽誘電株式会社
弾性波デバイス、フィルタ、マルチプレクサ、及び弾性波デバイスの製造方法
1か月前
太陽誘電株式会社
弾性波デバイス、フィルタ、マルチプレクサ、及び弾性波デバイスの製造方法
4日前
住友ベークライト株式会社
感応膜用組成物、感応膜、におい検出素子、および、においセンサー
11日前
住友ベークライト株式会社
感応膜用組成物、感応膜、におい検出素子、および、においセンサー
11日前
太陽誘電株式会社
劣化検出装置、劣化検出システム、劣化検出方法、重量測定装置、重量測定方法およびプログラム
2か月前
個人
安全なNAS電池
1か月前
日本発條株式会社
積層体
8日前
続きを見る
他の特許を見る