TOP
|
特許
|
意匠
|
商標
特許ウォッチ
Twitter
他の特許を見る
10個以上の画像は省略されています。
公開番号
2025146518
公報種別
公開特許公報(A)
公開日
2025-10-03
出願番号
2024047344
出願日
2024-03-22
発明の名称
積層セラミック電子部品、及び積層セラミック電子部品の製造方法
出願人
太陽誘電株式会社
代理人
個人
,
個人
主分類
H01G
4/30 20060101AFI20250926BHJP(基本的電気素子)
要約
【課題】静電容量を高く維持しつつ、音鳴きが抑制された積層セラミック電子部品を提供する。
【解決手段】積層セラミック電子部品は、第1軸に沿って積層された複数の誘電体層11、第1軸に沿って隣接する誘電体層の間に配置された複数の内部電極層12a、12b及び誘電体層と内部電極層との間に配置された中間領域40を含む積層体を有し、誘電体層は、チタン酸バリウム及び銅を含有し、内部電極層及び中間領域はNi及びCuを含有し、中間領域は、NIの有効金属濃度A(at%)が3at%<A<50at%であり、内部電極層におけるCuの平均有効金属濃度D12(at%)、誘電体層におけるCuの平均有効金属濃度D11(at%)及び中間領域における銅の平均有効金属濃度D40(at%)は、D12>D11、かつ、D11<D40であり、D12は0.1at%<D12≦35at%であり、かつD11は0.01at%<D11<5at%である。
【選択図】図4
特許請求の範囲
【請求項1】
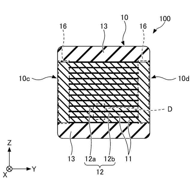
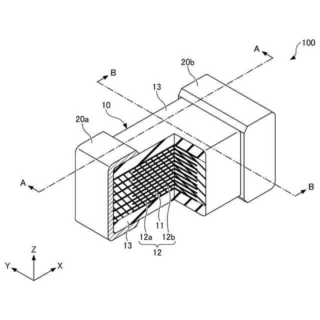
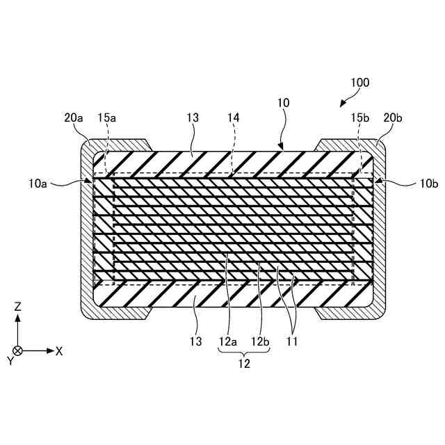
第1軸に沿って積層された複数の誘電体層と、
前記第1軸に沿って隣接する前記誘電体層の間にそれぞれ配置された複数の内部電極層と、
前記誘電体層と、前記内部電極層との間に配置された中間領域と、を含む積層体を有し、
前記誘電体層は、チタン酸バリウム及び銅を含有し、
前記内部電極層及び前記中間領域は、ニッケル及び銅を含有し、
前記中間領域は、ニッケルの有効金属濃度A(at%)が、3at%<A<50at%であり、
前記内部電極層における銅の平均有効金属濃度D12(at%)、前記誘電体層における銅の平均有効金属濃度D11(at%)、及び前記中間領域における銅の平均有効金属濃度D40(at%)は、D12>D11、かつ、D11<D40であり、
前記D12は0.1at%<D12≦35at%であり、かつ、前記D11は0.01at%<D11<5at%である、積層セラミック電子部品。
続きを表示(約 800 文字)
【請求項2】
前記積層体の積層方向の上面の端から数えて3~10層目に位置する前記内部電極層と前記誘電体層のセットに形成された前記中間領域と、下面の端から数えて3~10層目に位置する前記内部電極層と前記誘電体層のセットに形成された前記中間領域の銅の平均有効金属濃度D40E(at%)は、前記積層体の積層方向の中央に位置する合計10層の前記内部電極層と前記誘電体層のセットに形成された前記中間領域の銅の平均有効金属濃度D40M(at%)より高い、請求項1に記載の積層セラミック電子部品。
【請求項3】
複数の前記中間領域における各々の銅の平均有効金属濃度(at%)が、前記積層体の積層方向に変化している、請求項1又は2に記載の積層セラミック電子部品。
【請求項4】
前記D40(at%)は0.05at%≦D40≦15at%である、請求項1又は2に記載の積層セラミック電子部品。
【請求項5】
誘電体層を形成するためのチタン酸バリウム及び銅を含むセラミック原料粉末を調製する原料粉末調製工程と、
基材上に前記セラミック原料粉末を含むスラリーを塗工してセラミックグリーンシートを得る塗工工程と、
前記セラミックグリーンシートの表面に、ニッケル及び銅を含む内部電極層用スラリーを印刷して内部電極層を形成する内部電極層形成工程と、
前記内部電極層を形成したセラミックグリーンシートを、前記セラミックグリーンシートの間に前記内部電極層が挟まれるように積層した積層体を圧着する圧着工程と、
前記圧着した積層体を個片化する個片化工程と、
前記個片化した積層体を焼成する焼成工程と、を含み、
前記焼成工程において、600℃から1300℃までの昇温速度を30,000℃/hとする、積層セラミック電子部品の製造方法。
発明の詳細な説明
【技術分野】
【0001】
本発明は、積層セラミック電子部品、及び積層セラミック電子部品の製造方法に関する。
続きを表示(約 2,100 文字)
【背景技術】
【0002】
近年、IT機器の進歩に伴い、クラウドサービスや通信規格の進化が目覚ましく発展しており、電子産業の中核部品である積層セラミックコンデンサ等の電子部品の需要が大幅に増加している。そのような中、電子部品の誘電率や絶縁性などの基本的な性能を維持して静電容量を高く維持しつつ、良品率を高めることが求められている。
【0003】
特許文献1には、反り強度に優れ、放射クラックの発生が抑制される積層型電子部品として、誘電体層、及び前記誘電体層を間に挟んで第1方向に積層される内部電極を含む本体と、前記内部電極と連結され、Niを含む第1電極層及び前記第1電極層上に配置され、Ni-Cu合金を含む第2電極層を含む外部電極と、を含み、前記第2電極層のCu含有量は、Ni及びCuの合計含有量100molに対して70mol~90molである積層型電子部品が記載されている。
【先行技術文献】
【特許文献】
【0004】
特開2023-106310号公報
【発明の概要】
【発明が解決しようとする課題】
【0005】
本発明は、静電容量を高く維持しつつ、音鳴きが抑制された積層セラミック電子部品を提供することを目的とする。
【課題を解決するための手段】
【0006】
本発明の積層セラミック電子部品は、
第1軸に沿って積層された複数の誘電体層と、
前記第1軸に沿って隣接する前記誘電体層の間にそれぞれ配置された複数の内部電極層と、
前記誘電体層と、前記内部電極層との間に配置された中間領域と、を含む積層体を有し、
前記誘電体層は、チタン酸バリウム及び銅を含有し、
前記内部電極層及び前記中間領域は、ニッケル及び銅を含有し、
前記中間領域は、ニッケルの有効金属濃度A(at%)が、3at%<A<50at%であり、
前記内部電極層における銅の平均有効金属濃度D12(at%)、前記誘電体層における銅の平均有効金属濃度D11(at%)、及び前記中間領域における銅の平均有効金属濃度D40(at%)は、D12>D11、かつ、D11<D40であり、
前記D12は0.1at%<D12≦35at%であり、かつ、前記D11は0.01at%<D11<5at%である、積層セラミック電子部品を提供する。
【発明の効果】
【0007】
本発明によれば、静電容量を高く維持しつつ、音鳴きが抑制された積層セラミック電子部品を提供することができる。
【図面の簡単な説明】
【0008】
本開示の一態様に係る積層セラミックコンデンサの斜視図である。
図1の積層セラミックコンデンサのA-A線に沿った断面図である。
図1の積層セラミックコンデンサのB-B線に沿った断面図である。
本開示の一態様に係る素体の詳細を例示する断面図である。
本開示の一態様に係る積層セラミックコンデンサの製造方法のフローチャートである。
本開示の一態様に係る積層セラミックコンデンサの製造方法を例示する図である。
実施例1で作製した積層セラミックコンデンサの断面の一部の模式図と、その断面の各種金属の平均有効金属濃度(at%)をTEM-EDSによってライン分析したグラフである。
実施例1で作製した積層セラミックコンデンサの断面の各種金属の平均有効金属濃度(at%)をTEM-EDSによってライン分析したグラフである。
図8Aのグラフ中の領域Mを拡大したグラフである。
【発明を実施するための形態】
【0009】
積層セラミック電子部品の一態様である、積層セラミックコンデンサに電荷を印加すると、誘電体層において、内部電極層と誘電体層に垂直な電荷印加方向に電歪効果が生じる。また、誘電体であるセラミックスが有するポアソン比により、電荷印加方向に垂直で内部電極層と誘電体層に水平な方向にも電歪効果が生じてしまう。これらの電歪効果によって、交流電圧駆動により振動が発生し、音鳴きが発生する問題がある。また、過度な個体に至っては、歪部となる素体と、非歪部となる、カバー層、サイドマージン部、エンドマージン部などとの接点に応力が生じ、その接点を起点としてクラックが発生し、静電容量の低下や故障を引き起こしてしまうという問題がある。
【0010】
そこで本発明者は鋭意検討し、内部電極層中の銅濃度と誘電体層中の銅濃度を制御して内部電極層と誘電体層の間に緻密な中間領域を形成させ、内部電極層の周りの剛性を強化することで、主に電荷印加方向に垂直な方向に生じる歪を抑制することができ、静電容量を高く維持しつつ、音鳴きやクラックの発生が抑制された積層セラミック電子部品を提供することができることを見出した。
(【0011】以降は省略されています)
この特許をJ-PlatPat(特許庁公式サイト)で参照する
関連特許
太陽誘電株式会社
導波路装置
4日前
太陽誘電株式会社
全固体電池
4日前
太陽誘電株式会社
感覚提示システム
1か月前
太陽誘電株式会社
積層セラミック電子部品
1か月前
太陽誘電株式会社
電動アシスト車の制御装置
1か月前
太陽誘電株式会社
導波路装置およびレーダ装置
4日前
太陽誘電株式会社
バッテリパック及び車両の制御装置
4日前
太陽誘電株式会社
特徴量取得装置および特徴量取得方法
18日前
太陽誘電株式会社
積層セラミックコンデンサ及び回路基板
8日前
太陽誘電株式会社
積層セラミックコンデンサ及び回路基板
1か月前
太陽誘電株式会社
積層セラミックコンデンサ及び回路基板
今日
太陽誘電株式会社
積層セラミックコンデンサ及び回路基板
8日前
太陽誘電株式会社
積層セラミックコンデンサ及び回路基板
11日前
太陽誘電株式会社
圧電トランスデューサおよび電気音響装置
6日前
太陽誘電株式会社
積層セラミック電子部品及びその製造方法
27日前
太陽誘電株式会社
電子部品の検査方法および電子部品の製造方法
8日前
太陽誘電株式会社
弾性波デバイス、フィルタ、及びマルチプレクサ
4日前
太陽誘電株式会社
存在検知システム、存在判定装置および存在判定方法
18日前
太陽誘電株式会社
多重モード型フィルタ、フィルタ、及びマルチプレクサ
4日前
太陽誘電株式会社
弾性波デバイス、フィルタ、及び弾性波デバイスの製造方法
18日前
太陽誘電株式会社
測位システム、測位装置、測位方法、および測位プログラム
27日前
太陽誘電株式会社
測位システム、測位装置、測位方法、および測位プログラム
27日前
太陽誘電株式会社
積層セラミック電子部品、及び積層セラミック電子部品の製造方法
4日前
太陽誘電株式会社
セラミック電子部品
7日前
太陽誘電株式会社
弾性波デバイス、フィルタ、マルチプレクサ、及び弾性波デバイスの製造方法
4日前
太陽誘電株式会社
弾性波デバイス、フィルタ、マルチプレクサ、及び弾性波デバイスの製造方法
1か月前
太陽誘電株式会社
弾性波デバイス、フィルタ、マルチプレクサ、及び弾性波デバイスの製造方法
1か月前
住友ベークライト株式会社
感応膜用組成物、感応膜、におい検出素子、および、においセンサー
11日前
住友ベークライト株式会社
感応膜用組成物、感応膜、におい検出素子、および、においセンサー
11日前
個人
安全なNAS電池
1か月前
個人
フリー型プラグ安全カバー
1か月前
東レ株式会社
多孔質炭素シート
27日前
日本発條株式会社
積層体
8日前
ローム株式会社
半導体装置
6日前
ローム株式会社
半導体装置
6日前
キヤノン株式会社
電子機器
27日前
続きを見る
他の特許を見る