TOP
|
特許
|
意匠
|
商標
特許ウォッチ
Twitter
他の特許を見る
公開番号
2025132409
公報種別
公開特許公報(A)
公開日
2025-09-10
出願番号
2024029948
出願日
2024-02-29
発明の名称
電子機器
出願人
キヤノン株式会社
代理人
個人
主分類
H01H
19/00 20060101AFI20250903BHJP(基本的電気素子)
要約
【課題】検出の信頼性を維持しつつ電力消費を抑制する。
【解決手段】反射板117には、反射部117a、非反射部117bを含む複数の位相パターンが同心円上に複数形成される。4つの非接触センサ130は、内周部140および外周部150に、複数の位相パターンと対向する位置に配置され、対向する位相パターンの検出結果を出力する。システム制御部307は、複数の非接触センサ130の各々による検出結果の組み合わせに基づいて、ダイヤル109の回転位相を取得する。非接触センサ130は、駆動方法として、非接触センサ130の全てを駆動する全箇所駆動と、一部の非接触センサ130を駆動する省電駆動とを有し、ダイヤル109の回転位相が変化したことに応じて全箇所駆動で非接触センサ130を駆動し、ダイヤル109の回転位相が変化しなくなったことに応じて省電駆動で非接触センサ130を駆動する。
【選択図】図7
特許請求の範囲
【請求項1】
回転操作され回転中心を中心に回転する操作部材と、
反射部および非反射部から成る位相パターンが前記回転中心を中心とした同心円上に複数形成され、前記操作部材の回転操作によって回転する回転部材と、
前記回転部材の回転行程において前記位相パターンと対向する位置に配置され、対向する位相パターンの検出結果を出力する複数の非接触センサと、
前記複数の非接触センサの各々による検出結果の組み合わせに基づいて、前記操作部材の回転位相を取得する取得手段と、
前記複数の非接触センサの駆動を制御する制御手段と、を有し、
前記制御手段は、前記複数の非接触センサの駆動方法として、前記複数の非接触センサの全てを駆動する第1駆動と、一部の非接触センサを駆動する第2駆動と、を有し、
前記制御手段は、前記操作部材の回転位相が変化したことに応じて、前記第1駆動で前記非接触センサを駆動し、前記操作部材の回転位相が変化しなくなったことに応じて、前記第2駆動で前記非接触センサを駆動することを特徴とする電子機器。
続きを表示(約 990 文字)
【請求項2】
前記制御手段は、前記操作部材の回転位相が変化しなくなった後、第1の所定時間が経過するまでは前記第1駆動で前記非接触センサを駆動し、前記第1の所定時間が経過した後は前記第2駆動で前記非接触センサを駆動することを特徴とする請求項1に記載の電子機器。
【請求項3】
前記制御手段は、前記操作部材の回転位相が変化しなくなった後、前記第1の所定時間が経過する前であっても、前記操作部材とは別の所定操作部材の操作があった場合は、前記第2駆動で前記非接触センサを駆動することを特徴とする請求項2に記載の電子機器。
【請求項4】
前記検出結果の組み合わせは前記回転部材の回転行程において順番に出現し、
前記第2駆動は、仮に、前記非接触センサの各々による検出結果の組み合わせが、隣接する組み合わせに変化した場合に、検出結果が変化する非接触センサについては駆動し、仮に、前記非接触センサの各々による検出結果の組み合わせが、隣接する組み合わせに変化した場合に、検出結果が変化しない非接触センサについては駆動しない駆動方法であることを特徴とする請求項1に記載の電子機器。
【請求項5】
前記制御手段は、前記第2駆動を開始した後、前記操作部材とは別の所定操作部材の操作が続いている間は前記第2駆動を継続することを特徴とする請求項1に記載の電子機器。
【請求項6】
前記非接触センサの個数は3個以上であることを特徴とする請求項1に記載の電子機器。
【請求項7】
前記制御手段は、前記複数の非接触センサの各々を個別に駆動可能であることを特徴とする請求項1に記載の電子機器。
【請求項8】
前記非接触センサは光学式センサであることを特徴とする請求項1に記載の電子機器。
【請求項9】
前記制御手段は、前記電子機器の電源のオン、オートパワーオフからの復帰、またはロック状態からの復帰に応じて、前記第1駆動を開始することを特徴とする請求項1に記載の電子機器。
【請求項10】
前記制御手段は、前記操作部材の操作がロックされている場合は、いずれの前記非接触センサも駆動しないことを特徴とする請求項1に記載の電子機器。
(【請求項11】以降は省略されています)
発明の詳細な説明
【技術分野】
【0001】
本発明は、電子機器に関する。
続きを表示(約 1,500 文字)
【背景技術】
【0002】
従来、撮像装置などの電子機器には撮影モードや各種設定をおこなうためのダイヤル式の操作部材が設けられている。例えば操作部材には、回転操作により位相接片を回転させて、位相接片のブラシ接点部と、フレキシブル配線基板上の導電パターンとを摺動させるように構成されているものがある。このような操作部材では、絶対的な角度位置を検出する、いわゆるアブソリュート方式が採用されたものがある。
【0003】
特許文献1に開示されているダイヤル装置は、回転操作される操作部材と、複数の接点部を備え操作部材の回転に応じて回転する接触部材と、操作部材の回転中心を中心とする複数の同心円状に設けられた信号パターンを備える基板とを有する。そして、複数の接点部が信号パターンに接触することでバイナリーコードが出力される。
【先行技術文献】
【特許文献】
【0004】
特開2019-101096号公報
【発明の概要】
【発明が解決しようとする課題】
【0005】
しかしながら、特許文献1の技術では、回転する接触部材を基板に接触させているため、接触部材の摩耗によって導電性の摩耗紛が生じる。そして、導電性の摩耗紛が基板上の信号パターンの短絡を起こすなどの可能性があるため、接触部材と基板との接触信頼性が低下し、誤検出が生じる懸念がある。また、角度位置検出のための電力消費は少ない方が好ましい。
【0006】
本発明は、検出の信頼性を維持しつつ電力消費を抑制することを目的とする。
【課題を解決するための手段】
【0007】
上記目的を達成するために本発明の電子機器は、回転操作され回転中心を中心に回転する操作部材と、反射部および非反射部から成る位相パターンが前記回転中心を中心とした同心円上に複数形成され、前記操作部材の回転操作によって回転する回転部材と、前記回転部材の回転行程において前記位相パターンと対向する位置に配置され、対向する位相パターンの検出結果を出力する複数の非接触センサと、前記複数の非接触センサの各々による検出結果の組み合わせに基づいて、前記操作部材の回転位相を取得する取得手段と、前記複数の非接触センサの駆動を制御する制御手段と、を有し、前記制御手段は、前記複数の非接触センサの駆動方法として、前記複数の非接触センサの全てを駆動する第1駆動と、一部の非接触センサを駆動する第2駆動と、を有し、前記制御手段は、前記操作部材の回転位相が変化したことに応じて、前記第1駆動で前記非接触センサを駆動し、前記操作部材の回転位相が変化しなくなったことに応じて、前記第2駆動で前記非接触センサを駆動することを特徴とする。
【発明の効果】
【0008】
本発明によれば、検出の信頼性を維持しつつ電力消費を抑制することができる。
【図面の簡単な説明】
【0009】
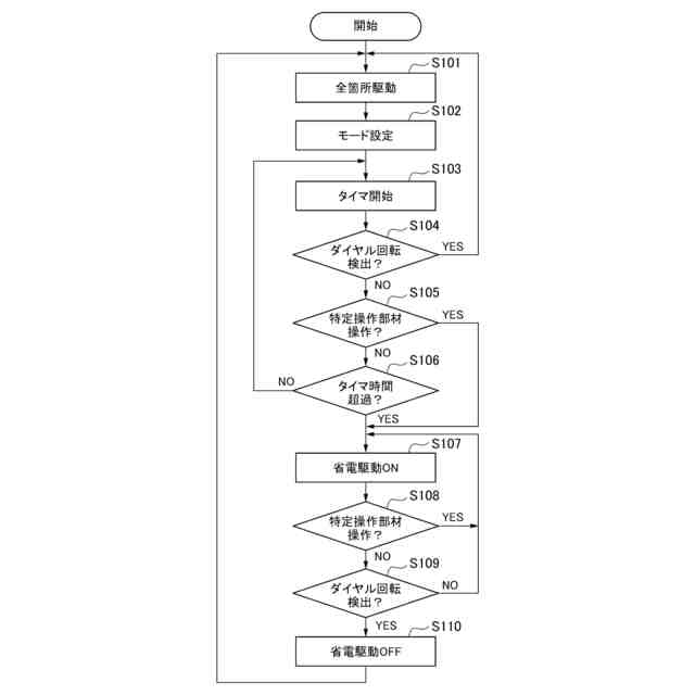
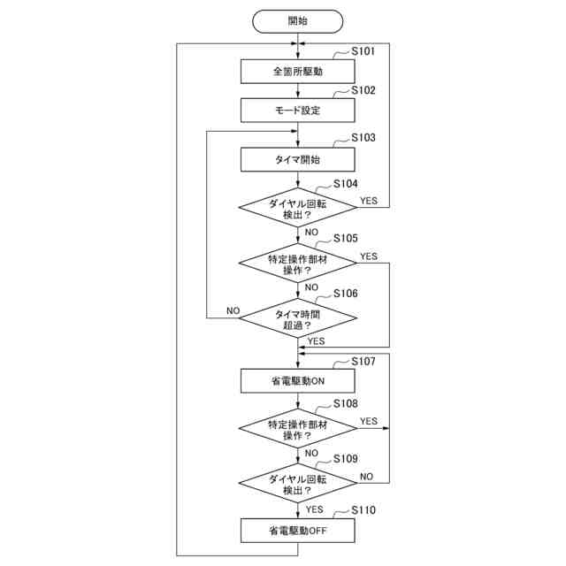
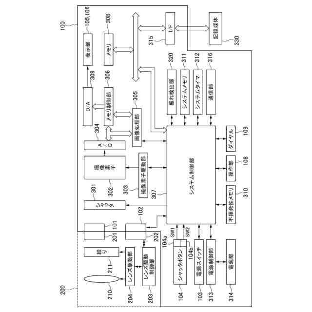
電子機器のブロック図である。
カメラの前方斜視図、後方斜視図である。
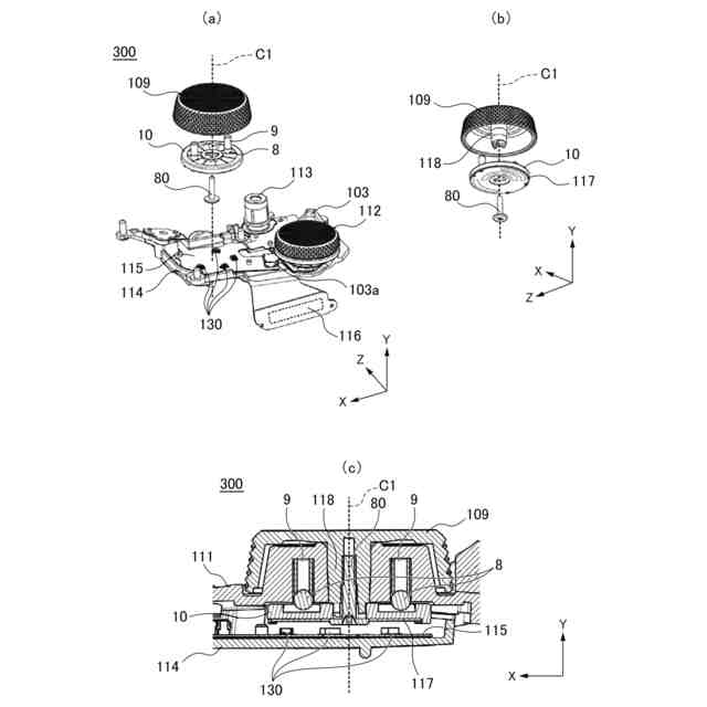
位相検出機構の分解斜視図、A-A線に沿う断面図である。
ダイヤルおよびクリック板を-Y側から見た図、フレキシブル基板を+Y側から見た図である。
ダイヤルの回転検出論理表、省電駆動の概念図である。
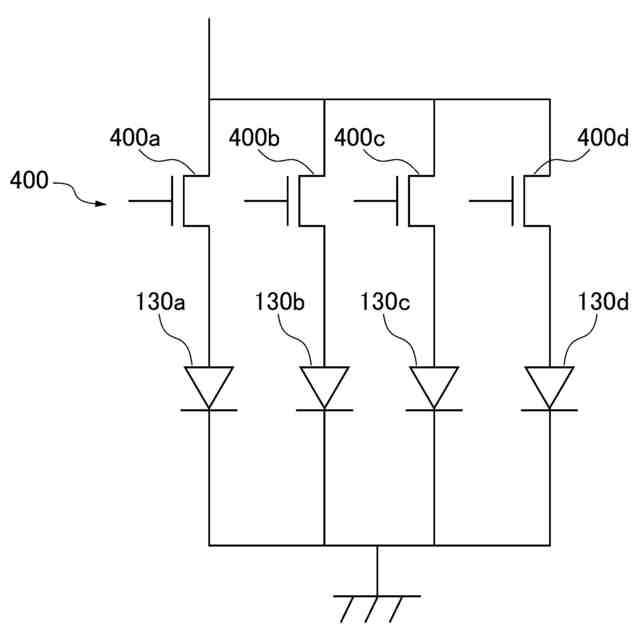
4つの非接触センサの周辺回路構成を示す回路図である。
センサ駆動処理のフローチャートである。
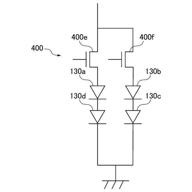
非接触センサの周辺回路構成の変形例を示す図である。
【発明を実施するための形態】
【0010】
以下、図面を参照して本発明の実施形態を説明する。
(【0011】以降は省略されています)
この特許をJ-PlatPat(特許庁公式サイト)で参照する
関連特許
キヤノン株式会社
容器
11日前
キヤノン株式会社
容器
5日前
キヤノン株式会社
トナー
14日前
キヤノン株式会社
トナー
27日前
キヤノン株式会社
トナー
27日前
キヤノン株式会社
トナー
1か月前
キヤノン株式会社
トナー
27日前
キヤノン株式会社
撮影装置
25日前
キヤノン株式会社
定着装置
26日前
キヤノン株式会社
記録装置
11日前
キヤノン株式会社
撮像装置
5日前
キヤノン株式会社
現像装置
25日前
キヤノン株式会社
現像装置
25日前
キヤノン株式会社
現像容器
25日前
キヤノン株式会社
現像装置
18日前
キヤノン株式会社
現像容器
25日前
キヤノン株式会社
撮像装置
11日前
キヤノン株式会社
撮像装置
1か月前
キヤノン株式会社
撮像装置
11日前
キヤノン株式会社
記録装置
1か月前
キヤノン株式会社
測距装置
20日前
キヤノン株式会社
撮像装置
11日前
キヤノン株式会社
表示装置
5日前
キヤノン株式会社
撮像装置
28日前
キヤノン株式会社
記録装置
25日前
キヤノン株式会社
液体収容体
今日
キヤノン株式会社
現像剤容器
1か月前
キヤノン株式会社
モジュール
27日前
キヤノン株式会社
光学センサ
27日前
キヤノン株式会社
画像形成装置
26日前
キヤノン株式会社
表示システム
1か月前
キヤノン株式会社
画像形成装置
26日前
キヤノン株式会社
画像形成装置
26日前
キヤノン株式会社
光電変換装置
8日前
キヤノン株式会社
画像形成装置
8日前
キヤノン株式会社
画像形成装置
8日前
続きを見る
他の特許を見る