TOP
|
特許
|
意匠
|
商標
特許ウォッチ
Twitter
他の特許を見る
10個以上の画像は省略されています。
公開番号
2025151915
公報種別
公開特許公報(A)
公開日
2025-10-09
出願番号
2024053546
出願日
2024-03-28
発明の名称
画像形成装置
出願人
キヤノン株式会社
代理人
弁理士法人中川国際特許事務所
主分類
B41J
29/02 20060101AFI20251002BHJP(印刷;線画機;タイプライター;スタンプ)
要約
【課題】メンテナンス性を維持することができる。
【解決手段】枠体と、枠体に支持され、鉛直方向に交差する着脱方向に沿って移動させることで枠体に対して着脱可能なユニットと、を備え、枠体は、着脱方向及び鉛直方向に交差する第1方向において間隔をあけて配置され、それぞれ鉛直方向に延びる第1柱と第2柱とを有し、ユニットが着脱方向に沿って移動するときに、第2柱の位置を通過する通過部分の下端は、鉛直方向における第1高さを通り、ユニットが着脱方向に沿って移動するときに、第2柱の位置を通過する通過部分の上端は、鉛直方向における第2高さを通り、第2柱は、下柱部分と上柱部分とを含み、第2柱の下柱部分の上端は、鉛直方向において第1高さより低い第1位置にあり、第2柱の上柱部分の下端は、鉛直方向において第2高さより高い第2位置にあり、第1柱は、鉛直方向において少なくとも第1高さから第2高さまでの領域で連続した連続部分を含む。
【選択図】 図4
特許請求の範囲
【請求項1】
枠体と、
前記枠体に支持され、鉛直方向に交差する着脱方向に沿って移動させることで前記枠体に対して着脱可能なユニットと、を備え、
前記枠体は、前記着脱方向及び鉛直方向に交差する第1方向において間隔をあけて配置され、それぞれ鉛直方向に延びる第1柱と第2柱とを有し、
前記ユニットが前記着脱方向に沿って移動するときに、前記第2柱の位置を通過する通過部分の下端は、鉛直方向における第1高さを通り、
前記ユニットが前記着脱方向に沿って移動するときに、前記第2柱の位置を通過する通過部分の上端は、鉛直方向における第2高さを通り、
前記第2柱は、下柱部分と上柱部分とを含み、
前記第2柱の前記下柱部分の上端は、鉛直方向において前記第1高さより低い第1位置にあり、
前記第2柱の前記上柱部分の下端は、鉛直方向において前記第2高さより高い第2位置にあり、
前記第1柱は、鉛直方向において少なくとも前記第1高さから前記第2高さまでの領域で連続した連続部分を含む、
ことを特徴とする画像形成装置。
続きを表示(約 1,100 文字)
【請求項2】
前記第2柱は、前記上柱部分および前記下柱部分に対して着脱することができる着脱部材を含み、
前記着脱部材は、前記ユニットが前記着脱方向に沿って移動するときに通過する領域に配置され、かつ、前記下柱部分と前記上柱部分とに接続される、
ことを特徴とする請求項1に記載の画像形成装置。
【請求項3】
前記着脱部材は、第一の着脱部材と、第二の着脱部材と、からなり、
前記第一の着脱部材は、前記第二の着脱部材及び前記上柱部分に接続され、
前記第二の着脱部材は、前記第一の着脱部材及び前記下柱部分に接続される、
ことを特徴とする請求項2に記載の画像形成装置。
【請求項4】
前記第2柱は、前記上柱部分と前記下柱部分とを接続する接続部材を含み、
前記接続部材は、前記ユニットが前記着脱方向に沿って移動するときに、前記ユニットが通過する領域の外側に配置される、
ことを特徴とする請求項1に記載の画像形成装置。
【請求項5】
前記第2柱は、前記上柱部分と前記下柱部分とを接続する接続部材を含み、
前記接続部材は、前記ユニットが前記着脱方向に沿って移動するときに、前記ユニットが通過する領域の外側に配置される、
ことを特徴とする請求項2に記載の画像形成装置。
【請求項6】
前記着脱部材は曲げ部を含んだ板金で構成され、
前記接続部材は平板形状で構成される、
ことを特徴とする請求項5に記載の画像形成装置。
【請求項7】
前記ユニットとして、シートを搬送する搬送部を有する、ことを特徴とする請求項1に記載の画像形成装置。
【請求項8】
前記ユニットとして、シートを搬送する第一の搬送部と、シートに対してインクを吐出して画像を形成する記録部と、前記記録部に向けてシートを搬送する第二の搬送部と、を有し、
前記第二の搬送部は、前記第1方向において前記第一の搬送部と前記第1柱との間に配置され、前記枠体に支持される、
ことを特徴とする請求項1に記載の画像形成装置。
【請求項9】
前記画像形成装置は、第1モジュールと、前記第1モジュールに対してシートの搬送方向の下流側に連結された第2モジュールとを少なくとも含む複数のモジュールによって構成され、
前記枠体は前記第1モジュールに含まれ、
前記ユニットとして、前記第2モジュールへシートを搬送するために、前記第1モジュールからシートを排出する排出部を有する
ことを特徴とする請求項1に記載の画像形成装置。
発明の詳細な説明
【技術分野】
【0001】
本発明は、ユニットを着脱することができる画像形成装置に関する。
続きを表示(約 1,700 文字)
【背景技術】
【0002】
産業印刷業界では、様々なユニットが設置される大判インクジェット印刷機などの画像形成装置が提供されている。ユニットは、画像形成装置の骨格を形成する枠体に設置され、例えば画像形成装置を正面から見て、画像形成装置の手前に引き出すことができるように装着される。
【先行技術文献】
【特許文献】
【0003】
特開2017-15865号公報
【発明の概要】
【発明が解決しようとする課題】
【0004】
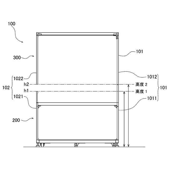
しかしながら、前述の枠体において、ユニットを設置する空間は、それぞれのユニットの機能によってある一定の範囲に限定される。そのため、画像形成装置の正面から見て、ユニットが枠体を構成する柱の後側に配置されている場合、ユニットを画像形成装置の手前に引き出す際に、ユニットが枠体の柱に干渉してしまい、メンテナンス性が損なわれてしまう。
【0005】
一方で、ユニットの機能に応じた配置関係を実現するために枠体のサイズを大きくしてユニットを設置する空間を広げることは可能であるが、それでは画像形成装置が大型化してしまう。
【課題を解決するための手段】
【0006】
本発明の代表的な構成は、枠体と、前記枠体に支持され、鉛直方向に交差する着脱方向に沿って移動させることで前記枠体に対して着脱可能なユニットと、を備え、前記枠体は、前記着脱方向及び鉛直方向に交差する第1方向において間隔をあけて配置され、それぞれ鉛直方向に延びる第1柱と第2柱とを有し、前記ユニットが前記着脱方向に沿って移動するときに、前記第2柱の位置を通過する通過部分の下端は、鉛直方向における第1高さを通り、前記ユニットが前記着脱方向に沿って移動するときに、前記第2柱の位置を通過する通過部分の上端は、鉛直方向における第2高さを通り、前記第2柱は、下柱部分と上柱部分とを含み、前記第2柱の前記下柱部分の上端は、鉛直方向において前記第1高さより低い第1位置にあり、前記第2柱の前記上柱部分の下端は、鉛直方向において前記第2高さより高い第2位置にあり、前記第1柱は、鉛直方向において少なくとも前記第1高さから前記第2高さまでの領域で連続した連続部分を含む、ことを特徴とする。
【発明の効果】
【0007】
本発明によれば、枠体の柱に干渉することなくユニットを着脱することができ、装置の大型化を招くことなく、メンテナンス性を維持することができる。
【図面の簡単な説明】
【0008】
画像形成装置の概略構成を示す模式断面図
プリントベルトユニットの模式断面図
枠体の斜視図
枠体の正面図
枠体の下枠の斜視図
(a)(b)枠体の下枠の底板の斜視図
(a)(b)(c)上下枠の第一柱に取り付けられた接続板の概略図
(a)(b)下枠の組み立て手順の説明図
下枠の組み立て手順の説明図
枠体の上枠の斜視図
(a)(b)プリントモジュールの画像形成部の模式断面図
(a)(b)(c)着脱部材の組立手順の説明図
接続板金の取付部の斜視図
【発明を実施するための形態】
【0009】
以下、図面を参照して、本発明に係る画像形成装置の一実施形態を具体的に説明する。尚、以下に示す画像形成装置の各構成部品の寸法、材質およびその相対位置等は、特に特定的な記載がない限りは本発明の範囲をそれらのみに限定するものではない。また、各図において同一の符号を付したものは、同一の構成または作用をなすものであり、これらについて重複説明は適宜省略する。
【0010】
<画像形成装置>
図1を用いて、画像形成装置の概略構成について説明する。図1は、画像形成装置の構成を示す概略図である。図1に示す画像形成装置は、インクジェット方式を利用して画像形成を行うインクジェット画像形成装置の一例である。
(【0011】以降は省略されています)
この特許をJ-PlatPat(特許庁公式サイト)で参照する
関連特許
キヤノン株式会社
液体収容体
1日前
キヤノン株式会社
画像処理装置
1日前
キヤノン株式会社
画像形成装置
1日前
キヤノン株式会社
画像形成装置
1日前
キヤノン株式会社
光電変換装置、機器
1日前
キヤノン株式会社
レンズ鏡筒、及び撮像装置
1日前
キヤノン株式会社
撮像装置および画像解析方法
1日前
キヤノン株式会社
通信装置、制御方法、及びプログラム
1日前
キヤノン株式会社
画像形成装置、方法、及びプログラム
1日前
キヤノン株式会社
加熱装置およびそれを搭載した画像形成装置
1日前
キヤノン株式会社
情報処理装置、情報処理装置の制御方法、及びプログラム
1日前
キヤノン株式会社
情報処理装置、移動体、情報処理システム、及びコンピュータプログラム
1日前
キヤノン株式会社
研磨パッド、研磨装置、研磨パッドの製造方法、および被研磨物の製造方法
1日前
キヤノン株式会社
情報処理装置、情報処理装置の制御方法、プログラム、情報処理システム、および外部表示装置
1日前
キヤノン株式会社
ペロブスカイト型の単結晶の製造方法、ペロブスカイト型の単結晶、圧電素子、超音波モータ、光学機器、振動装置、塵埃除去装置、撮像装置、超音波プローブ、超音波診断装置、超音波診断システム、および電子機器
1日前
個人
箔熱転写装置
1か月前
キヤノン株式会社
記録装置
1か月前
独立行政法人 国立印刷局
貼付機構
2か月前
株式会社リコー
画像形成装置
1か月前
株式会社リコー
液体吐出装置
2か月前
株式会社リコー
画像形成装置
1か月前
独立行政法人 国立印刷局
貼付装置
2か月前
株式会社リコー
印刷システム
1か月前
株式会社リコー
画像形成装置
1か月前
キヤノン株式会社
画像形成装置
2か月前
カシオ計算機株式会社
印刷装置
12日前
キヤノン株式会社
画像形成装置
20日前
独立行政法人 国立印刷局
潜像形成体
1か月前
独立行政法人 国立印刷局
潜像印刷物
2か月前
ブラザー工業株式会社
プリンタ
2か月前
理想科学工業株式会社
印刷装置
1か月前
キヤノン株式会社
画像記録装置
1か月前
シャープ株式会社
画像形成装置
14日前
ブラザー工業株式会社
プリンタ
2か月前
ブラザー工業株式会社
液体吐出ヘッド
1か月前
株式会社リコー
画像形成システム
1か月前
続きを見る
他の特許を見る